宝马新专利解决触摸屏误触:新增防抖条提升驾驶安全
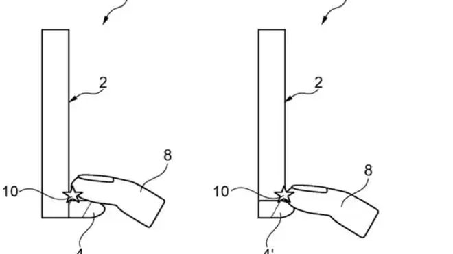
1月24日,据IT之家援引科技媒体CarBuzz的报道,宝马公司近日获得了一项全新专利授权,旨在解决车载大屏在驾驶过程中的操作难题。这项专利的核心,是在屏幕底部或侧面引入一条“触摸感应条”,让驾驶员无需紧盯屏幕也能进行盲操,有效减少误触和安全风险。
报道指出,如今的车载信息娱乐系统虽然功能丰富,但全触控的设计往往会让驾驶员在操作时分心,甚至因为视线转移而带来安全隐患。宝马这项专利的巧妙之处,在于为悬空操作的手指提供物理支撑,通过在屏幕边缘增加一个微型的“感应条”,让触控变得更有凭据。

在现有的全触控屏幕上,当车辆经过颠簸路段时,驾驶员的手指极易晃动,从而导致误选。宝马设计的感应条仅略微凸起数毫米,不会遮挡屏幕,反而能充当“手指休息区”。其表面还设计了特定的凹槽,与屏幕上的虚拟按键位置一一对应。

这种设计模拟了传统收音机或空调按键的触感,让用户仅凭触觉就能定位功能区域。此外,专利文件还描述了一套包含触觉(振动)、听觉及视觉确认的“多模态反馈系统”。一旦系统接收到指令,感应条便会通过震动给予确认,从而消除用户对“是否点击成功”的疑虑。
相关攻略
工业和信息化部将推动培育技术经理人,相关政策正在研制。技术经理人致力于通过概念验证等方法,填补科研与产业间的鸿沟,帮助科研成果转化为市场产品。以上海孙剑峰团队为例,已成功推动多个项目产业化,转化金额达1 38亿元。他们全程提供专业衔接,有效推动成果走向市场。
苹果正酝酿一款“可自定义”的Vision Pro,核心框架支持模块化拼装 一则来自供应链和专利领域的消息,引起了科技圈的关注。4月8日,有外媒报道指出,苹果似乎并不满足于当前的一体化设计思路,其正在深入探索如何打造一款高度可自定义的Apple Vision Pro。未来的VR AR头显,用户或许能像
苹果新专利曝光:未来Vision Pro可像乐高一样自定义? 近期,科技领域一项关于苹果Vision Pro头显的专利信息引发广泛关注。有消息指出,苹果公司正在研究一种创新的模块化设计方案,旨在让未来的Apple Vision Pro能够像“可自定义的积木套装”一样,允许用户根据实际使用场景,灵活更
雷达财经讯,天眼查知识产权信息显示,近日,宇树科技股份有限公司申请的“一种移动机器人”专利获授权,发明人为王兴兴、王凯。摘要显示,本发明提供的一种移动机器人,包括机身和广角激光雷达,所述机身形状为竖
人民财讯4月7日电,企查查APP显示,近日,北京中科宇航技术有限公司申请的“火箭远海发射方法及一体式海上发射船”专利获授权。该申请可在远海情况下多次发射、连续发射,对海上发射的周期大大缩减,进而降低
热门专题
热门推荐
iCloud恢复卡在“估算剩余时间”时,可先尝试手动停止恢复进程并检查网络与账户状态,然后重新开始。若问题未解决,可使用专业第三方工具直接访问iCloud备份,在电脑上选择性预览和恢复所需文件,从而绕过设备端的恢复瓶颈,高效安全地取回数据。
WhatsApp备份可通过三种主要方式实现。应用内自动备份可设置频率,在后台定期保存数据。安卓用户可将数据备份至Google云端硬盘,支持自动或手动操作。如需精细筛选内容,可使用电脑端专业工具,选择性备份特定对话或附件,并导出为可读文件。三种方案分别满足便捷、集成与自主控制的不同需求。
iPad数据备份是数字生活的安全网,但原生备份机制不便直接查看和提取特定内容。专业恢复工具能直接读取iTunes或iCloud备份文件,支持选择性恢复多种数据类型,操作直观高效。用户可轻松预览备份内容,将所需文件单独还原到设备或电脑,从而实现对备份数据的灵活掌控。
忘记AppleID密码将影响iCloud、AppStore等服务使用。可通过专业工具在保留数据前提下移除ID,但需根据“查找我的iPhone”状态选择操作路径。或使用iTunes恢复出厂设置,此方法会清除所有数据。还可通过苹果官网重置密码,流程较复杂。若自助方法无效,可联系官方客服并提供购买凭证寻求协助。
iPadPro是苹果公司推出的专业平板电脑,现有11英寸和12 9英寸等型号。将旧iPhone或iPad的数据迁移到新iPadPro,主要有两种可靠方法。一是通过电脑使用iTunes备份恢复:连接旧设备后选择最近备份执行恢复,完成后数据即转移。二是利用iCloud无线传输:在新设备设置时选择从iCloud备份恢复,登录AppleID并选择对应备份即可。需注意





