Apple Vision Pro新专利曝光:将实现按需定制与组件更换
苹果新专利曝光:未来Vision Pro可像乐高一样自定义?
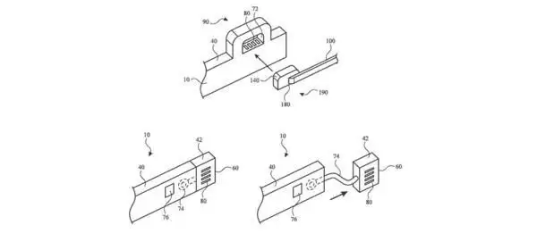
近期,科技领域一项关于苹果Vision Pro头显的专利信息引发广泛关注。有消息指出,苹果公司正在研究一种创新的模块化设计方案,旨在让未来的Apple Vision Pro能够像“可自定义的积木套装”一样,允许用户根据实际使用场景,灵活更换电池模组、头戴部件乃至显示单元。这种设计理念,与我们过去购买电子产品时“配置固定、一锤定音”的传统模式形成了鲜明对比,或将彻底改变头戴式设备的用户体验。
免费影视、动漫、音乐、游戏、小说资源长期稳定更新! 👉 点此立即查看 👈

专利深度解析:从“大而全”到“核心+扩展”的设计转型
这份名为“可连接配件的头戴式设备”的专利文件,揭示了一个核心的设计思路:未来的Apple Vision Pro主机本身,无需集成所有潜在功能。取而代之的是,它将作为一个核心计算与传感平台,通过标准化的接口,允许用户连接各种外部配件来实现功能扩展与个性化定制。
这种模式类似于专业相机系统:用户购买一个高性能的机身,然后根据拍摄需求自由搭配不同镜头、闪光灯和手柄。专利中强调,用户能够便捷地在不同场景下连接特定配件或外部设备,从而组合出差异化的功能配置。这一思路若能实现,将显著提升设备的场景适应性与产品生命周期。

相关报道
按需定制:工作娱乐两不误,清晰度与续航兼得
专利文件通过一个具体的生活化案例,清晰地阐述了模块化设计的实用价值:同一用户在不同场景下的核心需求往往是矛盾且动态变化的。例如,在家中享受沉浸式影视内容或进行精细的3D建模工作时,用户对屏幕的极致分辨率与色彩表现有极高要求;而当需要佩戴设备外出进行移动办公或长途差旅时,持久的电池续航能力则成为首要考量因素。
此时,若显示模块与电池模组支持用户自主更换,这一矛盾便能迎刃而解。当然,业界普遍分析认为,此类核心组件的更换大概率不会作为标准配置提供,而是会以苹果官方认证的付费配件形式单独销售。用户若想获得超长续航体验,可能需要额外选购一块高容量电池模块。

生态展望:封闭系统还是开放平台?
由此也引出了一个关键议题:未来Vision Pro的配件生态将如何构建?目前,Apple Vision Pro尚未推出类似“MFi(Made for iPhone)”那样成熟的第三方配件认证计划。如果苹果选择维持相对封闭的生态策略,那么很可能只会由官方及少数认证合作伙伴推出专属配件,形成一个类似iPad妙控键盘那样的高度整合生态。
然而,无论最终生态走向开放还是封闭,模块化设计的方向已日趋明朗。未来的Apple Vision Pro,极有可能以一个高度集成的主机框架为基础,像搭建乐高积木一样,外接各类专业功能组件。从专利附图展示的多种设备连接与接口设计方案来看,苹果在机械结构、电气接口与数据协议层面已进行了深度布局。这预示着,头戴式显示设备或许正从“高度集成的一体机”时代,迈向“高度可定制的模块化组装机”的全新阶段。
相关攻略
苹果正酝酿一款“可自定义”的Vision Pro,核心框架支持模块化拼装 一则来自供应链和专利领域的消息,引起了科技圈的关注。4月8日,有外媒报道指出,苹果似乎并不满足于当前的一体化设计思路,其正在深入探索如何打造一款高度可自定义的Apple Vision Pro。未来的VR AR头显,用户或许能像
苹果新专利曝光:未来Vision Pro可像乐高一样自定义? 近期,科技领域一项关于苹果Vision Pro头显的专利信息引发广泛关注。有消息指出,苹果公司正在研究一种创新的模块化设计方案,旨在让未来的Apple Vision Pro能够像“可自定义的积木套装”一样,允许用户根据实际使用场景,灵活更
雷达财经讯,天眼查知识产权信息显示,近日,宇树科技股份有限公司申请的“一种移动机器人”专利获授权,发明人为王兴兴、王凯。摘要显示,本发明提供的一种移动机器人,包括机身和广角激光雷达,所述机身形状为竖
人民财讯4月7日电,企查查APP显示,近日,北京中科宇航技术有限公司申请的“火箭远海发射方法及一体式海上发射船”专利获授权。该申请可在远海情况下多次发射、连续发射,对海上发射的周期大大缩减,进而降低
企查查APP显示,近日,北京中科宇航技术有限公司申请的“火箭远海发射方法及一体式海上发射船”专利获授权。专利摘要显示,本申请涉及火箭海上发射领域,尤其涉及一种火箭远海发射方法及一体式海上发射船,包括
热门专题
热门推荐
本文旨在为读者提供关于OKX(欧易)交易所在2026年的客观评估与实用指引。内容涵盖其在全球交易平台中的综合排名分析、核心功能与安全机制的详细解读,以及针对新老用户的具体操作建议。文章侧重于帮助用户理解平台优势与潜在注意事项,以便在Web3领域进行更安全、高效的资产管理与交易。
本文详细介绍了在币安平台完成KYC认证的完整流程,包括准备材料、操作步骤及注意事项。针对认证过程中可能遇到的常见问题,如审核时间、信息修改、认证失败原因等提供了具体解决方案。文章旨在帮助用户高效、顺利地通过验证,确保账户安全并解锁全部交易功能。
Windows11因未启用 NETFramework3 5导致应用报错时,可通过离线方式安装。主要方法包括:使用DISM命令调用本地CAB包直接注入;挂载Windows安装介质并指定sources sxs路径;在组策略中预设本地源路径后图形化启用;通过PowerShell命令结合本地源安装;或借助DirectX修复工具辅助修复。这些方法均无需联网,可解决因网
在无网络或关闭自动更新时,Windows11可通过多种方式手动安装离线更新。主要方法包括:从MicrosoftUpdateCatalog下载MSU文件并双击安装;使用DISM命令或PowerShell的Add-WindowsPackage工具安装CAB或MSU包;利用WUSA进行静默安装;或解压MSU文件提取CAB包后安装。这些方法均不依赖WindowsUp
游戏行业的风向,似乎正在悄然转变。最近,一则消息在圈内引起了不小的波澜:曾开发《脑航员2》等作品的微软旗下Xbox第一方工作室Double Fine Productions,正在联合美国通信工人协会(CWA),正式提交组建工会的请愿。 这家由传奇制作人Tim Schafer于2005年创立、并在20





