iPhone专利畅想:未来手机可对手呼气筛查疾病
IT之家 4 月 1 日消息,科技媒体 Appleinsider 昨日(3 月 31 日)发布博文,聚焦苹果公司最新获批的专利,名为“带呼气传感系统的电子设备”,暗示未来 iPhone 有望直接内置呼气检测仪。
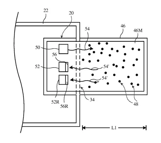
根据专利场景描述,未来 iPhone 外壳会开辟专属传感器窗口,未来用户只需拿起靠近并正常呼吸,手机端就能敏锐捕捉健康异常。
在技术实现方面,IT之家援引博文介绍,该专利系统主要依赖红外光源运转。用户呼出气体经过传感器后,红外光束会穿透气体,专门捕捉含有特定目标气体分子的呼气样本。
这些分子可以充当关键生物标志物,iPhone 随后对比采集数据和医学数据库,一旦发现指标异常,手机会推送就医建议,可以检测高胆固醇和糖尿病等潜在疾病。

苹果公司为了提升采集准确度,在专利中提及调用多重传感器协同工作,例如利用可见光相机和红外深度相机,精确测算面部与传感器的物理距离,若距离过远,iPhone 主动提醒用户靠近。
此外为了确保红外光束始终精准对准用户的口腔,苹果在专利中还构想了光束转向器,能根据人脸位置自动微调。
在适用设备方面,该专利虽然主要用于 iPhone,但文档明确提及适用 Apple Watch 和智能汽车。
相关攻略
荣耀600系列将于5月25日晚发布,包含超级版和Pro版两款机型。超级版搭载骁龙7Gen4处理器,配备6 57英寸120HzOLED屏、2亿像素主摄及8600mAh电池,支持IP68 IP69 IP69K防护。Pro版升级为天玑8550Elite芯片,增加5000万像素潜望长焦镜头,支持全焦段4K视频,电池为8000mAh并加入50W无线充电。两款机型在性能
苹果iPhoneAir手机多轮降价后销量仅勉强突破70万台,市场表现不佳。国内某厂商同类型产品销量低迷,已计划搁置迭代计划。多家厂商未跟进或已砍掉类似项目,因超薄设计需在续航、性能等方面做出妥协,导致该品类市场非常小众。
OPPOReno16系列新机曝光,包含Pro版与标准版。Pro版搭载6 78英寸1 5K直屏、天玑9500s处理器、7000mAh电池及2亿像素主摄领衔的全焦段影像系统。标准版采用6 32英寸小直屏、天玑8550处理器和6700mAh电池,主摄配置与Pro版一致。系列可能配套智能电子屏配件,支持自定义壁纸与遥控拍照。新机预计本月发布,Pro版在屏幕、性能、续
2026年除夕,深圳的黄女士在新加坡樟宜机场转机时,不慎遗失了一部存有大量重要资料的手机。手机设有专属开机密码,旁人无法解锁使用。发现丢失后,她第一时间在当地报了警,但手机始终杳无音信,最终只能带着遗憾回国。 回国后,她并未放弃希望,每天坚持查看手机定位。然而,连续两个多月,定位信息都如同石沉大海,
第二代豆包AI手机或上半年发布,搭载骁龙8 Elite Gen 5芯片 最近科技圈有个消息传得挺热:据博主 @智慧芯片案内人 在微博上透露,第二代豆包AI手机有机会在上半年就和我们见面,而且核心将搭载代号为“8E5”的骁龙8 Elite Gen 5芯片。 这消息并非空xue来风。其实早在今年3月底,
热门专题
热门推荐
机器人行业迎来里程碑式突破。以视频生成模型Vidu著称的生数科技,正式发布了名为Motubrain的“世界动作模型”。这并非一次普通迭代,而是被定位为机器人的“物理大脑”,其核心目标在于:用一个统一的通用模型,彻底取代以往依赖多个专用系统拼凑而成的复杂架构。 正如其“一个大脑,无限可能”的口号所揭示
xAI正式进军AI编程智能体领域,于近日发布了专为软件工程与复杂编程任务设计的Grok Build。 简单来说,Grok Build是一款能在终端里直接跑起来的AI编程助手。它被定位为一个具备智能体能力的命令行工具,开发者用自然语言告诉它要做什么,它就能生成代码,甚至帮你搞定一系列编程和自动化任务。
近日,谷歌对其搜索引擎的核心规则进行了重要更新,此次调整直指当前备受关注的AI搜索领域。具体而言,谷歌在其垃圾内容政策中新增了明确条款,正式将“操纵AI搜索结果”的行为列为违规操作,划定了新的质量红线。 根据权威行业媒体Search Engine Land的报道,本次谷歌算法更新的核心在于,将任何企
硅谷的科技巨头们或许曾以为,自己已经远离了AI数据中心带来的电力压力——毕竟,高昂的地价和电费早就把大型数据中心项目“赶”到了别处。但现实总是出人意料,这场能源危机的涟漪,正悄然涌向他们心爱的度假后院。 没错,说的就是太浩湖。这个湾区精英们钟爱的避世天堂,如今正站在一场电力风暴的边缘。距离它必须找到
这项由高通AI研究院(Qualcomm AI Research)主导的创新研究于2026年5月正式发布,论文预印本编号为arXiv:2605 07721。 研究背景:当AI越想越费内存,我们该怎么办 设想一下,手机导航应用会在出发前规划好整条路线,而一位真正智慧的向导则会边走边思考,遇到路障时灵活应





