Apple Vision Pro新专利曝光:将实现按需定制与组件更换
苹果正酝酿一款“可自定义”的Vision Pro,核心框架支持模块化拼装
一则来自供应链和专利领域的消息,引起了科技圈的关注。4月8日,有外媒报道指出,苹果似乎并不满足于当前的一体化设计思路,其正在深入探索如何打造一款高度可自定义的Apple Vision Pro。未来的VR/AR头显,用户或许能像升级电脑一样,根据自己的具体需求,灵活更换电池、头显框架乃至更多核心组件。
免费影视、动漫、音乐、游戏、小说资源长期稳定更新! 👉 点此立即查看 👈

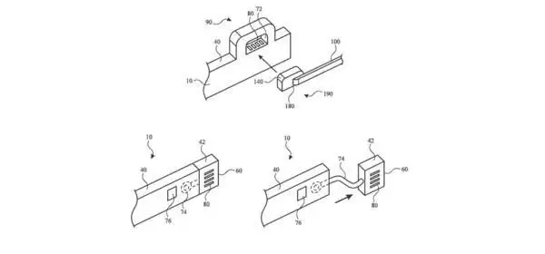
这份猜测并非空xue来风,其依据正来源于苹果最新获得的一项授权专利——“可连接配件的头戴式设备”。专利文件透露的核心思想非常明确:下一代Apple Vision Pro的主体部分,或许无需再集成用户未来可能需要的所有永久性功能。取而代之的,是一种更为灵活的思路:头戴式设备将作为一个基础平台,通过一个或多个配件接口来实现功能扩展与深度自定义。简单来说,用户能够在不同使用场景下,便捷地连接专用配件或外部设备,从而获得截然不同的组件与功能体验。
按需切换:从高分辨率屏幕到长续航电池
那么,这种模块化具体会如何实现呢?根据专利描述,未来的Apple Vision Pro很可能支持一种“按需定制、随时更换”的组件模式。专利中举了一个非常贴切的例子:同一位用户在不同场景下,需求会动态变化。比如,在家享受沉浸式影音或游戏时,用户自然会追求极致的高分辨率屏幕;而出门在外,移动办公或长途旅行中,设备的续航能力就成为了更优先的考量。模块化设计,正是为了无缝应对这种需求转换而生的。

相关报道
商业逻辑:付费配件或是更可能路径
当然,商业世界的现实规则同样需要考量。外媒分析认为,苹果不太可能随机附赠一套低分辨率屏幕供用户替换以提升续航,这种“买一得二”的做法并不符合其产品策略。因此,所谓的组件更换,大概率会以付费配件的形态单独发售。这就引出了一个新问题:配件生态由谁主导?
目前,Apple Vision Pro尚未建立起类似“Made for iPhone”那样成熟的第三方配件认证体系。如果后续维持这一现状,那么苹果很可能选择亲自操刀,仅推出由自己设计的最新配件,从而构建一个类似iPad智能接口那样的封闭但高效的专属生态。无论如何,这都意味着配件将成为体验升级的关键一环。

未来形态:一个主体框架,无限扩展可能
无论最终配件生态是开放还是封闭,模块化设计的方向似乎已经清晰。这意味着未来的Apple Vision Pro,将从一个完全封装的设备,转变为一个以主体框架为核心、可外接各类功能组件的“平台”。专利文件中展示的多张设计图也印证了这一点,详细描绘了设备与主体框架之间多种可能的结构与电气连接方式。可以预见,一旦此构想落地,XR设备的个性化与专业化程度,将迈上一个全新的台阶。
相关攻略
苹果正酝酿一款“可自定义”的Vision Pro,核心框架支持模块化拼装 一则来自供应链和专利领域的消息,引起了科技圈的关注。4月8日,有外媒报道指出,苹果似乎并不满足于当前的一体化设计思路,其正在深入探索如何打造一款高度可自定义的Apple Vision Pro。未来的VR AR头显,用户或许能像
苹果新专利曝光:未来Vision Pro可像乐高一样自定义? 近期,科技领域一项关于苹果Vision Pro头显的专利信息引发广泛关注。有消息指出,苹果公司正在研究一种创新的模块化设计方案,旨在让未来的Apple Vision Pro能够像“可自定义的积木套装”一样,允许用户根据实际使用场景,灵活更
雷达财经讯,天眼查知识产权信息显示,近日,宇树科技股份有限公司申请的“一种移动机器人”专利获授权,发明人为王兴兴、王凯。摘要显示,本发明提供的一种移动机器人,包括机身和广角激光雷达,所述机身形状为竖
人民财讯4月7日电,企查查APP显示,近日,北京中科宇航技术有限公司申请的“火箭远海发射方法及一体式海上发射船”专利获授权。该申请可在远海情况下多次发射、连续发射,对海上发射的周期大大缩减,进而降低
企查查APP显示,近日,北京中科宇航技术有限公司申请的“火箭远海发射方法及一体式海上发射船”专利获授权。专利摘要显示,本申请涉及火箭海上发射领域,尤其涉及一种火箭远海发射方法及一体式海上发射船,包括
热门专题
热门推荐
三季报收官,光伏企业交出了近年难得的尚佳成绩 三季报发布完毕,光伏行业总算交出了一份近年来难得的、还算不错的成绩单。市场等这一刻,确实等了挺久。 根据Choice光伏设备板块收录的78家企业财报,整个板块三季度的净利润达到了7 58亿元。这个数字怎么看?不妨对比一下:就在二季度,板块的净亏损还高达4
北京天兵科技天龙三号火箭首飞失利解析 最近,北京天兵科技自主研发的天龙三号大型液体运载火箭,在酒泉卫星发射中心执行首次飞行任务时遭遇失利,这无疑是给国内商业航天关注者带来了一次震动。这款被寄予厚望的火箭,瞄准的是近地轨道20吨级的可回收运力,其设计初衷是通过低成本、高频次的发射模式,抢占一箭36星组
苹果芯片实战:48台Mac mini搭建本地AI集群,如何碘伏云端语音识别? 最近科技圈有个挺有意思的消息。知名播客应用Overcast的开发者Marco Arment,自己动手搭了个“大家伙”——一个由48台苹果Mac mini组成的服务器集群。关键是,这个集群没走寻常路,它完全绕开了云端AI服务
纯电赛道再进化:领克10系列如何重新定义“运动轿车”? 如果问,纯电时代最让人怀念传统燃油车的是什么?很多人会把票投给两件事:说走就走的补能,和随心所欲的操控。最近,领克用一场全球首秀给出了自己的答案。旗下全新的中大型运动轿车领克10,以及更极致的性能版本领克10+联袂登场。这不仅仅是两款新车,更像
苹果正酝酿一款“可自定义”的Vision Pro,核心框架支持模块化拼装 一则来自供应链和专利领域的消息,引起了科技圈的关注。4月8日,有外媒报道指出,苹果似乎并不满足于当前的一体化设计思路,其正在深入探索如何打造一款高度可自定义的Apple Vision Pro。未来的VR AR头显,用户或许能像





