索尼新专利:用AI化身“幽灵玩家”实时指导游戏攻略
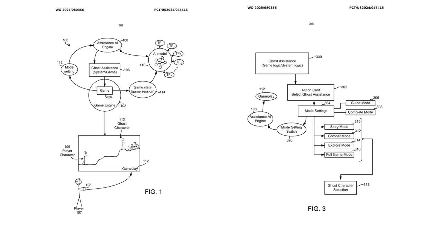
1月2日消息,科技媒体TweakTown日前报道,索尼近日提交了一项新专利,提出一种能实时感知游戏情境的辅助方案。这套系统可通过游戏录像训练AI模型,为卡关玩家提供个性化引导。
免费影视、动漫、音乐、游戏、小说资源长期稳定更新! 👉 点此立即查看 👈

专利文件指出,尽管电子游戏技术持续发展,仍有许多非核心玩家因难度过高而放弃游戏。虽然查阅攻略、观看教程视频也能获得指引,但这类方法往往耗时费力,且通常与玩家所处的具体场景并不完全匹配。

文件中描述道,这套系统将提供一个“幽灵玩家”来辅助真实玩家通关游戏。幽灵玩家的行为源于AI模型学习到的游戏操作数据,而这些模型是基于游戏录像、特定模式游玩训练而来。

在此援引TweakTown表述,AI模型会通过大量游戏视频来识别不同的游戏场景,并学习游戏中推进进度所需的操作。当玩家遇到卡关状况时,系统会尝试分析当前的游戏进度、状态数据,识别玩家究竟为什么卡关。
随后这套系统会使用AI模型生成关卡解法,进而为“幽灵玩家”生成相应的控制与动画指令,指导玩家如何突破关卡。且这种指导操作并非基于其他玩家的通关视频,而是会根据玩家当下的游戏状态量体裁衣,一对一定制解决方案。
在游玩过程中,幽灵角色还可以给出直观的视觉示范,向玩家展示如何破局,帮助玩家操控的角色顺利通关游戏。
相关攻略
3月28日消息,索尼最新已经正式宣布将调整PS5 PS5 Pro游戏主机在中国大陆市场调整后的建议零售价,全新价格体系将于2026年4月2日正式生效落地。本次调价覆盖国行在售全系主流版本,具体价格如
IT之家 3 月 28 日消息,索尼昨晚宣布在全球范围内上调 PlayStation 5 系列主机价格,所有型号涨幅至少 100 美元(IT之家注:现汇率约合 691 6 元人民币)。同时,索尼还宣
在今年的手机市场中,厂商之间的竞争实在是太激烈了,这对于消费者来说却是一件好事,因为不用担心日常使用体验上会有一些不足了。不过这也让产品之间的斗争更夸张,尤其是近期,市场中传出了vivo X500系
IT之家 3 月 27 日消息,Sony 索尼电子本周推出了其中端 LED 影院电视 BRAVIA 3 II。该型号提供 43 " 50 " 55 " 65 " 75 " 85 " 10
IT之家 3 月 27 日消息,Sony 索尼电子本周推出了其中端 LED 影院电视 BRAVIA 3 II。该型号提供 43 " 50 " 55 " 65 " 75 " 85 " 10
热门专题
热门推荐
鲁大师软件管家可安全升级常用软件:一、启动后点击顶部“软件管家”选项卡自动扫描;二、在“可升级软件”列表点击绿色“升级”按钮确认安装;三、勾选多个软件后点“批量升级”按钮并发处理;
3月29日,北京已在全国率先启动智能网联新能源汽车商业保险产品开发应用。新产品基本沿用现有的新能源商业车险体系,按照“总体稳定、部分优化”的原则,主要为消费者和汽车企业关心的特定智驾场景、软硬件损失
预计苹果今年将发布两款新的 iPhone 应用,包括 Apple Business 应用和一款具备类似聊天机器人功能的 Siri 应用。借助 Apple Business 应用,使用全新 Apple
据 Axios 报道,苹果公司已聘请前谷歌副总裁 Lilian Rincon 担任人工智能产品营销副总裁。加入苹果之前, Rincon 曾任谷歌购物产品副总裁。在苹果, Rincon 将负责苹果所有
3月29日消息,谁能料到前段时间奥迪车主与雷军之间的那个打赌,竟然还有后续。这到底是咋回事?事情发生在3月25日,网友@单手开吉利 在雷军的微博评论区晒出了自己去年10月刚提的奥迪车,还当场立下一个





