宝马防篡改螺丝专利:第三方汽修需专用工具
12月19日消息,汽车媒体CarBuzz今日发文称,他们在发掘欧盟知识产权局(EUIPO)的数据库后,发现宝马公司提交了一项新的专利申请:一种头部被设计成宝马“蓝天白云”Logo形状的防盗螺丝。
免费影视、动漫、音乐、游戏、小说资源长期稳定更新! 👉 点此立即查看 👈
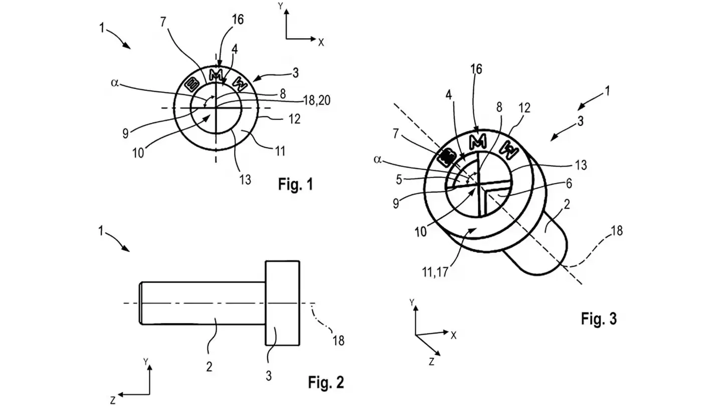
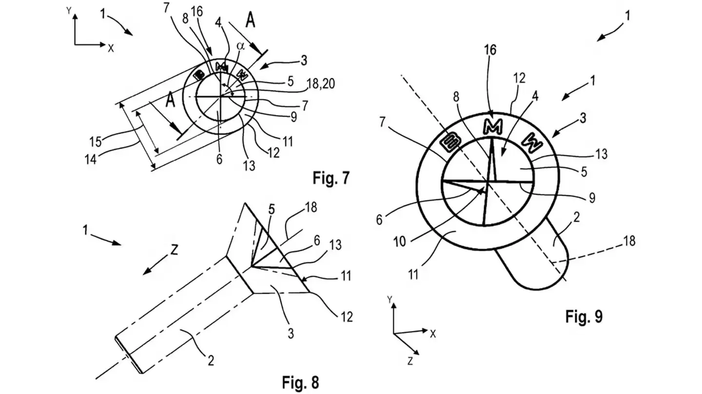
与传统的十字、一字或六角螺丝不同,这款螺丝的头部直接采用了宝马经典的圆形Logo造型。其设计精妙之处在于,Logo的四个扇形区域中,有两个是凹槽(用于受力),另外两个则与表面齐平,边缘还印有精致的宝马字样。

这一设计并非仅仅为了美观,其核心目的在于建立一道物理壁垒。专利文件明确指出,这种异形凹槽结构能有效“防止使用普通的反驱动结构(即通用工具)来松开或拧紧螺丝”。

这意味着,无论是喜欢DIY的车主,还是第三方独立维修店,如果没有宝马最新授权的专用匹配工具,都将无法处理这些紧固件。这种设计实质上是将维修权牢牢锁定在宝马授权经销商的体系之内。

援引博文介绍,宝马计划将这种螺丝应用于车辆内部,通常是可见的部位。专利中列举的潜在应用场景包括座椅安装点,以及连接驾驶舱与承载车身结构的关键部位。
这些位置通常需要较大的扭矩来固定大尺寸紧固件。由于该螺丝的受力面被Logo造型分割,且带有装饰性饰环,其接触面积相对较小,如果强行使用不匹配的工具拆卸,极易导致螺丝滑丝或工具断裂。

相关攻略
网易汽车3月30日报道当大多车企还在纠结“要不要上激光雷达”时,零跑已经把它塞进一辆顶配只有8 68万元的小车里。3月26日,零跑A系列首款车型A10正式上市。6 58万元的起售价,
IT之家 3 月 30 日消息,据宝马中国官微,中国专属新世代宝马 i3 长轴距版车型将于 2026 北京国际车展正式亮相,并将于今年下半年上市。今天上午,宝马公布了新世代 iX3 长轴距版的官图。
3月30日消息,日前,宝马产品负责人贝恩德·克尔伯在接受BMW Blog采访时明确表示,公司对增程车型持观望态度,虽技术上完全可行,但现实需求尚未明确,暂未做出量产决策。这一表态与宝马研发负责人约阿
(文 观察者网 张家栋 编辑 高莘) 据《日经亚洲》近日报道,蔚来正计划借由押注萤火虫品牌,来将其海外业务规模扩大一倍。 蔚来萤火虫 日经亚洲 报道称,蔚来计划在年底前将萤火虫旗下首款车型Fir
3月18日消息,随着国产车企在新能源与智能化领域的全面发力,宝马曾经在华躺赚的时代正逐渐走向终结。财报数据显示,宝马汽车业务的息税前利润率已从2024年的8 6%大幅滑落至目前的5 3%。尽管在20
热门专题
热门推荐
索拉拉是什么币?未来能涨多少?索拉拉币的详细信息介绍 最近,圈内有个热议的话题:知名公链Solana正式确定了它的中文名——“索拉拉”。这个名字并非来自项目方的单方面决定,而是由社区发起、最终获得官方认可的集体智慧结晶。它取代了大家此前更耳熟能详的“索拉纳”。那么,这个新名字背后的索拉拉币究竟是什么
流动性是加密市场的静默引擎 想象一下,当市场的脉搏变弱,交易不再活跃,会发生什么?流动性,这个常常被忽视的指标,恰恰是维持价格稳定的关键。一旦它开始减弱,市场的脆弱性便会暴露无遗。交易量大幅下滑,买卖资产就像在狭窄的通道中穿行,一个不小心,就可能引发剧烈的价格波动。 这种情形并不罕见,通常在年末清淡
你是否在寻找安全便捷的云端文件存储方案? 坚果云很可能就是你需要的答案。作为一款高效的云存储服务,它让数据同步与文件管理变得异常轻松。本文将详细介绍坚果云的多种文件上传方法,帮助你快速掌握核心操作流程。 注册与登录坚果云 首先,访问坚果云的官方网站,完成账户的注册步骤。随后使用账号密码登录,系统将呈
OPPO K15 Pro系列4月1日发布:存储配置引热议 OPPO官方已正式宣布,K15 Pro系列新品将于4月1日正式发布。值得注意的是,尽管尚未正式亮相,该系列的两款新机目前已在OPPO官方商城开放预约。然而,官网配置信息揭示了一个值得关注的现象:全系列目前仅提供12GB运行内存(RAM)版本,
击败《红色沙漠》采石场的马罗尼采石机械后,BOSS战并未真正结束。游戏的深度探索,实际上始于一处隐秘遗迹的触发。你需要寻找到那个特定的入口,然后纵身跃下,方能正式踏入这片鲜为人知的地下秘境。 落地之后,挑战即刻开始。这片地下遗迹并非安宁之地,首先迎接你的往往是那些极具攻击性的球形守卫者,它们行动迅捷





