苹果Vision Pro头显模块化专利曝光,要续航还是体验由你定
苹果新专利揭秘:未来Vision Pro或走向模块化设计
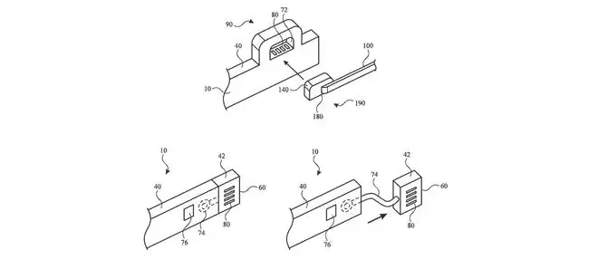
近日,一项获得批准的苹果专利文件,为下一代头戴式显示设备的发展方向提供了极具启发性的线索。这份长达28页、名为《可连接配件的头戴式设备》的专利,核心揭示了一个清晰的趋势:未来的头显(如Vision Pro)可能将彻底告别将所有硬件功能固化于一体的传统形态,转而演变为一个高度灵活、可扩展的开放式平台。用户将能根据自身特定需求,如同组合积木一般,通过连接不同的功能配件模块,来自由定制和升级设备能力。
免费影视、动漫、音乐、游戏、小说资源长期稳定更新! 👉 点此立即查看 👈

这一模块化设计理念,精准地回应了当前高端头显普遍面临的核心挑战——如何在设备重量、佩戴舒适度与电池续航能力之间找到最佳平衡点。专利中描绘的应用场景极具实用性:若用户优先考虑轻便体验,可选择安装小容量电池模块以减轻整体负重;反之,对于需要长时间户外使用或进行沉浸式工作的用户,则能便捷地更换为大容量电池模组。甚至,为了追求极致的续航表现,用户还可以选择搭载一块低功耗、低分辨率的显示屏模块。将硬件配置的自主选择权交还给用户,无疑是解决不同使用场景和个性化需求矛盾的创新思路。

模块化架构所开启的可能性,远远超越了个人消费电子领域。专利文件特别强调,设备主体将配备高带宽的数据连接接口,这将允许第三方制造商或专业机构开发各类专用功能模块。这意味着,未来在医疗健康(如体征监测、眼科筛查)、工业设计与精密制造(如3D建模、远程协作)、科研教育等专业领域,专用的高精度传感器、专业级摄像头或特殊交互设备,均可通过标准化接口与头显无缝连接,从而开拓出极具潜力的企业级与行业应用市场。
从商业生态视角审视,这实质上是一种“按需定制”与深度配件生态化的战略。尽管苹果尚未为Vision Pro系列建立类似“MFi”(Made for iPhone)的官方配件认证计划,但一旦其硬件接口与开发标准对外开放,设备的应用边界和市场价值必将得到指数级拓展。深入分析专利设计图可以发现,未来的头显主体可能将大幅简化,其核心角色是提供一个稳固的物理框架、可靠的机械锁定结构以及高速的数据通信总线,而所有的计算、感知、显示与交互功能,都将由用户自主选配的模块化组件来实现。这或许正预示着“可穿戴智能设备”这一概念的终极演进形态。
相关攻略
别克至境E7三款配置公布,定价16-21万元,4月22日上市交付 4月10日,别克至境品牌旗下首款SUV——至境E7正式公布了三款车型的详细配置,并将价格区间锚定在16万至21万元。这款新车定位中型SUV,采用大五座布局,全系标配备受关注的“真龙插混Pro”动力系统。更引人注目的是,官方宣称其一次性
埃安RT super上市:8 88万起,99秒满电的“换电新玩家” 4月8日,埃安RT super正式登场。这款新车可以看作是埃安RT的换电版本,最大的亮点在于采用了“车电分离”的购车模式。如果选择电池租用方案,购车价直接来到8 88万元。这意味着什么?意味着用户可以用更低的门槛,体验到宁德时代电池
大众“与众08”定档4月16日,23 99万起预售开启 近日,大众汽车乘用车品牌中国CEO齐泽凯正式宣布,备受关注的大、小车部门联合开发的首款车型——“与众08”,将于4月16日正式上市。目前,这款新车已经开启预售,价格区间覆盖23 99万元至29 99万元。 设计诠释“光滑”运动美学 从外观上看,
腾势N9闪充版开启预售:充电补能进入“分钟级”时代 最新消息显示,比亚迪旗下高端品牌腾势N9迎来了闪充版车型的预售。这款新车有几个硬指标值得关注:预售价区间落在45万到50万元,标配第二代刀片电池,纯电续航里程为420公里(CLTC标准),并且附带了一项颇具吸引力的权益——长达18个月的免费闪充服务
吉利银河A7 EV官图发布:550km续航,本月上市 吉利汽车近日正式公布了银河A7 EV车型的官方图片和信息。这款纯电新车的续航里程达到了550公里,百公里综合电耗仅为11 4千瓦时,并确定将于本月内推向市场。 延续家族美学,细节彰显新意 从设计上看,新车牢牢抓住了银河系列的家族语言。其封闭式前脸
热门专题
热门推荐
5月11日,一则关于Windows 11测试版隐藏功能“低延迟配置文件”的消息,在科技圈引发了广泛关注与讨论。 该功能的核心机制非常直接:当用户执行高优先级交互操作,例如点击启动应用程序、呼出开始菜单或右键菜单时,系统会瞬间将CPU频率提升至最高状态,并维持1到3秒。其设计目标清晰——显著降低系统响
近期,一份来自数码行业的销售统计报告引发了广泛关注。根据知名科技博主“RD观测”披露的数据,截至2026年第18周,iPhone 17系列在中国市场的累计设备激活量已接近3000万台,具体数字约为2919 09万台。 回顾该博主此前发布的追踪记录,可以看出iPhone 17系列的增长趋势相当稳定。数
注册库币KuCoin时,姓名一致性是KYC流程中最常见的卡点。用户需确保注册姓名与身份证件完全一致,包括中文汉字、拼音格式及顺序。常见的错误包括使用昵称、大小写不当、拼音空格问题以及多音字选择错误。仔细核对并遵循平台指引,能有效避免审核失败,顺利完成身份验证。
你的iPad已经陪伴你多久了?三年、五年,还是更久?这个看似简单的问题,恰恰揭示了一个令苹果自身都感到困扰的行业现实。 尽管iPad在全球平板电脑市场中长期占据主导地位,市场优势看似稳固,但其整体销量下滑的趋势却日益明显。一个有趣的现象是,它面临的最强劲对手并非来自安卓阵营,而是那些依然性能可靠、至
刷机是为手机重装系统,主要有卡刷和线刷两种方式。卡刷通过Recovery模式进行,线刷则需进入Fastboot模式并连接电脑使用专业工具。以OPPOA91为例,具体操作应参考官方指引。选择工具时需关注资源库、教程及智能化程度,掌握原理并借助合适工具即可顺利完成刷机。





