奔驰弹簧尾灯专利获批,车内线路蜘蛛网得以消除
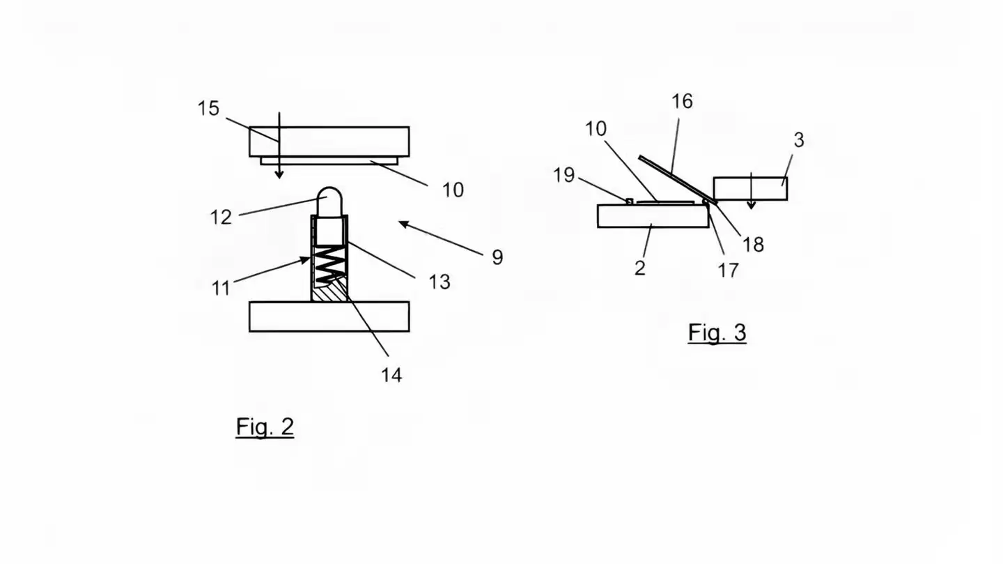
最新消息,汽车媒体CarScoops于1月20日发布报道称,梅赛德斯-奔驰公司近期申请了一项尾灯设计新专利,有望解决当前汽车尾门布线日益复杂、笨重且维修成本高昂的问题。
免费影视、动漫、音乐、游戏、小说资源长期稳定更新! 👉 点此立即查看 👈
这项新专利旨在通过一种巧妙的纯机械设计,取代连接车身与尾灯之间冗长复杂的柔性电线,其核心是一个弹簧加载式机械开关。

文章介绍,当尾门关闭后,开关内的物理触点在弹簧作用下会自动压紧并接通电路,为安装在尾门上的尾灯部分供电;尾门打开时,触点则会自动分离断电。

这种设计尤其适用于尾灯被尾门一分为二的车型(例如现款奔驰GLS),它不再需要冗长的电线穿过柔性导管连接两部分灯组,从而显著减轻重量、降低成本,并减少因线束反复弯折而产生的潜在故障点。


事实上,利用弹簧触点来导电并非全新技术,但在汽车领域的应用却不多见。该方案的最大挑战在于应对严苛的使用环境:尾门区域极易积聚灰尘、泥水等污垢。为了保证长期可靠性,这些电气触点必须具备出色的防护能力和自清洁功能,否则一层薄薄的灰尘就可能导致整个系统失灵。

奔驰目前旗下尚无任何车型采用此设计,并且专利的申请也不意味着会立即投入量产。
相关攻略
3月28日消息,今天,浙江95后小伙潘浩男在安徽淮北老家举办婚礼,一支由9辆吸粪车搭配6辆轿车组成的婚车车队成为全场焦点。据报道,潘浩男的父亲在浙江慈溪从事粪便清运工作已有20多年,他4岁便随父来到
3月27日消息,近日,梅赛德斯AMG版GLC EQ纯电SUV路试谍照曝光,这款新车凭借超900马力的强悍输出,成为奔驰旗下性能最强的纯电SUV之一。从谍照来看,车身采用哑光深灰色涂装,前脸与尾部覆盖
3月27日消息,近日,奔驰小尺寸G级的最新实车影像曝光,这款内部称为“小G”的车型被奔驰CEO康林松视为复制大G成功的关键产品。图片还显示,测试车伪装贴纸上布满酸绿色小写g字母。新车在造型上保留了G
3月26日消息,近日,广州发生一起因行车纠纷引发的恶意伤人事件。一辆蓝色奔驰车变道未打灯,强行别停后车,双方争执升级后,奔驰司机竟故意撞击对方车主并驾车逃逸,最终被警方处以行政拘留5日、罚款500元
网易汽车3月25日报道在全球每售出3辆S级轿车就有1辆是迈巴赫S级(参数丨图片),而在中国市场,这一比例已提升至2辆中的1辆。3月24日,北京,“新一代梅赛德斯-迈巴赫S级轿车”迎来
热门专题
热门推荐
在明日方舟终末地中,小陈剧情的开启需要满足一定条件并完成特定任务。首先,要确保玩家已经达到一定的游戏进度。这包括推进主线剧情到一定阶段,解锁了相应的区域和功能。随着主线剧情的推进,
前言《逐玉》大结局落幕那晚,我盯着屏幕良久,胸口像压了块浸水的棉絮,沉闷得喘不过气。从首播时满怀热望地守在更新页面,到中期边看边叹气、反复暂停找逻辑漏洞,再到最后几集干脆调成倍速、只为“完成任务”式
3月28日消息 据新华社报道,俄罗斯政府日前宣布了一项重要的能源指令。俄副总理亚历山大·诺瓦克已指示能源部起草行政命令,计划从4月1日起全面禁止汽油出口。此举的核心目的是在中东战事引发全球能源市场动
蓝海搜书最新可用网址是https: www lanhaizw com ,平台具备极简无广告界面、全球CDN加速、三类自适应阅读模式、四重语义检索、27个细分分类、跨设备同步及离线
在网络信息爆炸的时代,一款好用的浏览器能为我们带来便捷与丰富的体验。悟空浏览器网页版正式版入口,成为众多用户探索网络精彩的关键通道。悟空浏览器以其简洁界面和强大功能吸引着广大用户。





