专利显示:谷歌Pixel 11 Pro Fold折叠屏电池更换更便捷
1月15日,IT之家消息,折叠屏手机向来不以“好修”著称,谷歌自家的Pixel Fold系列也不例外。以Pixel 10 Pro Fold为例,其电池直接采用胶水固定,虽然提供了易拉条,但对非专业人士来说,很可能因操作不当而“大力出奇迹”,导致手机损坏。
不过,据消息源透露,谷歌目前已悄然申请了一项折叠屏手机专利。专利显示,谷歌Pixel 11 Pro Fold有望调整电池结构设计,使其更便于更换。
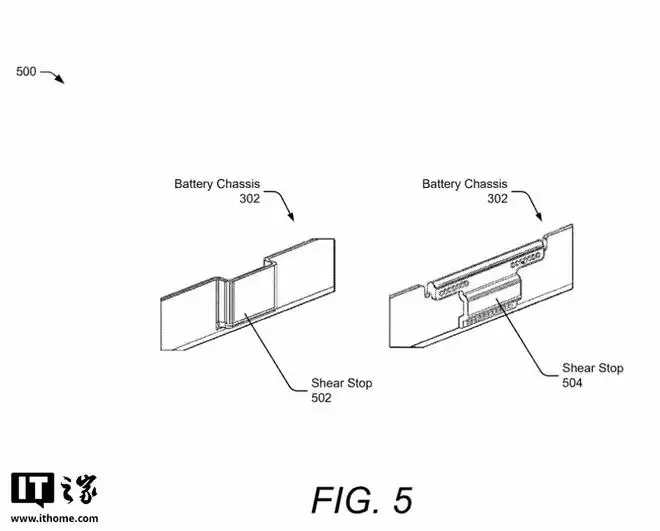
专利文件显示,Pixel 11 Pro Fold的电池有望不再通过胶水粘合,而是采用机械结构进行固定。具体来说,电池将被滑入一个定制形状的仓室中,通过金属结构和固定部件进行锁定,从而实现稳固安装。


专利中还提到,承载电池的机身结构采用金属材质,有助于电池接地,并通过限位结构防止电池在机身内部发生位移或扭转。同时,该设计仍为无线充电预留了空间,这意味着即便更换为可拆卸电池结构,也不会牺牲无线充电功能。
当然,需要注意的是,目前相应设计仅停留在专利阶段,并不意味着谷歌一定会将该设计应用到最终量产的Pixel 11 Pro Fold上。专利可能是技术储备,也可能在测试后被放弃。
相关攻略
新手账户频繁操作被风控?该如何申诉解冻? 对于刚进入交易世界的新手来说,账户突然被冻结无疑是一盆冷水。这通常源于系统对异常行为的自动判定——比如频繁登录、快速转账或是密集下单。平台的风控机制本意在于防盗和保障资金安全,但有时也会“误伤”那些只是操作还不熟练的普通用户。 首选稳定平台,并完成注册验证
当你在不同交易平台间操作时,比如将资产从币安转移到欧易okx或其他平台,掌握币种划转与跨平台资金转移的操作流程至关重要。本文将为你详细拆解全过程,新手也能一看就懂。 对于任何数字资产操作而言,安全与稳定永远是第一位的。因此,选择主流交易平台作为起点和终点,是保障资金安全的基础。目前,币安和欧易OKX
私钥:你的数字资产“命门”,这几件事千万别做 在加密货币的世界里,私钥就是一切。它不是你银&行账户的密码,丢了还能找回;它是那把唯一的、绝对的钥匙。一旦这把钥匙泄露、丢失或被窃,对应的资产很可能在瞬间化为乌有,且追索无门。对于刚进入这个领域的朋友来说,理解并践行私钥保护的第一原则,是比任何投资技巧都
Fitbit品牌走向何方?谷歌整合传闻下的变数与生机 毫无疑问,Fitbit至今仍拥有极高的品牌知名度。但一个令人不安的迹象是,谷歌似乎正一步步将其边缘化——回顾历史,这家科技巨头在运营收购来的品牌与产品线方面,口碑可不算太好。 当然,现在就下结论或许为时过早。目前的一切,都还只是基于各类线索的拼凑
火币(HTX)是全球知名的数字资产服务平台,为用户提供广泛的数字资产交易和管理服务。凭借其稳定的系统和丰富的交易种类,火币APP受到了众多用户的青睐。 对于刚接触数字资产交易的朋友来说,第一步——如何安全、正确地下载并安装官方应用,往往就让人有些摸不着头脑。别担心,下面这份详细的火币最新版APP官方
热门专题
热门推荐
死亡搁浅2的奖杯成就系统丰富多样,吸引着众多玩家去探索和挑战 想要集齐那些闪闪发光的奖杯?这趟旅程可不只是简单的送货。它考验的是你在广袤而孤寂的世界中,如何平衡规划、战斗、探索与联结。下面,我们就来梳理一下各类奖杯的获取之道。 主线任务达成类奖杯 这类奖杯是推动你前进的核心动力,关键在于跟随故事的脉
出战追击天赋加点指南:从基础到实战的精通之路 在游戏的战斗系统中,出战追击天赋的加点策略,往往是区分普通玩家与高手的关键一步。它直接决定了角色在追击环节的效率与威慑力,一套合理的加点方案,能让你的每一次追击都更具威胁。 天赋树结构与追击基础 想要精通加点,首先得摸清整个天赋树的脉络。出战追击天赋通常
在《Arc Raiders》中高效完成地形勘察任务 在《Arc Raiders》的世界里,地形勘察绝非简单的跑图,它往往是后续一切战术行动的基础。这项任务的核心目标非常明确:对指定区域的地形地貌、战略要点及潜在风险进行一次全面而细致的“体检”。 第一步:明确目标,进入状态 接到任务后,首先要做的不是
SOL币:是长期主义的价值之选,还是技术新贵的风险博弈? 在公链赛道,Solana(SOL)这个名字近几年可谓风头正劲。它以“高性能以太坊替代品”的标签闯入市场,凭借惊人的处理速度和低廉的交易费用,迅速聚拢了开发者与投资者的目光。但热潮之下,一个根本问题始终萦绕:SOL究竟适不适合长期持有?又该从哪
禁闭求生2:微观世界生存指南 在《禁闭求生2》这个危机四伏又妙趣横生的微观世界里,掌握一些核心技巧,能让你的生存之旅从容不少。下面这份指南,或许能帮你更快地从挣扎求生转向游刃有余。 合理规划基地建设 基地是你的生存命脉,选址和规划至关重要。第一步,是找到一个既安全、资源又相对富集的区域。初期资源有限





