索尼新专利:AI辅助玩家闯过难关,解锁游戏新体验
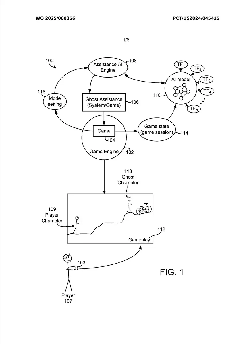
1月7日消息,科技媒体 Wccftech 昨日(1月6日)爆料称,根据世界知识产权组织(WIPO)本周公布的专利申请清单显示,索尼已成功获批一项名为《AI生成幽灵玩家》的专利技术。该技术能够在《战神》《神秘海域》等热门游戏中,实时为玩家展示如何突破各类卡关难题。
免费影视、动漫、音乐、游戏、小说资源长期稳定更新! 👉 点此立即查看 👈

与传统静态攻略视频不同,这套系统能根据玩家当前的装备状态、生命值、所处位置等实时数据,动态生成个性化的闯关方案。专利文件详细揭示了系统的运行机制:在游戏过程中,AI引擎将持续分析游戏状态数据(Game State Data)。
当系统检测到玩家陷入困境时,会在当前画面上叠加一个半透明的“幽灵角色”。值得注意的是,这个幽灵并非播放预设录像,而是基于当前场景实时演算生成的。它能精准演示玩家在当前条件下应如何操作才能顺利通关,确保演示内容与玩家实际面临的处境完全吻合。
系统设计了两套截然不同的交互模式。其一是“引导模式”(Guide Mode),主要针对解谜环节,幽灵角色会演示正确的路径选择或机关触发顺序。
第二种则是更为激进的“完成模式”(Complete Mode)。在此模式下,AI不仅提供操作演示,甚至能直接接管游戏控制权,自动操纵角色通过高难度战斗或复杂路段,让玩家直接跳过卡关环节,继续体验后续剧情内容。

相关攻略
索尼真彩RGB电视惊艳亮相AWE:重新定义家庭影院的画质新标准 每年三月,全球科技爱好者都将目光聚焦于上海。2026年中国家电及消费电子博览会(AWE)盛大开幕,而索尼在本届展会上带来的画质革新,毫无悬念地成为了全场瞩目的焦点与核心亮点。 索尼此次参展策略独具匠心,采用了创新的“双馆联动”模式。主展
索尼AWE 2026重磅发布:真彩RGB技术引领画质革命,构筑全方位索尼真彩娱乐生态 2026年3月,科技盛会如期而至。3月12日至15日,2026年中国家电及消费电子博览会(AWE 2026)在上海隆重开幕。索尼本次参展策略亮点十足,首次创新采用“一展双区”模式。位于上海新国际博览中心W1馆的主展
索尼HT-A9M2荣获AWE2026艾普兰创新大奖,以尖端技术推动沉浸式家庭影院体验变革 近日,在刚刚闭幕的AWE2026(中国家电及消费电子博览会)上,索尼高端无线家庭影院系统HT-A9M2荣获重量级奖项——“艾普兰创新奖”。这一殊荣并非偶然,它不仅是索尼家庭影院产品在专业奖项舞台上的又一次实力证
消息称索尼5月将发布E卡口全画幅新机,定位高端专业市场 摄影器材行业即将迎来新动态。根据国外知名爆料平台SonyAlpha Rumors近日提供的可靠情报,索尼正计划于今年5月份正式推出一款采用E卡口设计的全画幅相机新品。至于具体发布时间表,目前存在两种可能:一种是在4月进行产品发布,随后于5月上市
揭秘索尼 PSSR 技术方案:PlayStation 5 Pro 首席架构师详解 INT8 数据格式优势 2024年3月27日,行业传来一则关键信息。索尼PlayStation 5系列产品首席系统架构师Mark Cerny在接受著名技术媒体Digital Foundry专访时正式确认,最新推出的PS
热门专题
热门推荐
《全面战争:中世纪3》:经典延续,如何平衡怀旧与创新? 近期,《全面战争:中世纪3》的项目负责人帕维尔·沃伊斯坦然指出,要打造一款真正优秀的续作,绝不能仅仅依赖对前作模式的简单复刻。这一观点引人深思——尽管《中世纪2:全面战争》至今仍在策略游戏爱好者心中占据着经典地位,但开发团队此次显然决心跳出“照
雷鸟X3 Pro斩获AWE艾普兰创新大奖,开启全民AR生活新篇章 在上海新国际博览中心隆重揭幕的2026年中国家电及消费电子博览会(AWE)上,前沿AI科技与未来生活愿景激情碰撞。全球消费级AR领导品牌雷鸟创新,以其里程碑式的表现,定义了行业发展的新方向。 通过“顶尖硬件科技+顶级文化IP”的双轨战
借力AWE2026“一展双区”,MOVA双区协同、震撼登场 备受瞩目的科技盛会——2026年中国家电及消费电子博览会(AWE),于3月12日至15日在上海盛大举办。本届AWE展会首次创新采用“一展双区”的展览模式,主会场位于上海新国际博览中心,分会场则设于上海东方枢纽国际商务合作区,两大展区高效联动
冰结师技能全解析 踏入2026年,《地下城与勇士》中的冰结师职业,其技能体系已构建得更为成熟与强大。无论是在副本中高效清理海量怪物,还是在决斗场与高手玩家周旋,这个职业都能凭借其独特的冰霜艺术掌控战局。刷图时,酷寒的范围法术可瞬间清屏;而在PVP竞技中,一套将冻结控制与瞬间爆发完美衔接的连招,往往让
iPhone 18 Pro系列模具不变,屏幕形态将与iPhone 17 Pro保持一致 备受期待的屏下Face ID组件小型化设计与灵动岛区域缩窄方案,预计将被推迟至后续迭代机型中正式应用。 近期,关于iPhone 18 Pro系列的技术传闻持续引发行业关注,尤其在显示与解锁设计领域传言甚多。多方消





