保时捷新专利:用气流屏替代敞篷,御风而行黑科技
12月30日资讯,要打造一台令人满意的敞篷车绝非易事。拿掉车顶后,各种棘手问题便会接踵而至:既要应对车身刚性这类关键挑战,还得处理敞篷状态下如何保持座舱静谧性这类细节难题。数十年来,针对后一个问题的解决思路,通常是在前排乘客后方安装某种导风装置。尽管部分车型配备了精巧的电动伸缩挡风板,但这些装置大多造型笨拙、操作繁琐,只是一堆需要手动卡入固定位的塑料件。不过,一项最新披露的专利或许能让保时捷 911 和 Boxster 敞篷车彻底告别这类传统的挡风方案。
免费影视、动漫、音乐、游戏、小说资源长期稳定更新! 👉 点此立即查看 👈

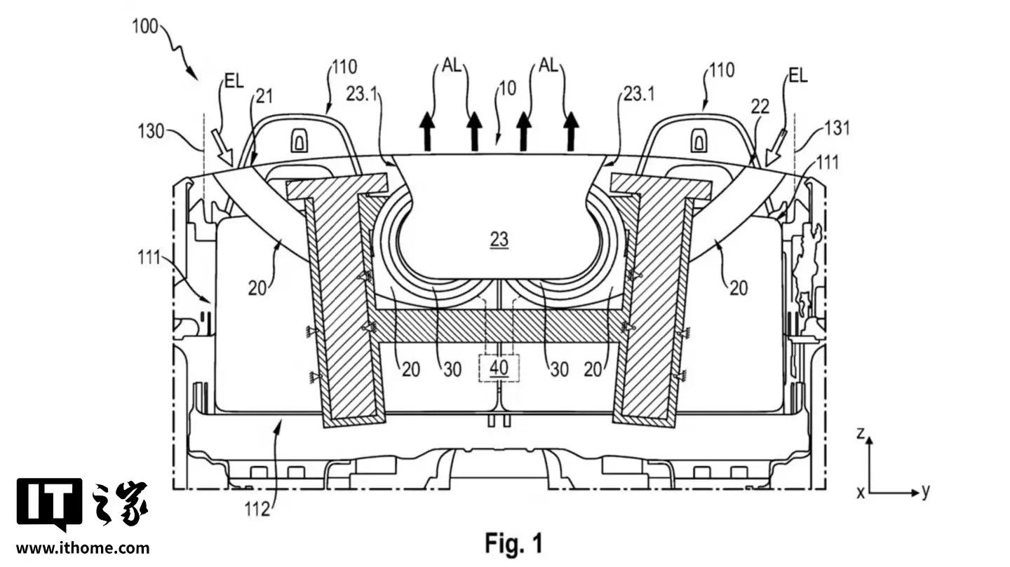
这项由保时捷提交的专利已由世界知识产权组织公布,并于去年正式获得德国专利商标局授权。其核心原理是利用气流自身的能量来阻隔外部气流侵入座舱,本质上是在乘客周围构筑一道无形的“空气屏障”。它的工作原理出乎意料地简单,下方的示意图也清晰地展现了这一点:在乘客舱后方设有一组风道,外部风道大致从车身两侧吸入空气。专利图示表明,气流取自车顶和侧面的进气口,但理论上气流也可以从车身侧翼的进气口引入。

随后,气流会通过风道进入中央区域,这里安装有一台或两台驱动径向风扇的电机。这类风扇的原理与汽车空调系统的鼓风机类似,甚至和笔记本电脑里的微型风扇原理相通。风扇的作用是调节进气量的大小,从而确保车辆在任何行驶速度下,都能提供理想的气流量。风扇将气流通过位于车辆中央的出风口吹出,而这个位置恰好是传统实体风挡的安装处。

除了调节气流量,保时捷在专利中还提到,出风口配备了可调节导流叶片。通过调整叶片角度,气流的形态和走向能够适配不同的车速,达到最佳的扰流效果。这套系统的最终目的,是借助吹出的气流形成一道屏障,阻挡车外紊乱气流涌入座舱,同时摒弃了传统实体风挡那种操作麻烦、外观突兀的设计。
据了解,通过合理引导气流可以实现许多超乎想象的效果。以迈凯伦 Elva 为例,这款车型上市时并未配备玻璃风挡,为了让乘客免受强风直吹,迈凯伦专门设计了一组风道,将车身下方的进气气流向上引导,使气流从乘客头顶掠过,以此实现挡风效果。既然迈凯伦能想出如此巧妙的驭风方案,保时捷自然也有能力做到。

这套系统的结构看起来也相对简单,并不比汽车的空调系统更复杂,核心部件无非就是风道、风扇和出风口。因此,保时捷有望在不久的将来完成该技术的研发,并将其搭载于量产车型。该系统唯一可能存在的短板在于空间占用和重量控制,风道和风扇需要占据一定的安装空间,这可能会进一步压缩本就紧张的行李厢容积。此外,尽管这套系统的零部件已经尽可能轻量化,但其重量肯定无法与轻薄的传统塑料网式风挡相媲美。这或许意味着,保时捷敞篷车的 Spyder 或 T 轻量化版本,可能不会搭载这项配置。
相关攻略
作者 | 周智宇“把冰箱彩电大沙发装进去,难吗?不难。难的是让大家开得很爽、很自由。”莲花汽车CEO冯擎峰在新车发布后说。3月29日晚,莲花发布了首款混动SUV,预售价较此前下调2-3万元,全系选配
3月30日消息,目前网上有不少商家销售老头乐车型,但这类车型因为没有合格证和统一的质量标准,虽然外观看上去颇为惊艳,可整车质量却一言难尽,已经有不少人买这车吃到了大亏。据报道,近日,河南李女士向媒体
3月30日消息,卡宴纯电版无异成为了最强量产保时捷,其最大可输出1140马力,还能拥有600公里(WLTP)的续航,这背后可离不开电池的功劳。而其颠覆性优势,源于一套散热能力堪比100台大型家用冰箱
IT之家 3 月 30 日消息,凭借 1140 马力的最大输出,保时捷纯电卡宴成为了品牌史上最强量产车型。在高性能加持下,该车实现了约 600 公里的续航。背后的关键,在于电池系统的整体设计。当地时
网易汽车3月23日报道 近日,保时捷最新宣布新款Panamera(参数丨图片)尽享版正式开启预售。本次共推出三款车型,分别为Panamera 尽享版、Panamera行政加长尽享版以
热门专题
热门推荐
《无限轮回》新手入门指南:高效开局与核心机制解析 你是否渴望在《无限轮回》中快速成长,成为团队中可靠的伙伴?对于新手而言,正确的开局思路至关重要。切忌盲目拾取未知物品,一个不当操作——例如过早将关键法器“葫芦”交给队友——就可能打乱核心输出的成长节奏,导致团队覆灭。作为团队辅助,你的首要目标并非打出
Fami通最新销量榜出炉:日本实体游戏软件销量数据解读(2026年3月16日-22日) 日本游戏市场每周的风向变幻,总是由那些长青的头部作品与新晋热作共同书写。根据权威媒体《Fami通》最新发布的实体销量估算数据,在2026年3月16日至3月22日这一周,市场格局呈现出清晰的趋势:任天堂Switch
王者荣耀S43赛季射手梯度排行榜单 新赛季的射手格局已基本定型,可以用一句话概括核心趋势:敖隐与蚩妩两位英雄构成双星闪耀的T0阵营,综合强度堪称断层领先。紧随其后的T1梯队中,公孙离、艾琳、孙权、元流之子(射手)等英雄各怀绝技,或凭借极致的灵活拉扯掌控战局,或依赖无解的持续输出主宰团战。而处于T2梯
长生:天机降世怎么玩:从入门到精通的全面攻略 《长生:天机降世》是一款深度策略卡牌手游。其核心玩法在于通过策略性的卡牌组合与角色搭配,在限定回合内,最大化自身伤害输出并在竞技排行榜上取得优势。想要玩好这款游戏,深入理解其底层机制是关键第一步。 《长生:天机降世》新手入门与高阶玩法解析: 一、游戏核心
在本来生活平台下单购物后,及时查询并跟踪物流信息,可以帮助我们准确掌握包裹的预计送达时间,提前做好收货安排。那么,在本来生活应该如何高效地查询快递物流状态呢?下面为您详细介绍几种常用方法。 进行网络购物之后,用户最关心的问题通常是“我的包裹现在运送到哪里了?”实时了解物流进度,不仅能减少等待期间的焦





