兰博基尼新专利:磁铁取代液压尾翼,超跑设计革新
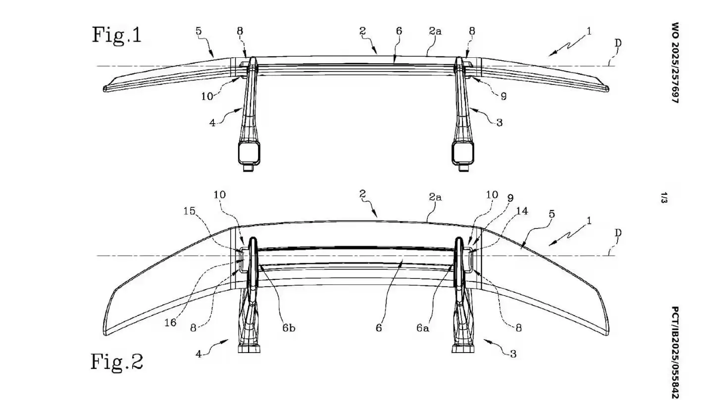
12月25日,据IT之家消息,汽车媒体CarBuzz近日发布报道称,兰博基尼近期曝光了一项颠覆性的空气动力学专利。该专利计划利用“磁性减阻系统”取代传统的液压装置,试图通过复杂的机械结构优化超跑在高速行驶时的空气动力学表现。
免费影视、动漫、音乐、游戏、小说资源长期稳定更新! 👉 点此立即查看 👈
与法拉利、迈凯伦或F1赛车上常见的简单翻转式尾翼不同,兰博基尼的这项新专利引入了磁力驱动技术。

该系统旨在解决固定式尾翼在提供过弯下压力与限制直线极速之间的矛盾。它通过一种“嵌入式”的活动结构,在不牺牲操控稳定性的前提下,释放车辆的最高速度潜力。
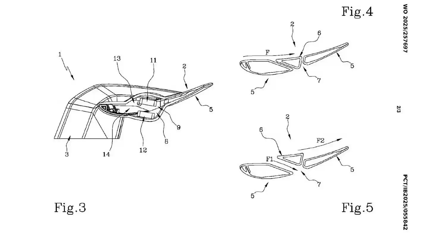
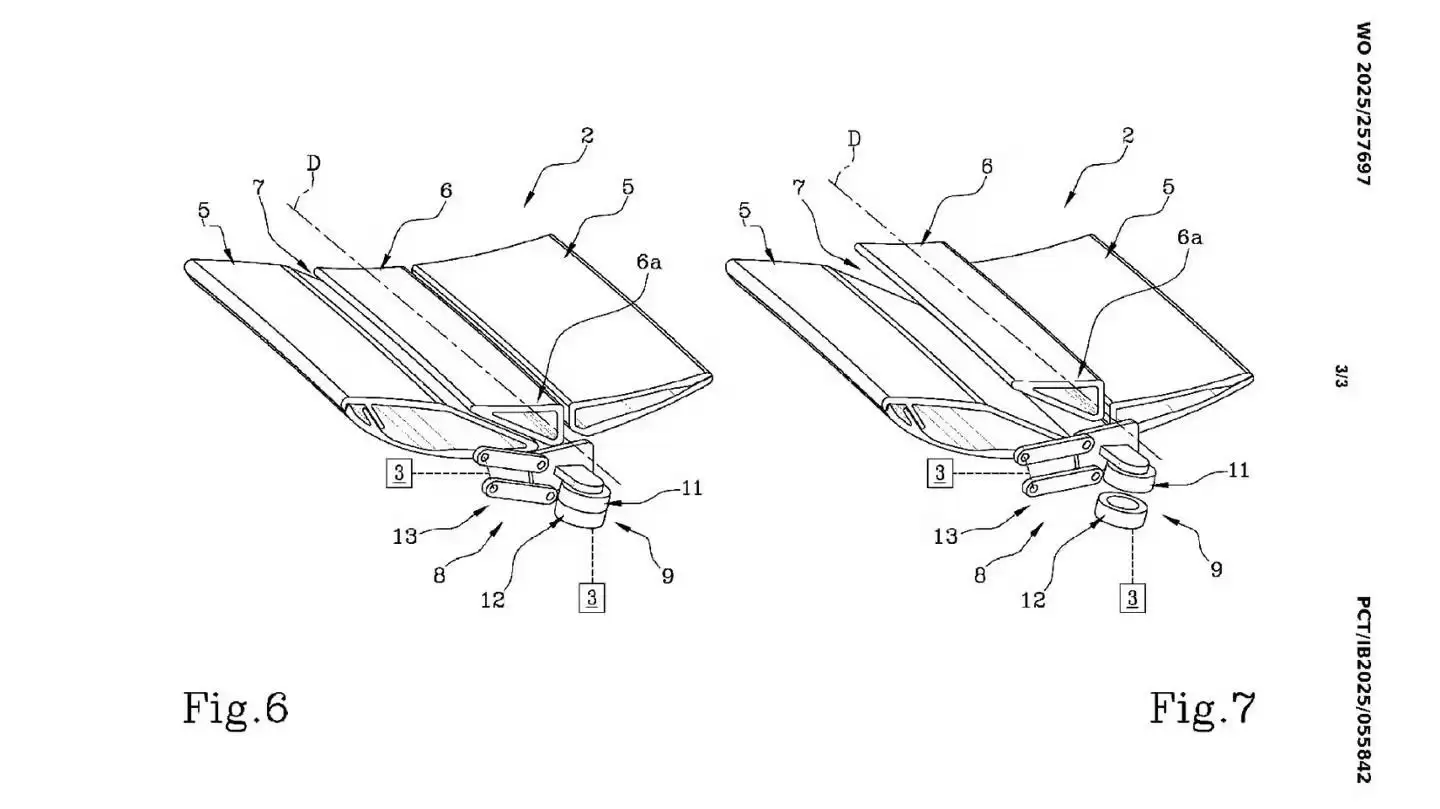
报道援引专利文件介绍,该专利的核心在于独特的双元件设计:一个外观常规的主尾翼,以及一个嵌入主翼槽口内的可移动副翼。当车辆需要极速行驶时,系统并非改变整个尾翼的角度,而是移动内部的副翼。

这一动作会在主翼表面打开一个缺口,引导气流直接穿过尾翼而非流经其表面。气流的“短路”破坏了原本产生下压力的高低压区,从而有效降低空气阻力,提升车辆直线加速能力。
兰博基尼此次创新的最大亮点在于驱动方式的变革。该系统利用主翼上的电磁铁与副翼上的永磁体相互作用来实现开合,彻底摒弃了传统DRS系统中沉重的电机或线性致动器。

这一设计不仅大幅降低了系统复杂度和重量,还因其紧凑的体积,让工程师能够安装比以往更大的尾翼和翼端板,从而在未激活DRS时获得更极致的过弯抓地力。

兰博基尼在专利中暗示,该技术支持在尾翼上设置多个独立移动的区段,这意味着驾驶员或车载电脑可以针对特定路况进行微调。例如在高速过弯时仅打开部分风道,而在大直道上则完全开启以追求极速。
尽管专利申请并不等同于量产确认,但这无疑揭示了兰博基尼在未来旗舰车型上追求极致性能的技术路径。

相关攻略
IT之家 3 月 30 日消息,小米汽车最新今日发布了答网友问(第 224 集),针对新一代 SU7 的女性安全测试、「通透模式」如何使用、电动尾翼有哪几种模式等问题进行了解答。IT之家附小米汽车本
IT之家 3 月 29 日消息,全新莲花 For Me 超混 SUV 今晚正式上市,共推出标准版和特别版两款车型,售价 50 8 万元起。IT之家注意到,这款新车长宽高为 5103 2019 163
来源:环球网【环球网科技综合报道】3月29日消息,小米汽车日前发布答网友问,回答了“SU7 Ultra 推出的三挡可调碳纤维尾翼和之前的区别是什么?”等问题。小米汽车表示,“我们发现部分SU7 Ul
IT之家 3 月 28 日消息,小米汽车今日发布答网友问,回答了“SU7 Ultra 推出的三挡可调碳纤维尾翼和之前的区别是什么?”“SU7 Ultra 新出的暮光玫瑰颜色和璀璨洋红区别是什么?”等
网易汽车3月20日报道 当原厂碳纤尾翼+鎏光金车色+赛道化运动座舱集于一身,这样的领克07(参数丨图片) EM-P你要不要?近日领克最新宣布:全新领克07 EM-P全系限时价13 9
热门专题
热门推荐
末日生存手游推荐:前往九游开启你的废土冒险之旅 近年来,末日生存题材手游以其独特的沉浸感与生存挑战,持续吸引着大量玩家。在废墟世界中探索资源、应对危机、重建秩序的核心玩法,带来了紧张而富有成就感的游戏体验。如果你正在寻找一款高品质的末日生存手游,九游平台无疑是理想的起点。这里汇集了多款深受好评的末日
《纪念碑谷3》第二关“小镇”超详细图文攻略 《纪念碑谷》系列凭借其独特的视觉艺术与空间谜题设计广受赞誉。最新发布的《纪念碑谷3》在第二章节“小镇”中,将这一美学风格与机关逻辑提升到了新的层次。本章节不仅延续了标志性的极简主义美学,其空间层次感与交互严谨性也更具挑战性。本攻略将为你完整解析《纪念碑谷3
《生存33天》:“沙漠之王”高效通关攻略 在热门生存手游《生存33天》中,玩家面临的挑战远不止于无尽的丧尸潮。游戏深度结合了生存资源管理与高难度首领战策略,其中“沙漠之王”堪称游戏中期最具考验的BOSS。它不仅是实力分水岭,击败后更能获得稀有材料、限定头衔及海量经验金币,大幅推动队伍成长。本文将深入
《生存33天》“四只手”首领完全通关攻略 你是否在“四只手”首领关卡止步不前?不必焦虑,这个Boss在《生存33天》中素有“新秀杀手”之称。初次遭遇时,其独特的机制与高额伤害往往让玩家措手不及,不少冒险者在此耗费了数日时光。然而,只要掌握了它的核心规律,你就会发现这个敌人不过是外强中干。以下这份详尽
《剑与远征:启程》前排坦克英雄赫普深度解析:双形态切换机制与实战搭配指南 在《剑与远征:启程》这款策略放置手游中,组建一支攻守兼备的队伍至关重要,而前排坦克英雄的选择往往是决定胜败的关键。今天,我们将聚焦于蛮血部族的一位特色英雄——赫普。作为一名超稀有品质的坦克,赫普不仅具备坚实的防御力,更凭借独特





