宝马防盗螺丝专利解读:4S店为何需专用工具防篡改
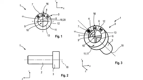
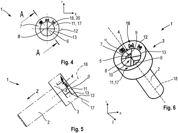
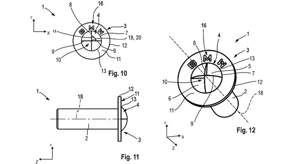
12月19日消息,宝马公司近期获得一项新型防盗螺丝专利。这项设计采用了独特的异形凹槽结构,只有使用宝马最新授权的专用工具才能正常拆装,市面上常见的通用工具(如十字螺丝刀、六角扳手等)根本无法操作。
免费影视、动漫、音乐、游戏、小说资源长期稳定更新! 👉 点此立即查看 👈
专利文件显示,这种螺丝的头部采用了特殊的几何形状,与市场上任何通用工具都不匹配。部分版本甚至采用内梅花结构,通过对梅花齿形进行精确微调,形成每辆车独一无二的防盗机制。
同时,该设计还采用了创新的逆向锁定原理,使螺丝在安装后形成“自锁”状态,进一步增加了非法拆卸的难度。当使用非专用工具尝试拆卸时,反而会使螺丝更加紧固。

这些螺丝主要用于车轮轮毂(防盗)、发动机关键部件(如可变气门正时系统,防止非法改装或更换零件)以及车身关键连接点(保护车辆重要结构的完整性和安全性)等处。
专利明确指出,这种设计旨在建立物理壁垒,有效“防止使用普通反驱动结构松开或拧紧螺丝”,从而将维修权限牢牢锁定在宝马授权经销商体系内。
对于车主而言,这项新专利无疑有利有弊。除了确实可以起到防盗作用以及保证零部件的质量外,它也会带来诸多不便。
这意味着车主只能在宝马授权的4S店或服务中心进行维修,其工时费普遍高于第三方修理厂;若行驶中轮胎突然爆胎,没有专用工具将无法自行更换备胎,只能依赖救援服务。




相关攻略
网易汽车3月30日报道当大多车企还在纠结“要不要上激光雷达”时,零跑已经把它塞进一辆顶配只有8 68万元的小车里。3月26日,零跑A系列首款车型A10正式上市。6 58万元的起售价,
IT之家 3 月 30 日消息,据宝马中国官微,中国专属新世代宝马 i3 长轴距版车型将于 2026 北京国际车展正式亮相,并将于今年下半年上市。今天上午,宝马公布了新世代 iX3 长轴距版的官图。
3月30日消息,日前,宝马产品负责人贝恩德·克尔伯在接受BMW Blog采访时明确表示,公司对增程车型持观望态度,虽技术上完全可行,但现实需求尚未明确,暂未做出量产决策。这一表态与宝马研发负责人约阿
(文 观察者网 张家栋 编辑 高莘) 据《日经亚洲》近日报道,蔚来正计划借由押注萤火虫品牌,来将其海外业务规模扩大一倍。 蔚来萤火虫 日经亚洲 报道称,蔚来计划在年底前将萤火虫旗下首款车型Fir
3月18日消息,随着国产车企在新能源与智能化领域的全面发力,宝马曾经在华躺赚的时代正逐渐走向终结。财报数据显示,宝马汽车业务的息税前利润率已从2024年的8 6%大幅滑落至目前的5 3%。尽管在20
热门专题
热门推荐
《全面战争:中世纪3》:经典延续,如何平衡怀旧与创新? 近期,《全面战争:中世纪3》的项目负责人帕维尔·沃伊斯坦然指出,要打造一款真正优秀的续作,绝不能仅仅依赖对前作模式的简单复刻。这一观点引人深思——尽管《中世纪2:全面战争》至今仍在策略游戏爱好者心中占据着经典地位,但开发团队此次显然决心跳出“照
雷鸟X3 Pro斩获AWE艾普兰创新大奖,开启全民AR生活新篇章 在上海新国际博览中心隆重揭幕的2026年中国家电及消费电子博览会(AWE)上,前沿AI科技与未来生活愿景激情碰撞。全球消费级AR领导品牌雷鸟创新,以其里程碑式的表现,定义了行业发展的新方向。 通过“顶尖硬件科技+顶级文化IP”的双轨战
借力AWE2026“一展双区”,MOVA双区协同、震撼登场 备受瞩目的科技盛会——2026年中国家电及消费电子博览会(AWE),于3月12日至15日在上海盛大举办。本届AWE展会首次创新采用“一展双区”的展览模式,主会场位于上海新国际博览中心,分会场则设于上海东方枢纽国际商务合作区,两大展区高效联动
冰结师技能全解析 踏入2026年,《地下城与勇士》中的冰结师职业,其技能体系已构建得更为成熟与强大。无论是在副本中高效清理海量怪物,还是在决斗场与高手玩家周旋,这个职业都能凭借其独特的冰霜艺术掌控战局。刷图时,酷寒的范围法术可瞬间清屏;而在PVP竞技中,一套将冻结控制与瞬间爆发完美衔接的连招,往往让
iPhone 18 Pro系列模具不变,屏幕形态将与iPhone 17 Pro保持一致 备受期待的屏下Face ID组件小型化设计与灵动岛区域缩窄方案,预计将被推迟至后续迭代机型中正式应用。 近期,关于iPhone 18 Pro系列的技术传闻持续引发行业关注,尤其在显示与解锁设计领域传言甚多。多方消





