折叠屏iPhone将至:苹果如何攻克折痕难题?
随着三星、谷歌等品牌的折叠屏手机上市多年,科技界一直关注着苹果何时会加入这一市场。根据一篇综合报道,尽管苹果最新仍未发布任何声明,但多项分析师预测和专利信息表明,折叠屏iPhone的推出可能已不再遥远。
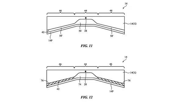
报道指出,一项关键的证据是苹果在2024年7月16日获得的一项专利。这项名为“电子设备与耐用折叠显示屏”的专利最初于2024年11月提交。
专利文件描述了一种保护屏幕的铰链设计:当设备跌落时,显示屏会“围绕弯曲轴轻微折叠”,让设备边缘先着地,从而保护脆性的内屏。这证实了苹果在折叠屏技术上的长期研发。

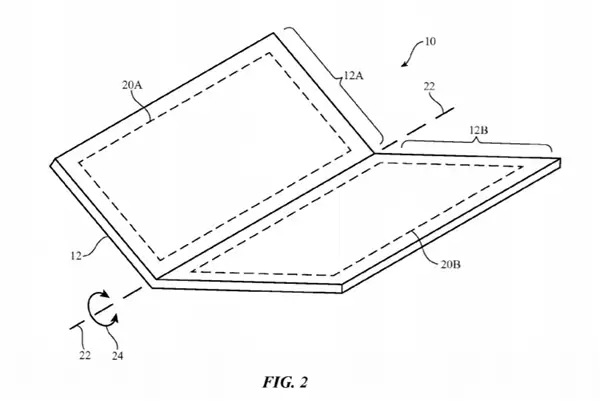
关于产品形态,目前传闻主要指向两种设计:
书本式折叠:根据知名分析师郭明錤的预测,这类设备可能配备一块7.8英寸的无折痕内屏和一块5.5英寸的外屏。折叠时厚度约为9-9.5毫米,展开后为4.5-4.8毫米。设备可能配备前置摄像头和双后置摄像头。

翻盖式折叠:另有信息称,苹果可能优先开发类似三星GalaxyZ Flip的翻盖式设备,旨在打造比现有iPhone薄一半的机型。郭明錤预测,为了追求轻薄,折叠屏iPhone可能会舍弃Face ID,转而采用集成在侧边按钮的Touch ID进行生物识别。
在价格方面,郭明錤估计折叠屏iPhone的售价将在2000至2500美元之间,与市面上其他高端折叠屏设备持平。他预测其出货量可达300万至500万台。
至于发布时间,各方预测存在分歧:郭明錤曾预测苹果最早可能在2026年底发布一款无折痕的折叠屏设备。然而市场分析机构TrendForce的估计则更为保守,他们认为由于苹果对可靠性和消除屏幕折痕有着严格要求,其折叠屏产品的发布可能会推迟到2027年。
报道回顾,关于折叠屏iPhone的传闻已流传多年,预测的发布日期从2024年一路推迟,因此最终的发布时间仍存在不确定性。

除了手机,报道还提及苹果可能正在开发一款折叠屏iPad。该设备据称将配备约8英寸的显示屏(接近iPad Mini的大小)。由于不需要像手机那样放入口袋,其对耐用性和厚度的要求可能相对宽松一些。
总而言之,虽然万众期待的折叠屏iPhone尚未得到苹果最新确认,但持续的专利活动和分析师报告都强烈预示着苹果正在积极筹备其折叠屏产品线,消费者或许在不久的将来就能看到结果。
编辑点评:
折叠屏iPhone的传闻始终停留在分析师观点中,折射出苹果对技术极致的苛求。若其真能实现无折痕突破,或将重新定义折叠体验。但一切悬念,仍待苹果自己揭晓。

文章出处:太平洋科技
相关攻略
北京时间5月24日,一场美国职业足球大联盟比赛将全程由iPhone17Pro拍摄转播,不再使用传统专业摄像机。此举标志着iPhone首次独立完成大型职业赛事拍摄。手机的小巧灵活使其能置于球门后等特殊位置,提供更多独特视角与临场画面。这是苹果在体育转播领域从辅助到主导的关键尝试。
谷歌就反垄断裁决提起上诉,坚称其搜索市场主导地位源于产品创新、持续投入与努力,而非排他协议。谷歌认为苹果选择其作为默认搜索引擎是自主商业决策,且未损害竞争,要求法院撤销此前要求其开放数据等整改措施。
一款型号为A3577的苹果蓝牙头戴式耳机在FCC认证文件中曝光,具体规格与设计尚未披露。外界猜测其可能属于Beats系列,例如即将更新的StudioPro迭代产品,主要依据是该系列产品已近三年更新周期,市场期待其在音质与降噪等方面有所提升。
重要提示:在下载过程中,您的浏览器可能会弹出关于文件安全的常规提醒。这属于正常现象,建议您选择“仍然下载”或类似选项以继续完成下载过程。 币安Binance便捷交易入口: 币安Binance安卓APP下载链接: 币安Binance苹果登录入口: 一、下载与安装指南 第一步,直接点击官方授权下载通道即
苹果在印度推出两项健康监测新功能。睡眠呼吸暂停监测利用AppleWatch加速度计检测异常呼吸引发的手腕运动,发现风险后发出提醒。听力测试功能则通过AirPodsPro播放不同频率纯音,评估用户听力水平并生成详细听力图。两项功能均利用现有硬件提供健康洞察,数据存储于本地健康应用以保护隐私。
热门专题
热门推荐
摘要由实在Agent通过智能技术生成。此内容由AI根据文章内容自动生成,并已由人工审核。 随着企业数字化转型进入智能体(Agent)驱动的新阶段,如何平衡AI创新与安全合规成为关键挑战。尤其在《网络安全等级保护基本要求》(等保2 0)的严格框架下,企业级智能体的部署必须同时满足效率提升与合规保障的双
使用情景 对于外贸从业者来说,年终总结绝非简单的例行汇报。它是一次至关重要的年度复盘与战略规划,既要系统梳理过去一年的业绩成果与经验得失,也要为来年的市场开拓与业务增长指明清晰路径。在全球贸易竞争白热化的今天,一份逻辑严谨、数据详实、洞察深刻的总结报告,不仅是个人专业能力的集中体现,更是赢得管理层支
使用情景 又到年末了,年度安全工作总结是每个团队都绕不开的环节。这份总结的价值,远不止于一份简单的回顾。它更像是一份“体检报告”,清晰地告诉你过去一年安全工作的“健康状况”——哪里做得好,哪里还有隐患,从而为来年的精准施策打下坚实的基础。 不过,说起写总结、做PPT,不少人就开始头疼了:内容怎么组织
Zcash (ZEC) 月度暴涨520%:深度解析后市行情与关键点位 近期,隐私币龙头Zcash (ZEC) 上演了一场令人瞩目的行情,月度涨幅高达520%,价格一度逼近300美元,创下自2021年12月以来的新高。在加密市场整体承压的背景下,ZEC的逆势狂飙吸引了全球投资者的目光。本文将结合技术分
在存量竞争的时代,电商售后数据早已超越了“成本中心”的单一角色,它正成为洞察产品质量、优化物流链路、提升用户忠诚度的核心战略资产。然而,现实往往骨感:多平台、多店铺、多套ERP系统并存,数据散落一地。靠人工手动汇总?不仅耗时费力,更关键的是,你永远无法实现真正的实时预警与敏捷响应。那么,电商售后数据





