AMD推出HB-DIMM新架构,DDR5内存性能提升100%
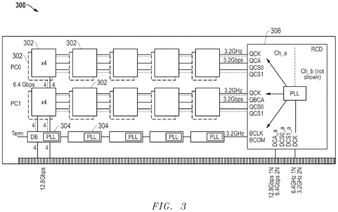
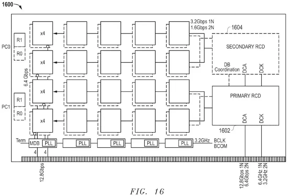
9月27日外媒TechSpot报道,AMD公司近日获得一项名为"高带宽内存模组架构"的重要专利技术。该方案能够将DDR5内存的总线传输速率从当前的6.4Gbps直接提升至12.8Gbps,在不大幅改变现有DRAM芯片架构的情况下,成功实现了信号质量优化和延迟降低的双重突破。
这项创新的核心在于独特的高带宽双列直插内存模组(HB-DIMM)设计。与传统方案不同,AMD采用了将多个DRAM芯片与高性能数据缓冲芯片协同工作的方式,通过在缓冲芯片端进行信号优化处理来突破性能瓶颈。

技术亮点在于集成了先进的寄存器时钟驱动电路,通过内存命令解码和芯片标识位路由技术,将内存访问方式升级为并行化的"伪通道"模式。这种设计打破了传统顺序访问的限制,使数据吞吐能力获得质的飞跃。

该技术还提供了1n和2n两种工作模式的灵活切换能力,配合创新的非交错传输格式,显著优化了时钟同步和信号完整性。特别值得一提的是,系统支持在伪通道和四通道配置间智能切换,这种动态调节能力使其能够完美适配从普通计算到高性能计算等各类应用场景的不同需求。
相关攻略
最近,AMD在图形技术领域又投下了一枚重磅冲击波——正式发布了名为Dense Geometry Format(DGF)的开放压缩标准。这项技术瞄准了光线追踪,尤其是路径追踪渲染中的核心痛点:如何高效处理海量的环境几何数据。简单来说,它的目标就是让那些拥有复杂光照和庞大场景的开放世界游戏,运行起来更加
AMD新专利展示AI驱动游戏引擎的愿景,旨在通过神经外推等技术,从简化基础图案动态生成细腻图像与内容,以降低计算成本并提升视觉效果。该技术可能改变传统游戏引擎处理任务的方式,预示AI对游戏创作流程的深刻影响。
近期,关于AMD即将推出的新一代入门级显卡消息逐渐增多。根据TweakTown与VideoCardz等海外科技媒体的披露,AMD似乎正在为一款主打1080P游戏市场的新品做准备——这款显卡很可能被命名为Radeon RX 9050,并将配备8GB GDDR6显存。 综合多方泄露的文档与内部情报分析,
4月15日,AMD锐龙9 9950X3D2处理器正式开启预售,并将于4月22日全球同步上市,国内定价为6999元。这款处理器最大的看点,在于首次在消费级产品中应用了双3D V-Cache缓存技术,AMD将其定位为面向专业创作者与硬核4K光追游戏玩家的生产力计算新标杆。 核心规格上,这次的技术突破相当
根据MercuryResearch报告,2026年第一季度AMDEPYC服务器处理器营收份额达46 2%创新高,出货量份额为27 4%。增长主要源于云端与企业级市场对第四、五代EPYC处理器的采纳,其高端产品策略推高了平均售价。同期英特尔在出货量及营收份额上仍领先,但优势收窄。Arm架构服务器CPU份额升至17 7%,成为重要第三方力量。AMD预计服务器CP
热门专题
热门推荐
广东无人机适飞空域扩大16%至10 24万平方公里,覆盖全省57%陆地面积,滨海、郊野、工业园区及非核心城区公园等区域开放,深圳市区新增连片适飞区。飞行需通过民航局UOM平台提前申请,严禁“黑飞”,违者将受处罚。平台已升级,实现全国规则统一与分钟级空域更新,支持低空物流与巡检等应用。
杭州Costco门店因iPhone17系列手机引发抢购热潮,数百人排队致迅速断货。抢购源于官方降价与地方补贴叠加:iPhone17Pro全系直降千元,同时当地青年消费补贴可再减10%,最高省千元。双重优惠下,256GB版iPhone17Pro到手价低至7172元,较电商平台便宜近千元,吸引本地及周边消费者。目前门店仍处缺货状态,补货时间未定。
5月17日晚,长征八号运载火箭在海南商业航天发射场点火升空,成功将千帆星座第九批组网卫星送入预定轨道。此次发射是该发射场启用以来的第15次成功发射,也是今年第5次发射,体现了我国商业航天发射能力的日益成熟和常态化运营的稳步推进。
七彩虹新款iGameM15 M16Origo2026款游戏本已发售,起售价11499元。M15为15 3英寸黑色机身,配备2 5K300Hz屏,最高可选Ultra9处理器与RTX5070显卡。M16为16英寸白色款,屏幕规格相同,处理器性能更强,电池容量更大。两款均提供多种配置,享受国家补贴后价格更具竞争力,面向中高端游戏玩家与创作者。
联想在北美市场推出新款ThinkPadT14Gen7商务笔记本,支持用户自行更换LPCAMM2内存。该机型提供多款英特尔酷睿Ultra处理器选项,内存可选16GB至64GB,电池与屏幕亦有多种配置,其中顶配版搭载OLED屏幕。产品起售价为1618美元,高配版本价格超过3700美元,主要面向商用及专业办公市场,兼顾性能、可升级性与不同预算需求。





