特斯拉座椅专利揭秘:碳纤维一体框架或用于新Roadster跑车
IT之家3月14日消息,据汽车媒体CarScoops日前报道,在查阅美国商标和专利局(USPTO)最新公布的专利清单后,发现特斯拉一项“车辆座椅系统”设计专利已获批准。业界推测,这项创新技术有望应用于第二代Roadster跑车。
免费影视、动漫、音乐、游戏、小说资源长期稳定更新! 👉 点此立即查看 👈
结合近期流出的产品规划,第二代特斯拉Roadster预计将于2026年4月1日在得州奥斯汀超级工厂正式首发。新车定位为硬顶敞篷纯电动旗舰超跑,将采用三电机全轮驱动架构,零百加速时间有望突破2.1秒,续航里程或将超越1000公里。

传统汽车座椅结构依赖数十个金属连接部件,这不仅增加了车身整体重量,也带来了潜在的机械故障风险。研发团队希望通过一体化设计打造更轻量的座椅系统,同时有效降低日常使用中的磨损与老化。

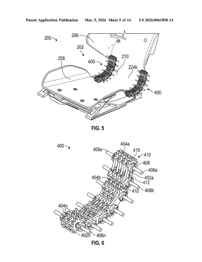
根据专利文件描述,新型座椅颠覆了多数跑车采用的多部件拼装方案,转而采用一体化框架设计,将底座、靠背、头枕和侧面支撑等元素整合为单一复合结构。
材料方面,据IT之家援引相关报道介绍,工程师在专利中明确提及凯夫拉-尼龙和碳-尼龙复合材料,旨在削减冗余重量并大幅提升座椅的结构强度。

该专利还详细说明了座椅的创新动态调节方式。新系统彻底摒弃了用于调节椅背倾斜的传统金属齿轮机构,转而采用“一体式柔性铰链”设计。

这意味着材料本身可在受力点发生形变,让框架在特定区域保持柔韧,而在其他区域维持刚性。这种设计使工程师能够进行精准调校,从而在车辆急加速或高速过弯时为驾乘者提供更稳固的支撑。

执行结构上,新系统省去了常规的电动机和金属滑轨,采用小型多轴执行器来控制座椅的各个方向移动。该系统具备六自由度调节能力,能够比大多数豪华车型更精确地微调座椅姿态。

相关攻略
IT之家 4 月 7 日消息,IT之家从国家市场监督管理总局获悉,日前,宝马汽车贸易有限公司根据《缺陷汽车产品召回管理条例》和《缺陷汽车产品召回管理条例实施办法》的要求,向国家市场监督管理总局备案了
IT之家 4 月 1 日消息,4 月 1 日(今天)上午,广汽昊铂通过最新公众号宣布:4 月购广汽昊铂 HT,限时一口价 15 99 万元起。现款在售的昊铂 HT 提供 4 款不同配置,指导价格区间
3月31日,上汽大众昨日公布旗下“德系满级旗舰SUV”ID ERA 9X预售价格,推出Pro、Max、Ultra三款四驱版车型,预售价分别为32 98万元、35 98万元和37 98万元。该车定
网易汽车3月30日报道3月30日,吉利银河旗舰插混轿车——星耀8远航家系列加新上市,连同此前推出的130km EM-i尊享版,共有4个版型,上市指导价13 58万元-16 18万元,上市限时先享价1
IT之家 3 月 30 日消息,今天上午,零跑汽车 COO 徐军(@零跑 Tiger)宣布:家族旗舰车型零跑 D19 将于 4 月 16 日正式上市。IT之家汇总新车目前已知的信息如下:新车长宽高分
热门专题
热门推荐
compareToIgnoreCase方法的基本概念在Java编程语言中,字符串的比较是常见的操作。除了区分大小写的compareTo方法,String类还提供了compareToIgnoreCase方法,用于在比较两个字符串时忽略大小写差异。这个方法在进行用户输入校验、字典排序或忽略大小写的搜索匹
FreePlanTour是什么 规划一次完美的旅行,最头疼的环节是什么?相信很多人都会回答:做行程。从筛选目的地、安排路线到预订活动,琐碎又耗时。现在,一款名为FreePlanTour的AI旅行规划工具,正试图把我们从这份繁杂中解放出来。 简单来说,FreePlanTour是一个由先进AI算法驱动的
办理健康证是许多行业从业者的必备步骤,流程本身虽不复杂,但准备材料时,一份规范的公司介绍信往往是关键。核心要求通常明确:由用人单位出具正式介绍信,并附上指定医疗机构出具的体检合格报告。然而,不少经办人员首次操作时,常对介绍信的具体格式和内容感到困惑。 实际上,健康证办理介绍信有通用的行文规范和必备要
Debian定时器与systemd服务深度集成指南 在Debian Linux系统中,systemd定时器已成为实现计划任务的核心工具。其强大之处在于能够与systemd生态系统中的各类服务、脚本及工具无缝集成,构建出高度灵活且稳定可靠的自动化任务调度体系。本文将深入解析几种主流的集成方案,帮助您充
compareToIgnoreCase方法的基本概念在Java编程语言中,字符串比较是常见的操作。String类提供了多种方法用于比较两个字符串的内容,其中`compareToIgnoreCase`是一个实用且重要的方法。与区分大小写的`compareTo`方法不同,`compareToIgnore





