Apple Pencil新专利解读:模拟真实笔触,提升书写手感
据IT之家3月11日消息,科技媒体AppleInsider昨日(3月10日)发布文章,通过查阅美国商标和专利局的公开清单,发现苹果公司获得一项Apple Pencil相关专利,该专利描述其具备“物理形变”能力。
免费影视、动漫、音乐、游戏、小说资源长期稳定更新! 👉 点此立即查看 👈
文章介绍,这项专利名为“具备可调特征的触控笔”,它将使Apple Pencil不再局限于单一的数字触控。通过灵活改变笔身的物理形态与内部结构,它可以精确模拟出钢笔、铅笔、粉笔、马克笔或毛笔等传统画材的真实握持感与书写手感。
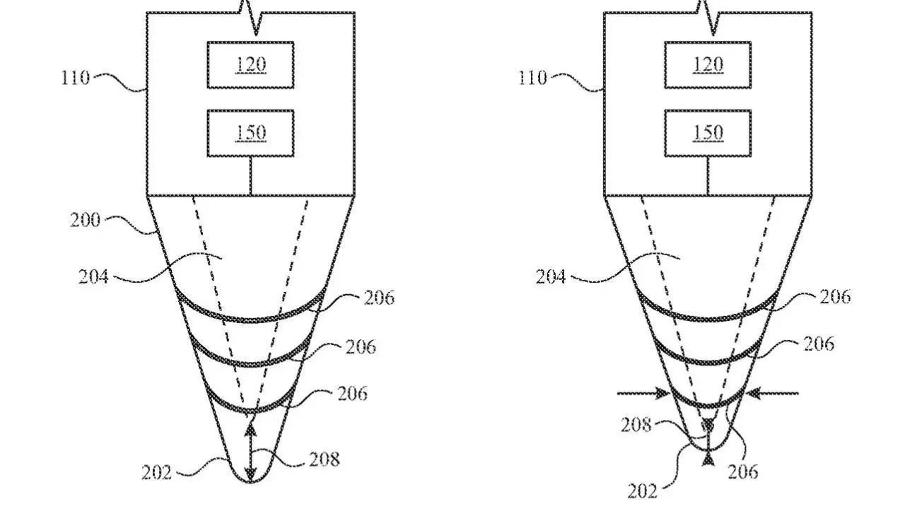
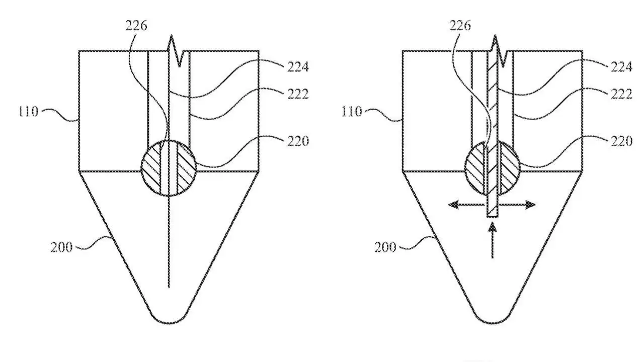
专利文件显示,为实现逼真的物理触感,苹果在触控笔内部引入了前沿材料与机械结构。具体而言,新一代Apple Pencil的笔尖外壳与刚性核心之间或填充一种“磁流变液”。
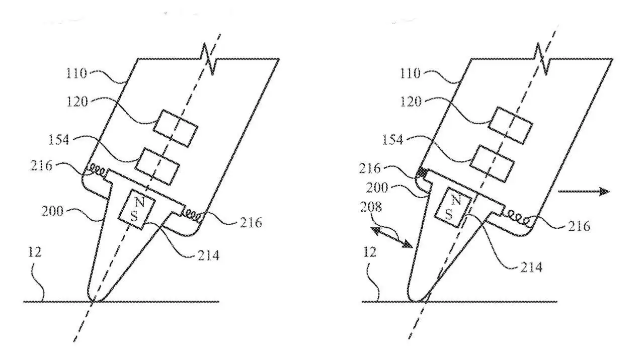
系统可通过电磁场实时改变该液体的粘度,从而动态调整笔尖的硬度、韧性与摩擦力。同时,笔身内部的微型元件支持定向移动,以此改变触控笔的重心和转动惯量,还原不同实体画笔的重量分布特性。
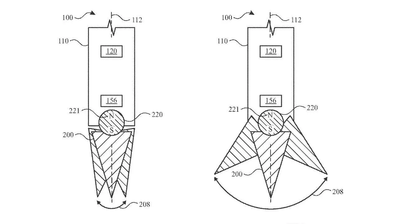
在外部形态方面,苹果在专利中明确表示,未来的笔尖不再局限于传统的固定圆锥体,而是能够根据当前任务动态改变其大小与形状。
专利草图还进一步展示了一项“分裂”功能:笔尖能够从单一触点展开为多个触点,直接在物理层面模拟真实毛笔的刷毛质感。此外,笔身表面或集成触控感应区,方便用户一键切换不同的画笔物理属性。
在生态适配层面,这款支持“物理变形”的Apple Pencil未来不仅将继续深度兼容iPad,甚至有望扩展至iPhone设备。
相关攻略
苹果正酝酿一款“可自定义”的Vision Pro,核心框架支持模块化拼装 一则来自供应链和专利领域的消息,引起了科技圈的关注。4月8日,有外媒报道指出,苹果似乎并不满足于当前的一体化设计思路,其正在深入探索如何打造一款高度可自定义的Apple Vision Pro。未来的VR AR头显,用户或许能像
苹果新专利曝光:未来Vision Pro可像乐高一样自定义? 近期,科技领域一项关于苹果Vision Pro头显的专利信息引发广泛关注。有消息指出,苹果公司正在研究一种创新的模块化设计方案,旨在让未来的Apple Vision Pro能够像“可自定义的积木套装”一样,允许用户根据实际使用场景,灵活更
雷达财经讯,天眼查知识产权信息显示,近日,宇树科技股份有限公司申请的“一种移动机器人”专利获授权,发明人为王兴兴、王凯。摘要显示,本发明提供的一种移动机器人,包括机身和广角激光雷达,所述机身形状为竖
人民财讯4月7日电,企查查APP显示,近日,北京中科宇航技术有限公司申请的“火箭远海发射方法及一体式海上发射船”专利获授权。该申请可在远海情况下多次发射、连续发射,对海上发射的周期大大缩减,进而降低
企查查APP显示,近日,北京中科宇航技术有限公司申请的“火箭远海发射方法及一体式海上发射船”专利获授权。专利摘要显示,本申请涉及火箭海上发射领域,尤其涉及一种火箭远海发射方法及一体式海上发射船,包括
热门专题
热门推荐
五四青年节祝福语大全(合集57条) 青春的热梦或许会褪色,但生命的活力从不设限。当一个人告别了年少轻狂,却依然能保持蓬勃的朝气,那么他正走向一个更为丰盈、更具收获的人生时节。以下这份祝福语合集,希望能为你传递真挚的心意,为值得祝福的人送上温暖的问候。 1 五月的风捎来节日的讯息,托清风为信使,将诚
青年节祝福语短句大全2026年(一) 青春无悔,这四个字里,藏着最初的爱恋,也映着那张不忧愁的脸。睁开眼,别仓惶;记住的,是那些相许终生的誓言。祝大家青年节快乐,年轻,本就该无极限。 要说无敌,什么比得过青春?要说甜蜜,什么赛得过爱情?梦想的美丽,你的神气,还有此刻我想你的心情——所有这些,都汇成一
五四青年节祝福语精选大全 说起五四青年节,总让人想起1919年那个不平凡的春天。那场以北京青年学生为先锋,最终汇聚了各界力量的爱国运动,早已成为追求进步、勇于担当的精神象征。在这个属于青春的日子里,送上真挚的祝福,或许就是最好的纪念。下面这份精心整理的祝福语大全,希望能为你传递心意,点亮活力。 五四
朋友,五四青年节到了,这里有一份精心整理的祝福语合集,希望能为你增添节日的色彩,传递真挚的问候。 2026五四青年节祝福语【一】 1 该学习时,就安安分分读完手边的书;该工作时,就认认真真做好分内的事。想伤心?那就痛快地伤心一场。想欢喜?那就尽情地欢喜一回。年轻,本就意味着无限可能!祝你五四青年节
想在狗狗币(DOGE)的每一次波动中抢占先机吗?瞬息万变的加密市场里,一个能提供实时、精准行情的工具,就是你的“信息雷达”。告别不断刷新网页的繁琐,拥有这款专业的狗狗币24小时价格K线App,你就能随时随地掌握DOGE对美元的最新动态,让每一次投资决策都建立在坚实的数据地基上,轻松成为市场中的信息领





