苹果新专利:iPhone Fold或实现屏下局部调光指纹识别

免费影视、动漫、音乐、游戏、小说资源长期稳定更新! 👉 点此立即查看 👈
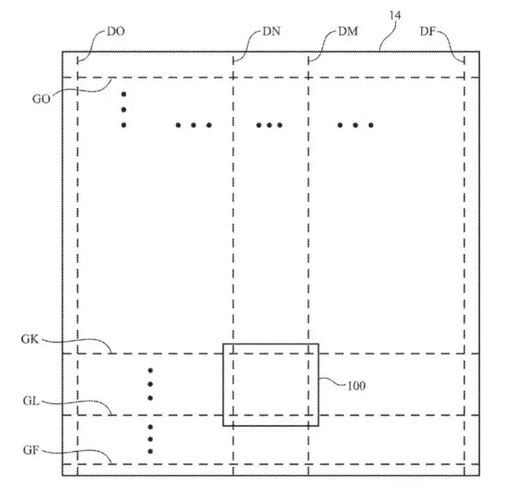
2026年2月11日,一项名为具备局部亮度调节功能的显示器专利获得授权。这项技术通过精准调控屏幕局部区域的像素发光强度,形成定向微光,用于照亮手指表面纹理,再由集成于屏幕下方的光学传感器接收反射光信号,从而实现指纹识别功能。
此项方案可能优先搭载于苹果计划推出的首款折叠屏手机iPhone Fold。由于该机型对机身厚度有严苛要求,传统结构难以容纳完整的Face ID模组,而此项显示与传感协同方案可有效规避空间限制,提供可行的替代识别路径。与此同时,苹果已于2025年7月提交面向Mac产品的Face ID相关专利申请,反映出其正系统性推进多平台、多模态生物识别技术的布局与演进。
热门专题
热门推荐
比特币强制平仓热图:揭秘市场流动性猎场的终极指南 2025年11月下旬,比特币价格剧烈波动,一度跌破91,000美元关键支撑。在短短24小时内,全网超过3 01亿美元的资金被强制清算,十余万交易者遭遇爆仓。这些清算事件并非随机分布,而是高度集中在特定的价格水平,形成了一场残酷的“流动性踩踏”。这一切
红色沙漠跃升之塔详细启动攻略 如何启动跃升之塔?当主线推进到第八章“面对内心的自我”时,这已成为推动剧情的关键挑战。整个过程更像是一次集平台跳跃与精密电路解谜于一体的沉浸式体验。本文将为你详尽解析这座神秘装置的完整启动流程与核心技巧。 一、启动前置条件 在启程探索之前,务必确认以下几项准备工作已完成
作为全球领先的数字资产交易平台之一,欧易(OKX)为用户提供了高效、安全的交易体验。然而,当你尝试登录欧易OKX(OKX)交易所时,系统会弹出提示:“请求超时,请稍后重试。”这类问题常让人困惑:网络明明正常、账号也没问题,为什么就是登录不了?这并不是账户故障,而是“访问路径”出现了问题。 简单来说,
珊瑚的化学成分究竟是什么?神奇海洋今日答案为你解析 欢迎来到每日海洋知识科普!今日我们一同探索海洋中的瑰丽建筑师——珊瑚。你是否好奇珊瑚的主要化学成分是什么?正确答案现已公布:碳酸钙。 事实上,珊瑚的本质是珊瑚虫分泌形成的坚硬骨骼,其核心化学构成正是碳酸钙。掌握这一知识点,不仅是答对题目的关键,更是
在数字化办公成为主流的今天,腾讯文档作为一款优秀的在线协作文档工具,极大地提升了团队效率。而将腾讯文档在线文档生成独立网页,能够进一步扩大文档的传播范围,实现无需登录即可公开访问,便于在各种场景下分享与展示。 将腾讯文档内容转化为网页的操作流程其实非常简单。首先,您需要在腾讯文档中打开您希望发布成网





