黄光裕2.23亿股权被冻结,国美转型五年仍陷困局
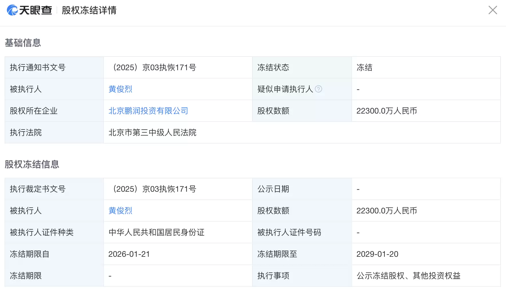
从天眼查获悉,近日黄光裕(黄俊烈)名下新增一则股权冻结信息,涉及企业为北京鹏润投资有限公司,被冻结股权金额高达2.23亿元人民币,冻结期限自2026年1月21日起至2029年1月20日止,执行法院为北京市第三中级人民法院。
免费影视、动漫、音乐、游戏、小说资源长期稳定更新! 👉 点此立即查看 👈

北京鹏润投资有限公司成立于1997年,注册资本2.7亿元,由黄光裕与北京英格润美咨询有限公司共同持股。该公司是国美系资本运作的核心平台,曾主导国美零售以及中关村等上市公司的资本整合,业务还涉足新能源、地产等多个领域,并持有北京国美氢能科技有限公司80%的股权。

值得注意的是,黄光裕旗下的核心资产此前已多次遭遇冻结,这意味着其资本运作的空间正进一步受限。
2024年2月,黄光裕控制的国美零售附属公司股权被冻结,涉及股权金额总计超过5.9亿元人民币,冻结期限自2024年2月16日起至2026年2月16日止。当时国美零售回应称,冻结不会对公司财务状况和经营产生重大影响。同年5月,国美零售有限公司的股权又被广州市天河区人民法院冻结,冻结金额为5504万余元。
而在2025年10月,中关村(国美系A股核心平台)发布公告称,控股股东国美控股集团有限公司及一致行动人国美电器有限公司持有的部分股份被延长司法冻结期限,另有部分股份轮候冻结生效。截至2025年10月,国美控股与国美电器合计持有中关村31.35%的股份,其中超过七成(占总股份22.96%)处于冻结或轮候冻结状态。

国美曾是中国家电零售行业的龙头企业。自2024年黄光裕正式回归后,该公司便开启了一系列转型尝试,从发力线上新零售,到布局社区团购、探索家电租赁,再到尝试直播带货、进军即时零售、涉足汽车销售和氢能市场等,转型方向覆盖线上线下多个领域。然而,多次业务调整均未形成稳定的盈利模式,转型效果未能达到市场预期。
目前,国美仍维持着核心的家电零售主业运作,线下核心门店仍在正常经营,线上国美APP也保持着商品销售与服务功能的基本运行。但整体业务规模较行业巅峰时期已大幅收缩,经营状况持续恶化。
根据国美零售2024年年报,公司全年实现营收4.74亿元,同比下滑26.7%;亏损规模进一步扩大至116.29亿元,较2024年增长15.63%。
资本市场对国美的转型反应冷淡。国美零售股价长期徘徊在0.1-0.3港元区间,2025年累计跌幅达67%,市值较2015年巅峰时期缩水超过90%。
截至今日港股收盘,国美股价报收0.016港元,总市值仅为7.66亿港元。
相关攻略
2月27日,北京石头世纪科技股份有限公司(下称“石头科技”)发布2025年度业绩快报,核心财务数据呈现营收大幅高增、利润显著下滑的分化态势,表明公司在市场规模持续扩张的同时,盈利端现阶段性承压。财报
2月24日,据报道,日本电子巨头松下控股正式宣布,2026年4月起将北美和欧洲市场的电视销售业务全面移交至中国家电制造商创维集团,自身则聚焦日本本土市场销售及高端机型研发生产。据悉,松下已与创维签署
从天眼查 获悉,近日,黄光裕(黄俊烈)新增一则股权冻结信息,股权所在企业为北京鹏润投资有限公司,冻结股权数额2 23亿人民币,冻结期限自2026年1月21日至2029年1月20日,执行法院为北京市第
近日,格力电器市场总监朱磊在微博公开喊话创维集团,指责其空调宣传海报涉嫌抄袭。配图对比显示,两张空调海报在构图、配色、文案排版及核心零部件效果图等多个维度高度相似,仅更换品牌Logo和部分产品细节。
1月4日晚间,ST易购(002024 SZ)发布《关于股东重整计划获得法院批准的提示性公告》。公告称,近日公司收到股东苏宁电器集团有限公司、苏宁控股集团有限公司发来的《告知函》,前述股东收到江苏省南
热门专题
热门推荐
尽管相隔万&里,那份对家人的牵挂,却总能穿越时空。从前是纸短情长的家书,如今是即达的讯息,内核从未改变。下面这份关于《傅雷家书》的阅读感悟,或许能带来一些共鸣与思考。 假期初中生傅雷家书读后感(一) 傅雷先生,作为我国著名的翻译家与文艺评论家,其学识之渊博、思想之睿智、人格之正直,历来为世人所称道。
朴素的文字往往承载着最真挚的情感,读完《呼兰河传》这部经典,相信你也会有同感。好的作品值得细细品读,下面分享几篇初中生的读后感范文,希望能为你带来一些启发。 初中生呼兰河传读后感范文2026(一) 合上《呼兰河传》,思绪却久久没有平息。这本书讲述了萧红童年时与祖父相处的点滴,语言算不得华丽,但正是这
2026初中生鲁滨逊漂流记读后感(一) 书籍,常被比作知识的海洋与智慧的翅膀。去年假期,我沉浸于多部作品之中,而《鲁滨逊漂流记》带来的启发尤为深刻。 这部由英国小说家笛福创作的经典,讲述了一个名叫鲁滨逊的年轻人的故事。他怀着致富的梦想出海冒险,却不幸遭遇海难,被海浪冲上一座荒岛。登岛之初,他身上的物
初中生简爱读后感700字(一) 翻开这部英国文学巨匠夏洛蒂·勃朗特的代表作,《简·爱》不仅是一部小说,更是一部关于女性独立与尊严的成长史诗。故事以主人公简·爱的一生为主线,深刻描绘了她如何在逆境中坚守自我、勇敢追寻平等与真爱的动人历程。 简·爱自幼父母双亡,寄居在刻薄的舅妈里德太太家中,饱尝寄人篱下
初中生简爱读后感范文2026(一) 轻轻翻开《简爱》的书页,一阵微风恰好拂过,带来了若有似无的墨香。那感觉,像是一场与文学经典不期而遇的邂逅,瞬间将人引入那个充满抗争与尊严的世界。 那个午后,我正于窗边小憩,风却像一只无形的手,将我引向了书架。说来也怪,这本经典名著仿佛自有魔力,让人忍不住捧起,沉浸





