谷歌Pixel 11 Pro Fold折叠屏电池专利:有望取消凝胶粘合固定
1月15日消息,长期以来,折叠屏手机在维修便利性上口碑不佳,谷歌自家的Pixel Fold系列也不例外。以Pixel 10 Pro Fold为例,其电池直接采用胶水固定,虽然提供了易拉条辅助拆卸,但对于普通用户而言,操作不当仍有可能“大力出奇迹”,导致手机损坏。
免费影视、动漫、音乐、游戏、小说资源长期稳定更新! 👉 点此立即查看 👈
而根据消息源披露,谷歌目前已悄然申请了一项折叠屏手机专利,文件显示,未来的谷歌Pixel 11 Pro Fold有望调整电池结构设计,使其更便于更换。
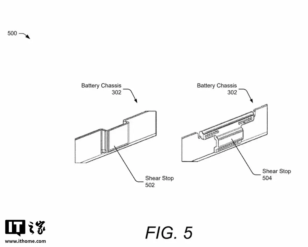
专利文件显示,Pixel 11 Pro Fold的电池可能不再通过胶水粘合,而是采用机械结构进行固定。具体来说,电池将被滑入一个定制形状的仓位中,通过金属结构和固定部件进行锁定,从而实现稳固安装。


专利中还提到,承载电池的机身结构采用金属材质,有助于电池接地,并通过限位结构防止电池在机身内部发生位移或扭转。同时,该设计仍为无线充电预留了空间,这意味着即便更换为可拆卸电池结构,也不会牺牲无线充电功能。
当然,需要注意的是,目前相应设计仅停留在专利阶段,并不意味着谷歌一定会将该设计应用到最终量产的Pixel 11 Pro Fold上。专利有可能是技术储备,也可能在测试后被放弃。
热门专题
热门推荐
微软调整XGP战略:降价与《使命召唤》延期入库的背后 最近游戏圈有个大消息:微软宣布下调Xbox Game Pass Ultimate和PC Game Pass的月度订阅价格。具体来看,Ultimate档位从每月29 99美元降到了22 99美元,PC Game Pass则从16 49美元降至13
2026年,Xbox新掌门的第一把火:Game Pass要变“自助餐”了 2026年2月,阿莎·夏尔马接棒菲尔·斯宾塞,成为Xbox的新任CEO。这位新官上任,动作可谓雷厉风行。就在昨天,她点燃了第一把火:Xbox Game Pass Ultimate的月费,从29 99美元直接降到了22 99美元
当明星演员想开游戏工作室:资深同行为何直言“别这么做”? 最近,游戏圈里发生了一场有趣的隔空对话。为《最后生还者》《死亡搁浅》等大作献声的知名演员特洛伊·贝克,在采访中透露了一个雄心勃勃的计划:他想创立自己的游戏工作室,去讲述“自己的故事”。他甚至提到,自己的灵感来源之一,正是曾为《刺客信条:起源》
Steam新款手柄评测视频意外流出,定价信息同步曝光 游戏硬件圈最近有个不大不小的“意外”。根据海外多个科技消息源的报道,Valve即将推出的新款Steam Controller手柄,其评测视频竟然提前在网上泄露了。更关键的是,视频里还直接公布了这款产品的售价:99美元。 事情是这样的:一个名为“T
此前,外网消息源透露,目前PlayStation在PS4和PS5的数字版游戏中加入了DRM验证(正版在线验证)机制。 前情提要>> 简单来说,这个新机制的效果是这样的:从今往后,如果你通过数字商店购买新游戏,那么主机就必须定期连接到PSN网络进行正版验证。具体规则是,如果主机连续超过30天处于离线状





