折叠屏iPhone将至:苹果如何攻克折痕难题?
三星、谷歌等品牌的折叠屏手机上市已有数年,科技界始终在关注苹果何时会加入这一市场。根据一篇综合报道,尽管苹果最新仍未发布任何声明,但多项分析师预测和专利信息表明,折叠屏iPhone的推出可能已不再遥远。
免费影视、动漫、音乐、游戏、小说资源长期稳定更新! 👉 点此立即查看 👈
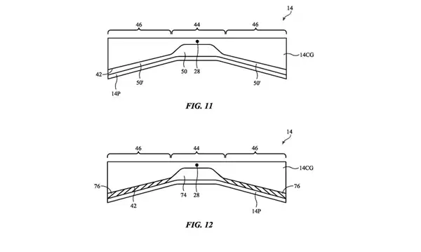
报道指出,一项关键的证据是苹果在2024年7月16日获得的一项专利。这项名为“电子设备与耐用折叠显示屏”的专利最初于2024年11月提交。
专利文件描述了一种保护屏幕的铰链设计:当设备跌落时,显示屏幕会“围绕弯曲轴轻微折叠”,让设备边缘先着地,从而保护脆弱的内屏。这证实了苹果在折叠屏技术上的长期研发。

关于产品形态,目前传闻主要指向两种设计:
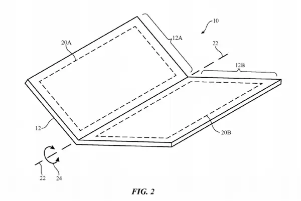
书本式折叠:根据知名分析师郭明錤的预测,这类设备可能配备一块7.8英寸的无折痕内屏和一块5.5英寸的外屏。折叠时厚度约为9-9.5毫米,展开后为4.5-4.8毫米。设备可能配备前置摄像头和双后置摄像头。

翻盖式折叠:另有信息称,苹果可能优先开发类似三星GalaxyZ Flip的翻盖式设备,旨在打造比现有iPhone薄一半的机型。郭明錤预测,为了追求轻薄,折叠屏iPhone可能会舍弃Face ID,转而采用集成在侧边按钮的Touch ID进行生物识别。
在价格方面,郭明錤估计折叠屏iPhone的售价将在2000至2500美元之间,与市面上其他高端折叠屏设备持平。他预测其出货量可达300万至500万台。
至于发布时间,各方预测存在分歧:郭明錤曾预测苹果最早可能在2026年底发布一款无折痕的折叠屏设备。然而市场分析机构TrendForce的估计则更为保守,他们认为由于苹果对可靠性和消除屏幕折痕有着严格要求,其折叠屏产品的发布可能会推迟到2027年。
报道回顾,关于折叠屏iPhone的传闻已流传多年,预测的发布日期从2024年一路推迟,因此最终的发布时间仍存在不确定性。

除了手机,报道还提及苹果可能正在开发一款折叠屏iPad。该设备据称将配备约8英寸的显示屏(接近iPad Mini的大小)。由于不需要像手机那样放入口袋,其对耐用性和厚度的要求可能相对宽松一些。
总而言之,虽然万众期待的折叠屏iPhone尚未得到苹果最终确认,但持续的专利活动和分析师报告都强烈预示着苹果正在积极筹备其折叠屏产品线,消费者或许在不久的将来就能看到结果。
编辑点评:
折叠屏iPhone的传闻始终停留在分析师观点中,折射出苹果对技术极致的苛求。若其真能实现无折痕突破,或将重新定义折叠体验。但一切悬念,仍待苹果自己揭晓。

相关攻略
苹果AirPods Max 2深度拆解:熟悉的配方,不变的“维修之墙” 近日,知名维修机构iFixit发布了一段备受关注的视频,他们终于对苹果新款高端头戴耳机AirPods Max 2“动了手”。拆解结果多少有些令人意外:新耳机在核心架构上,几乎就是初代产品的“复刻版”。 附上相关拆解视频如下: i
苹果公司历史档案首次公开:揭秘历代经典产品背后不为人知的研发历程 为庆祝品牌成立50周年,苹果公司近期做出了一项特别举措:首席执行官蒂姆·库克首次对公司外的访问者开放了内部历史档案库,并展示了一批从未对外公布过的珍贵历史文件与实物原型。 此次档案公开本身传递出一个清晰的信号。库克在现场强调的核心观点
iPhone 18 Pro系列前瞻:设计、芯片与影像的确定性升级 进入下半年,科技圈的聚光灯,无疑将再次聚焦于苹果的年度旗舰。最新信息显示,iPhone 18 Pro系列的节奏已然清晰:计划于7月启动量产,并在9月如期亮相。与时间表一同明确的,是新机在配色、外观与核心硬件上将迎来的一系列关键调整。
苹果健身技术副总裁杰伊·布拉尼克将于7月退休,为其13年苹果生涯画上句号 据科技媒体最新报道,苹果公司的健身技术副总裁杰伊·布拉尼克将于今年7月正式退休,结束其在苹果长达十三年的职业旅程。 作为苹果健康业务的核心奠基人之一,杰伊·布拉尼克在2013年加入苹果后,深度塑造了公司多项标志性健康功能。他主
苹果创始人乔布斯1994年罕见访谈揭秘:那些创造世界的人,真的比你聪明吗? 2024年适逢苹果公司成立五十周年,一段尘封已久的珍贵影像重回大众视野。科技媒体9to5Mac近日披露了一段拍摄于1994年的乔布斯访谈短片,短短一分多钟的内容,却因其深刻的见解在三十年后再度引爆科技圈与创业界的讨论。 相关
热门专题
热门推荐
《和平精英》战斗军犬全方位使用指南:从特性解析到实战精通 在《和平精英》中选用战斗军犬作为战术伙伴,首先需要深入理解其核心特性与定位。军犬堪称战场的“生物侦察系统”,其卓越的追踪与索敌能力,能为你精准捕捉敌人的足迹与动向。自跳伞开始,你的战术规划就应将军犬纳入其中——预先评估落点周边的地形与建筑布局
《无限轮回》主线第三章红妆阁全攻略:地图、怪物与关键线索全解析 各位探索者,你是否正因《无限轮回》主线第三章“红妆阁”的复杂谜题与强敌而止步不前?无需焦虑,这份详尽的全流程通关攻略将为你层层剖析。从精细地图解析到怪物机制拆解,再到核心藏品与剧情线索的位置说明,所有关键信息一网打尽。阅读本文后,你将获
死亡搁浅2发明家岛屿前往方法路线全攻略 在《死亡搁浅2》的宏大世界中,发明家岛屿是一个充满机遇与秘密的重要地点。它如同地图上的一颗明珠,吸引着玩家前往探索。然而抵达之路并非一帆风顺,需要策略与准备。这份指南将为你详细解析前往发明家岛屿的完整流程与要点。 推进主线剧情,解锁关键任务节点 前往发明家岛屿
远光84梅歇尔高手进阶:全面玩法技巧与实战教学 许多《远光84》的玩家都想知道,游戏中的强力角色梅歇尔究竟该如何驾驭?本篇攻略将为你深度解析她的核心玩法与实战技巧,助你从入门到精通,充分发挥这位角色的战场统治力。 远光84梅歇尔深度技巧攻略: 技能释放的精髓 梅歇尔的技能组合兼具灵活性与高额伤害,掌
如何在《明日方舟:终末地》中为洛茜搭配武器:提升输出循环与技能收益的关键攻略 各位博士,大家好。在《明日方舟:终末地》中,六星近卫干员洛茜凭借独特的物火混伤与破防叠加机制,成为了战场上的关键角色。她的武器选择,不仅直接影响输出手感的流畅度,更决定了技能加成的最终上限。本文将为您提供一套详尽的洛茜武器





