HashKey交易所是什么?香港持牌平台全介绍
HashKey Exchange 总部位于香港,是香港首家获得牌照的加密货币交易所。该交易所以其先进的安全功能和用户友好的介面而闻名,主要面向香港散户、机构客户以及周边市场,台湾用户也可注册使用(Global 版)。
最安全的虚拟币交易平台推荐:
- OKX(欧易交易所)>>>进入官网<<< >>>官方下载<<<
- Binance(币安交易所)>>>进入官网<<< >>>官方下载<<<
那么,HashKey 交易所是什么?安全吗?以下我们将对该交易所的功能及安全性进行介绍分析。
HashKey 交易所介绍
| HashKey 加密货币交易所 | |
| 成立年份 | 2018 年(2023年上线) |
| 总部 | 香港 |
| 支援加密货币 | 20+ |
| 台湾是否可用 | 是 |
| 存款方式 | 电汇、信用卡 |
| 交易费用 |
|
| 优点 | 使用者友善的介面; 安全性高; 闪电般快速的交易。 |
| 缺点 | 有限的加密货币选择; 仅有现货交易; 流动性担忧。 |
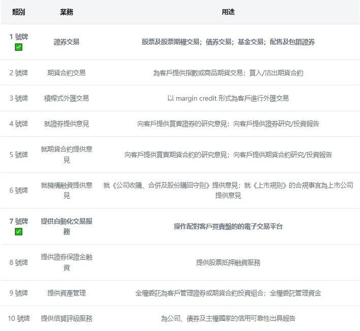
Hashkey 交易所是Hashkey Group 旗下的一间虚拟货币交易所。 HashKey Group 已获得香港证·监·会颁发的两张牌照——1 号牌照(证券交易)和7 号牌照(自动化交易),允许该公司交易证券代币并提供自动交易服务。
HashKey 并不是一家全新的交易所,该公司成立于2018 年,在获得牌照前,主要为专业投资者和企业提供虚拟货币交易服务。在2023 年8 月获得牌照后,该交易所才提供散户投资。
凭借用户友好的介面、闪电般的交易速度和先进的图表工具和分析功能,HashKey 交易所为加密货币领域的初学者和经验丰富的交易者提供无缝体验。
HashKey 交易所安全吗?
在开始使用HashKey 交易所前,一个重点是,HashKey 安全吗?是否为zp?接下来,我们将从HashKey 背景、合法性以及安全措施三个方面来分析该交易所的安全性。
1.HashKey 交易所背景
HashKey 交易所和HashKey Global 交易所都是Hashkey Group 旗下的交易平台, Hashkey Group 是一家专门提供虚拟货币服务的公司,提供多种区块链服务,包括交易所、NFT、创投、节点服务等,覆盖范围十分广。
该公司的董事长兼执行总裁是肖风,而虚拟货币交易所业务负责人是翁晓奇(Livio Weng)。翁晓奇曾担任火币全球交易所的CEO 和借贷宝的副总裁,在加密货币业务上经验非常丰富。
2.HashKey 合法性
如上文所述,HashKey 交易所是香港少数持有牌照的加密货币交易所之一,除了获得1 类和7 类牌照外,它还持有香港公司册处颁发的信托或公司服务提供者(TCSP )牌照。
而HashKey Global 也已获得百慕达金融管理局(BMA)颁发的数位资产投资者保护制度全面许可牌照,提供LaunchPad、合约、杠杆等主流交易和服务产品。
百慕大是全球最大的离岸金融和再保险中心之一,详情请查看。
3.HashKey 的安全措施
从平台安全性来看,该公司将客户资金独立存放,两个虚拟货币交易所之间的运营有效分隔,并受机构托管级保险保护。它还接受四大会计师事务所的审计与合规检查,全面遵守各项监管规定。
此外,HashKey 提供两家交易所的储备资产数量,您可以在Coinmarketcap 上查看:
- https://coinmarketcap.com/zh-tw/exchanges/hashkey-exchange/
- https://coinmarketcap.com/zh-tw/exchanges/hashkey-global/
从这一点上来看,用户使用起来也比较安心。不过, Hashkey 的储备证明更新并没有那么的频繁和及时,透明度相对较低。
4.HashKey 评价
总的来说,Hashkey 交易所背靠Hashkey Group 集团,且已经经营多年,安全性还是比较高的。不过,我们并不能保证哪个交易所是绝对安全的,建议您不要将资金集中在一个交易所中,这样可以很大程度降低交易所出现风险带来的影响。
HashKey 交易所开户教学
最后,我们将简单介绍HashKey 交易所的开户步骤:
- 前往HashKey 交易所网站;
- 点击右上角的「注册」按钮;
- 输入您的电子邮件地址并建立安全密码;
- 点击发送到您收件匣的连结来验证您的电子邮件;
- 透过提供必要的身份证明文件来完成KYC 流程;
- 设定两因素身份验证以提高安全性;
- 恭喜!您的HashKey Exchange 帐户现已启动并准备进行交易。
详细HashKey 开户、出入金教学我们将在下一篇文章进行介绍。
Hashkey 交易手续费
最后,让我们来看看Hashkey 交易手续费。
目前Hashkey 普通用户的交易手续费率为Maker:0.12% / Taker:0.12%。不过,随着等级的提升,费率有有所变化,挂单费最低可达0%。
如果您拥有Hashkey 交易所平台币$HSK,则可以享受更多的交易手续费折扣。
Hashkey 入金不需手续费,但出金费用会根据具体币种而定,最新情况请参考 Hashkey Global 费率结构说明。
相关攻略
香港交易所HashKey是什么?HashKey是香港首家获得加密货币牌照的虚拟资产交易所,旗下业务覆盖加密货币交易平台、区块链、Web3 0等数位资产和区块链生态系统,为机构和合格投资人提供服务,本文将为大家详细介绍HashKey交易所
HashKey Exchange 总部位于香港,是香港首家获得牌照的加密货币交易所,该交易所以其先进的安全功能和用户友好的介面而闻名,主要面向香港散户、机构客户以及周边市场,台湾用户也可注册使用(Global 版),本文将为大家详解Hashkey交易所新手开户、出金、入金教学
HSK是HashKey平台推出的代币,作为HashKey平台的核心币种,持有者可以享受该交易所内的一系列优惠和特权,本文将为大家详细介绍HashKey交易所平台币$HSK,并详细分析HSK币未来潜力价值,有需要的可以参考一下
热门专题
热门推荐
过去24小时全球主要交易所比特币流向分化明显,整体净流出5740 82枚。其中CoinbasePro流出约5457枚,币安、Gemini分别流出1023枚和504枚;而OKX则逆势录得约530枚净流入。
《魔力宝贝》中“狗洞”即“奇怪的洞窟”,位于亚留特村西南方向黄色传送石处,是12至20级玩家高效练级地点。前往路线为:从法兰城至伊尔村,向北进入哈巴鲁东边洞窟击败“熊男”,穿越后抵达亚留特村,再向西南探索即可找到入口。洞内怪物等级较高,建议携带“风地”属性水晶提升生存能力。
时隔七年,贾跃亭以CEO身份重掌法拉第未来(FF)帅印,并成功为公司注入了关键的发展动力。近期,FF累计完成了高达7000万美元的机构融资。这笔至关重要的资金,被贾跃亭定位为驱动公司机器人业务实现第一阶段战略目标的“核心粮草”。 随着资金与团队就位,贾跃亭的信心显著增强。他公开立下目标:将用两年时间
任务需修复两条水道。首先跟随指引找到NPC并进入幻境,使用号角对准壁画激活飞鸟幻影,触碰并跟随其路径即可修复第一条水道。第二条水道位于洞xue内,跟随萤火虫找到入口,重复使用号角并借助弹跳水母到达高处,跟随飞鸟完成修复。完成后可获得奖励并推进剧情。







