保时捷新专利:轴向磁通电机让混动车型更轻更强
11月12日消息,轴磁电机作为一项新兴驱动技术,正在成为高性能混合动力系统的新焦点。凭借轻量化设计、紧凑结构和高功率输出的优势,法拉利和兰博基尼已在部分最新车型中率先应用这一技术。据外媒motor1今日报道,保时捷也可能紧随其后。

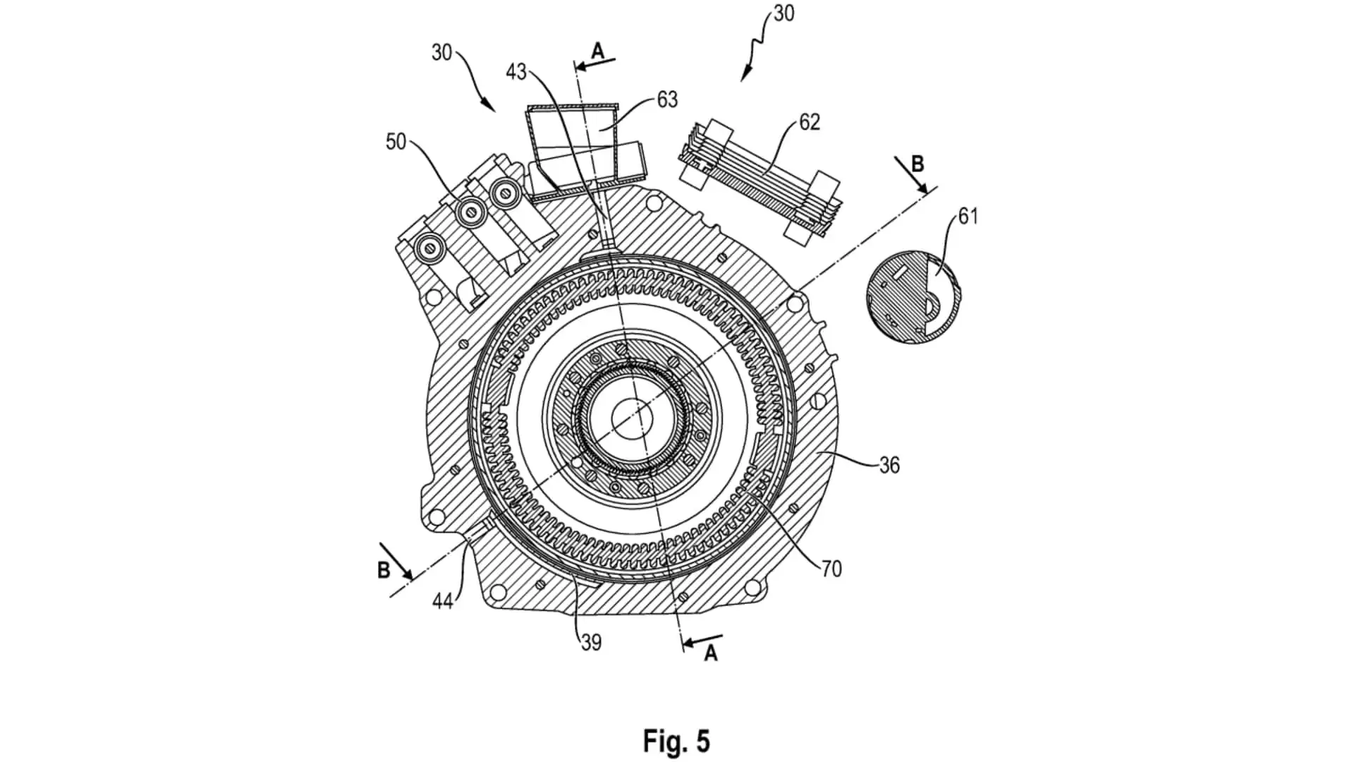
根据提交给世界知识产权组织的专利文件显示,保时捷正在研发一套混合动力系统,将采用供应商Yasa提供的紧凑型轴磁电机与燃油发动机相结合。这项专利覆盖所有乘用车型,同时明确指出了"跑车"应用场景。
这一设计思路非常直观。相比911 Carrera GTS中传统的径向磁通电机,轴磁电机的厚度薄如盘片,可以直接安装在发动机与变速箱之间,巧妙嵌入双质量飞轮组件内部。
电机与燃油发动机通过双离合变速箱协同工作。得益于超薄电机设计,动力总成长度几乎不会增加,也意味着发动机与电机仍可保持在驾驶员身后而不影响布局。值得一提的是,部分应用中的电机厚度仅7.87厘米。


专利显示,这套系统既适用于中置发动机,也适用于后置发动机。发动机需纵向布置,并与横置双离合变速箱配合。目前尚未清楚该布局是否兼容手动变速箱,但仍存期待空间。
设计上,这套方案还能有效降低热量产生。专利提到,当电机与燃油发动机结合"杯状或钟形"透气腔时,两者都能获得充足冷却。

Yasa的紧凑型电机性能惊人,其最强单台电机可输出超过470马力和800牛·米的扭矩。据了解,法拉利SF90的三台Yasa电机合计输出217马力,兰博基尼Revuelto的两台电机输出略低于296马力。但这两款车型均搭载强劲V8或V12发动机,总功率均超过1000马力。
若保时捷在未来量产车上采用这一技术,性能表现可能会令人震撼。当前911 Carrera GTS的电机会独输出约54马力和149牛·米,与水平对置六缸发动机配合后,总系统输出为532马力和609牛·米。
假如保时捷将新型轴磁电机与涡轮增压3.6升发动机结合,综合输出可能突破800甚至900马力,具体取决于车型。报道指出,这一功率水平非常适合GT2、GT3乃至传说中的超跑车型。
相关攻略
保时捷近期提交新专利,研发全新风冷系统。该系统将发动机封装于封闭壳体内,利用定向气流为发动机、散热器等多部件散热,热空气统一从车尾排出。设计旨在减少传统散热器数量,降低空间占用与空气阻力,提升性能车效率。外部散热鳍片保留经典机械美感。
5月初,汽车行业传来一则值得玩味的消息。面对中国车企的强势崛起与自身销量的连年下滑,保时捷中国CEO潘励驰在近期的一次采访中,坦诚分享了其对当前市场的观察。 他并不讳言市场环境的严峻性,整个汽车行业,尤其是高端领域,正经历着一场深刻的范式转移。然而,这番表态并未透露出战略上的摇摆,反而更清晰地勾勒出
当顶级的声学艺术,与顶级的座驾、顶级的男士奢品相遇,会碰撞出怎样的火花?近日,在上海南京西路,一场关于品位、审美与生活方式的高端对话,就在这样的静谧氛围中拉开了帷幕。 英国殿堂级音响品牌宝华韦健(Bowers & Wilkins),携其旗舰无线降噪头戴耳机Px8 S2的两款全新配色——藏金蓝与晴漪蓝
保时捷高管在行业论坛谈及设计被广泛模仿的现象,坦言感到荣幸又复杂。她认为模仿设计语言容易,但品牌背后的哲学、工程理念与文化灵魂难以被替代。随着新能源汽车竞争白热化,外观趋同明显。保时捷呼吁品牌应超越表层模仿,构建独特产品底蕴与灵魂以实现长远差异化。
曾几何时,保时捷在中国市场是“硬通货”的代名词,一车难求、加价提车是常态。然而,这个持续多年的市场神话,如今正以肉眼可见的速度加速破灭。 近日,保时捷最新发布的2026年第一季度全球交付数据,如同一颗深水冲击波,在行业内引发了剧烈震荡。数据显示,保时捷一季度全球交付量仅为6 1万辆,同比下滑15%。
热门专题
热门推荐
在追求极致效率的现代软件开发中,一款名为Cursor的AI代码编辑器正引领着开发范式的变革。它被定义为“面向未来的IDE”,其核心理念清晰而有力:将人工智能深度无缝地集成到编码工作流的每一个步骤,为开发者创造一种前所未有的“AI结对编程”体验。 Cursor sh应用场景 那么,这款AI驱动的编辑器
在众多AI图像生成工具中,WHEE凭借其精准的产品定位与持续的功能迭代,正成为越来越多设计师和内容创作者的首选工具。它专注于打造高品质的AI视觉素材生成器,核心使命就是帮助用户快速、高效地获得可直接使用的优质图片素材。 那么,这款AI绘图工具究竟有哪些核心优势?下面我们从其关键特性与功能设计进行深入
在AI绘画工具不断涌现的当下,一款名为NightCafe Creator的应用以其全面的AI艺术生成能力脱颖而出。它不仅是一个简单的图片处理工具,更是一个融合了多种前沿人工智能技术的创意平台,帮助用户轻松实现从构思到成品的艺术创作。 NightCafe Creator是什么? NightCafe C
近期加密货币市场受到宏观经济不确定性及流动性紧缩影响,比特币(BTC)、以太坊(ETH)以及多种山寨币出现明显下行走势,市场情绪趋于谨慎。 比特币近期走势分析 比特币的价格近期表现如何?简单来说,它跌破了几个市场公认的关键支撑位,而且伴随交易量的放大。这种放量下跌的信号,往往意味着多空分歧加剧。无论
蔡司宣布将于6月2日发布一款新镜头,并称其为镜头技术的重大突破,标志着全新纪元的开启。官方仅公布了产品剪影,但措辞暗示其可能带来根本性的技术升级,例如全新光学结构、先进镀膜或对焦系统改进。具体细节需待发布日揭晓。





