保时捷新专利曝光:轴向磁通电机加持,混动跑车性能新飞跃
在高性能混合动力系统的赛道上,轴向磁通电机正以新星之姿冉冉升起。这项以轻量化、紧凑结构与强劲功率输出为特色的新兴技术,已被法拉利和兰博基尼率先应用于部分最新车型中。如今,保时捷也展现出对这一技术的浓厚兴趣,或将在未来车型中跟进布局。
免费影视、动漫、音乐、游戏、小说资源长期稳定更新! 👉 点此立即查看 👈

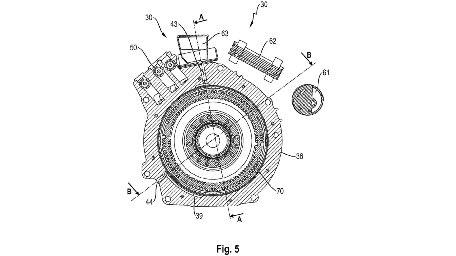
根据世界知识产权组织披露的专利信息,保时捷正在研发一套创新型混合动力系统,其核心是将供应商Yasa提供的小型轻量化轴向磁通电机与燃油发动机相结合。该专利不仅覆盖所有乘用车领域,还特别强调了"跑车"这一关键应用场景,暗示保时捷或将在跑车产品线中率先落地这一技术。
与传统的径向磁通电机相比,轴向磁通电机的设计优势尤为显著。以保时捷911 Carrera GTS搭载的径向磁通电机为参照,轴向磁通电机薄如盘片,厚度仅7.87厘米(部分应用场景)。这种超薄结构使其能够直接安装在发动机与变速箱之间,甚至可以嵌入双质量飞轮组件内部,几乎不增加动力总成的长度。这意味着发动机与电机仍可保持在驾驶员身后,维持经典的中后置布局,无需因电机加入而重新设计车身结构。
在动力协同方面,该系统通过双离合变速箱实现电机与燃油发动机的高效配合。Yasa电机的性能数据尤为亮眼:其单台电机最大输出功率超过470马力,峰值扭矩达800牛·米。作为对比,法拉利SF90搭载的三台Yasa电机合计输出217马力,兰博基尼Revuelto的两台电机输出略低于296马力,但这两款车型均配备V8或V12发动机,总功率均突破1000马力,凸显了轴向磁通电机在混合动力系统中的补充作用。
保时捷现有车型的动力数据可作为参考:当前911 Carrera GTS的电机单独输出约54马力和149牛·米,与水平对置六缸发动机配合后,总系统输出为532马力和609牛·米。若未来量产车采用新型轴向磁通电机,性能提升空间巨大。例如,若与涡轮增压3.6升发动机结合,综合输出可能突破800甚至900马力,这一功率水平恰好契合保时捷GT2、GT3系列乃至传闻中的旗舰超跑定位。

专利还揭示了该系统的另一设计亮点——散热优化。当电机与燃油发动机结合"杯状或钟形"透气腔时,两者均可获得充足冷却,有效降低热量积聚风险。该系统兼容性广泛,既适用于中置发动机布局,也适用于后置发动机布局,但需发动机纵向布置并与横置双离合变速箱配合。尽管目前尚不明确是否支持手动变速箱,但这一可能性仍为性能爱好者留下了想象空间。
热门专题
热门推荐
加密货币行业翘首以盼的监管里程碑,终于有了实质性进展。美国证券交易委员会(SEC)主席保罗·阿特金斯(Paul Atkins)近日证实,那份允许加密项目在早期获得注册豁免权的“安全港”框架提案,已经正式送抵白宫,进入了最终审查阶段。 在范德堡大学与区块链协会联合举办的数字资产峰会上,阿特金斯透露了这
微策略Strategy报告:第一季录得144 6亿美元浮亏 再斥资约3 3亿美元买进4871枚比特币 市场震荡的威力有多大?看看Strategy的最新季报就明白了。根据其最新向美国证管会(SEC)提交的8-K报告,受市场剧烈波动影响,这家公司所持的比特币在第一季度录得了一笔惊人的数字——144 6亿
稳定币巨头Tether的动向,向来是加密世界的风向标。这不,它向Web3基础设施的版图扩张,又迈出了关键一步。公司执行长Paolo Ardoino在社交平台X上透露,其工程团队正在全力“烹制”一个新项目——去中心化搜索引擎 “Hypersearch”。这个消息一出,立刻引发了行业的广泛猜想。 采用D
基地位于Coinbase旗下以太坊Layer2网络Base的Seamless Protocol,日前正式宣告了服务的终结。这个曾经吸引了超过20万用户的原生DeFi借贷协议,在运营不到三年后,终究没能跑赢时间。它主打的核心产品是Integrated Leverage Markets(ILMs)——一
PAAL代币揭秘:深度解析Web3社区治理的核心钥匙 在去中心化自治组织的浪潮中,谁真正掌握了项目的话语权?PAAL代币提供了一套系统化的答案。它不仅是生态内流转的价值媒介,更是开启链上治理大门的核心凭证。通过持有并质押PAAL代币,用户能够对协议升级、资金分配乃至战略方向等关键事务投出决定性的一票





