工信部第400批新车公告:国产斯堪尼亚、豪沃等亮点车型解读
工信部第400批《道路机动车辆生产企业及产品公告》的发布,为商用车市场注入了新一轮技术革新的活力。本批次公告中,多款具备创新特性的车型集中亮相,涵盖了新能源动力、越野改装、高效运输等多个领域,展现出行业向低碳化、专业化发展的明显趋势。
免费影视、动漫、音乐、游戏、小说资源长期稳定更新! 👉 点此立即查看 👈

国产斯堪尼亚再次成为焦点,其500+R 8x4载货汽车底盘采用R系平台,搭载CR20H型高顶带卧铺驾驶室。该车型配备国产化的DC 13 220发动机,输出功率达500马力,扭矩高达2650牛·米,性能与欧洲同系的DC 13 174发动机持平。相较于上一批460+R 6x2后提升底盘,此次新车型进一步丰富了载货车解决方案。配置方面,用户可根据需求选择侧储物舱、后部摄像头等细节选项,满足多样化运输场景需求。
重汽济商推出的豪沃新一代天然气重卡同样引人注目。这款ZZ4257V384TF1LB牵引车采用潍柴WP16NG系列发动机,提供640至750马力的五档动力选择,跻身全球马力最大的天然气车型之一。发动机通过偏置曲轴、折返式气道等技术创新,在提升动力的同时有效降低燃料消耗,尤其适合山区等复杂路况。车辆可选装电子后视镜系统,不仅减少空气阻力与风噪,还能在恶劣天气下提供清晰视野,前脸造型、金色车标等个性化配置进一步拓展了市场适应性。

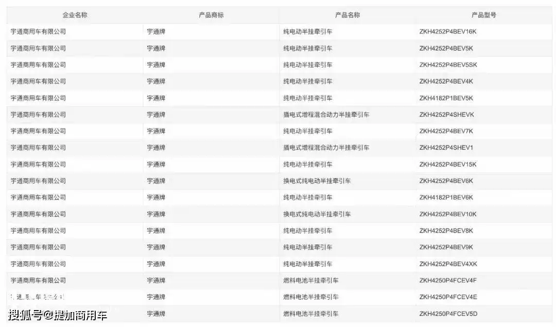
宇通在本批次公告中一口气申报了18款新能源牵引车,覆盖纯电、换电、燃电三大技术路线。其中,两款插电式增程混合动力车型采用后置+底置电池组结构,搭载宁德时代磷酸铁锂电池,并配备玉柴2.5L柴油增程器。该设计通过“油电互补”模式有效缓解续航焦虑,车辆可根据电量需求自动启动增程器发电,为长途运输提供了更灵活的能源解决方案。
东风汽车申报的“猛士”MS600越野底盘家族新增单排座、双排座两款衍生车型。车辆配备高位进气系统、金属保险杠、前绞盘及底盘护板,可选原厂驾驶室后壁切割服务。从配置来看,这两款底盘专为越野改装设计,未来或将重点布局越野房车、户外探险等细分市场。
广汽领程(原广汽日野)在新能源领域持续发力,其YC4255SSMBEV纯电动牵引车采用中创新航或欣旺达磷酸铁锂电池,配备两台特百佳电动机,总功率达625马力。基于成熟平台开发的这款车型已实现多批交付,标志着企业在新能商用车转型中取得实质性进展。
热门专题
热门推荐
加密货币行业翘首以盼的监管里程碑,终于有了实质性进展。美国证券交易委员会(SEC)主席保罗·阿特金斯(Paul Atkins)近日证实,那份允许加密项目在早期获得注册豁免权的“安全港”框架提案,已经正式送抵白宫,进入了最终审查阶段。 在范德堡大学与区块链协会联合举办的数字资产峰会上,阿特金斯透露了这
微策略Strategy报告:第一季录得144 6亿美元浮亏 再斥资约3 3亿美元买进4871枚比特币 市场震荡的威力有多大?看看Strategy的最新季报就明白了。根据其最新向美国证管会(SEC)提交的8-K报告,受市场剧烈波动影响,这家公司所持的比特币在第一季度录得了一笔惊人的数字——144 6亿
稳定币巨头Tether的动向,向来是加密世界的风向标。这不,它向Web3基础设施的版图扩张,又迈出了关键一步。公司执行长Paolo Ardoino在社交平台X上透露,其工程团队正在全力“烹制”一个新项目——去中心化搜索引擎 “Hypersearch”。这个消息一出,立刻引发了行业的广泛猜想。 采用D
基地位于Coinbase旗下以太坊Layer2网络Base的Seamless Protocol,日前正式宣告了服务的终结。这个曾经吸引了超过20万用户的原生DeFi借贷协议,在运营不到三年后,终究没能跑赢时间。它主打的核心产品是Integrated Leverage Markets(ILMs)——一
PAAL代币揭秘:深度解析Web3社区治理的核心钥匙 在去中心化自治组织的浪潮中,谁真正掌握了项目的话语权?PAAL代币提供了一套系统化的答案。它不仅是生态内流转的价值媒介,更是开启链上治理大门的核心凭证。通过持有并质押PAAL代币,用户能够对协议升级、资金分配乃至战略方向等关键事务投出决定性的一票





