独家:宗馥莉辞任娃小宗,未来或将独立经营新品牌
10月10日消息,据相关媒体报道显示,宗馥莉已在中秋国庆假期前夕正式卸任娃哈哈集团董事长及总经理职务,这一人事变动已在集团股东会与董事会上获得通过。
多位知情人士透露,此次宗馥莉辞职的核心原因是品牌商标使用存在合规性问题。据悉,宗馥莉已决心专注于自有品牌"娃小宗"的经营发展。

公开资料显示,宗馥莉1982年生于杭州,作为娃哈哈集团创始人宗庆后的爱女,她于2018年4月出任娃哈哈集团品牌公关部部长,2020年3月兼任销售公司副总经理,并于2024年正式升任集团副董事长兼总经理。
2024年8月,在父亲宗庆后辞世后,宗馥莉接任成为娃哈哈集团法定代表人及董事长,同时继续兼任总经理一职。
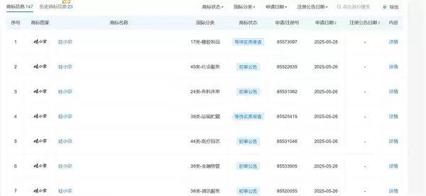
根据天眼查企业信息平台披露,宗馥莉名下关联企业超过200家。通过其掌控的宏胜饮料集团有限公司,已先后申请注册"宗小哈"、"娃小哈"、"娃小宗"等50余件商标,目前部分商标处于实质审查阶段,部分已通过初审公告。


相关攻略
4月7日消息,知名品牌策划人李光斗近日在社交平台发视频称:娃哈哈家族围绕遗产分配的纷争已出现缓和迹象,清明节期间家族成员共同祭祖扫墓的举动,释放出明确的和解信号。李光斗表示,清明节是家族和解的节日。
大公司:日本ispace公司将美国国家航空航天局(NASA)资助的登月任务推迟至2030年日本航天器初创企业ispace周五表示,在两次登月着陆器任务失败后,公司进行战略调整,将把一项由美国政府资助
3月1日消息,据媒体报道,2026年2月24日,杭州娃哈哈精密机械有限公司发布解散公示,正式进入清算程序,员工劳动合同于2月28日终止。该公司为娃哈哈商业股份有限公司全资子公司,实际控制人为宗馥莉,
9月27日消息,据媒体报道,9月26日,香港高等法院驳回宗馥莉方(以下也称被告)就2025年8月1日已作出的禁制令及披露令提起的上诉,但批准暂缓执行披露令,以等候宗馥莉向上诉庭提上诉。法院判决宗馥莉
10月9日消息,综合媒体报道,近日,有媒体曝出娃哈哈集团核心成员、宗馥莉的“心腹”高管严学峰正接受调查。据报道,娃哈哈集团的核心成员严学峰因涉嫌违纪,被杭州市上城区纪律检查委员会立案审查。随后,坊间
热门专题
热门推荐
SophNet是什么 在人工智能应用竞争日趋激烈的今天,模型推理速度已成为衡量平台性能的核心指标,直接影响用户体验与商业效率。SophNet作为算能科技旗下的高性能云算力平台,正式推出其旗舰产品——DeepSeek满血极速版,为开发者提供行业领先的推理加速解决方案。 该版本最突出的优势在于其卓越的性
东风汽车召回近7万辆N6、N7车型。因油门踏板设计缺陷,长期使用后磨损可能导致踏板回位不畅,存在安全隐患。厂商将为召回车辆免费更换改进后的油门踏板总成,部分车型需同时更换制动踏板。
在《极限竞速:地平线6》的开放世界中,遍布全球的摄影地标不仅是玩家记录壮丽风景的绝佳地点,更是解锁游戏内丰厚奖励与成就的关键所在。游戏内总计设置了26个独特的摄影地标,将它们全部发现并拍摄下来,即可获得一份专属的惊喜奖励。如果你正在为寻找这些地标的具体位置而烦恼,这份详尽的摄影地标全收集攻略将为你提
最近,腾讯在桌面AI智能体(Agent)领域动作频频,接连推出了两款引人注目的产品:WorkBuddy和QClaw。它们都瞄准了同一个核心痛点——用AI视觉模型识别并替代那些繁琐、重复的键鼠操作。但仔细一看,两者的定位和实现路径却截然不同,一个像是为企业量身定制的“协同中枢”,另一个则像是面向大众的
当企业数字化转型步入深水区,对效率的追求已从单点自动化迈向构建全天候、全链路的智能化办公体系。7*24小时无人值守,不再是技术构想,而是全球数千家领先企业正在践行的业务常态。其核心引擎,是被称为“智能体(Agent)”的技术范式。它深度融合大语言模型与自动化能力,将传统数字员工从被动执行的工具,升级





