奔驰申请按摩座椅专利:机械臂模拟精准揉捏手法
汽车座椅的重要性不言而喻,毕竟人们开车时,始终都得坐在方向盘后方。多年来,汽车座椅经历了大幅革新,如今多款车型都配备了座椅加热与通风功能,让驾驶者的臀部保持理想温度。高端车型甚至搭载了按摩座椅,以此缓解通勤途中的疲惫感。汽车媒体发现梅赛德斯-奔驰的一项全新专利,能让座椅舒适体验再度升级:在座椅系统中新增头部按摩功能。
免费影视、动漫、音乐、游戏、小说资源长期稳定更新! 👉 点此立即查看 👈

车载头部按摩功能初看有些奇特,实则是对现有技术的完美延伸。该企业专利文件中解释称,压力过大会感到“肌肉紧张、疲劳和头痛,这会影响驾驶体验。”

我们注意到,座椅头部按摩的运作机械结构极为复杂,比如系统会通过传感器识别驾驶者的身高与头部位置,自动将按摩机构调节至适配角度。
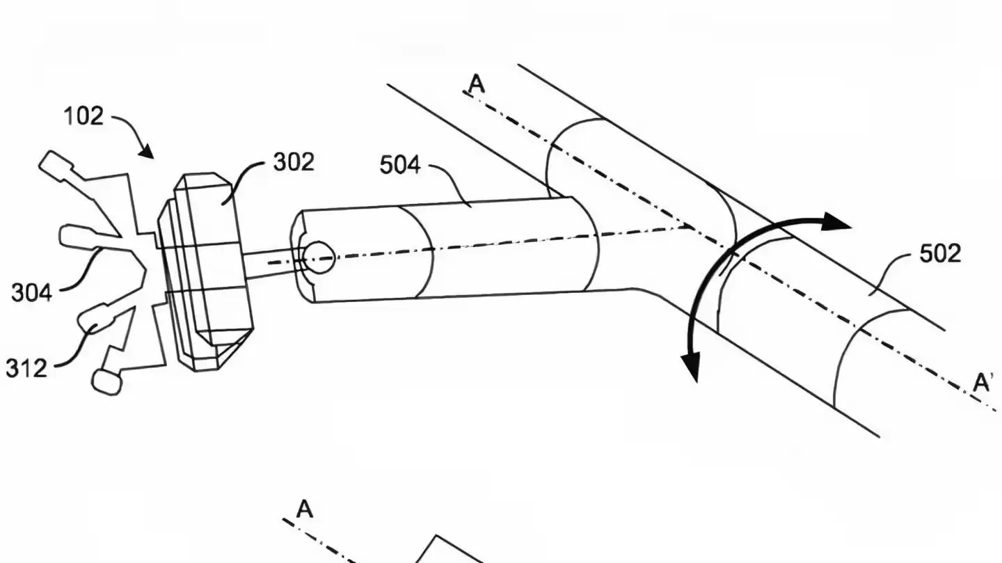
奔驰的设计方案是,在头枕内安装一个中枢模块,连接多根带可调节支柱的按摩臂。每根按摩臂均可实现移动、扭转与震动,整套装置还能进行旋转,覆盖整个头部。该系统由电机驱动,既可以安装在头枕内部,也能整合进座椅靠背现有的按摩结构中。


专利文件显示,该系统支持多种启动方式:既可通过车机中控屏按键操作,也能使用智能手机远程开启。开启后,用户还能自定义调节,让按摩头精准作用于想要按摩的部位。
奔驰的核心诉求,是为驾驶者打造极致舒适体验。该品牌早已实现身体其他部位的座椅按摩功能,这项专利正是在此基础上的迭代升级。结构上的多重设计,能让按摩臂精准调整至最佳角度,贴合头部的按摩点位。
和所有车企一样,奔驰也常会申请部分未必投入量产的专利,核心目的是防止竞争对手抢占相关技术概念。头部按摩功能乍看或许实用性不强,却能成为奔驰对抗竞品的差异化营销优势。
相关攻略
IT之家 4 月 1 日消息,4 月 1 日(今天)上午,广汽昊铂通过最新公众号宣布:4 月购广汽昊铂 HT,限时一口价 15 99 万元起。现款在售的昊铂 HT 提供 4 款不同配置,指导价格区间
3月31日,上汽大众昨日公布旗下“德系满级旗舰SUV”ID ERA 9X预售价格,推出Pro、Max、Ultra三款四驱版车型,预售价分别为32 98万元、35 98万元和37 98万元。该车定
网易汽车3月30日报道3月30日,吉利银河旗舰插混轿车——星耀8远航家系列加新上市,连同此前推出的130km EM-i尊享版,共有4个版型,上市指导价13 58万元-16 18万元,上市限时先享价1
IT之家 3 月 30 日消息,今天上午,零跑汽车 COO 徐军(@零跑 Tiger)宣布:家族旗舰车型零跑 D19 将于 4 月 16 日正式上市。IT之家汇总新车目前已知的信息如下:新车长宽高分
IT之家 3 月 29 日消息,鸿蒙智行最新昨晚公布了问界 M6 汽车全系标配的配置,包括华为途灵平台、巨鲸电池等。IT之家整理鸿蒙智行问界 M6 汽车标配配置如下:「硬核科技」华为乾崑智驾 ADS
热门专题
热门推荐
《全面战争:中世纪3》:经典延续,如何平衡怀旧与创新? 近期,《全面战争:中世纪3》的项目负责人帕维尔·沃伊斯坦然指出,要打造一款真正优秀的续作,绝不能仅仅依赖对前作模式的简单复刻。这一观点引人深思——尽管《中世纪2:全面战争》至今仍在策略游戏爱好者心中占据着经典地位,但开发团队此次显然决心跳出“照
雷鸟X3 Pro斩获AWE艾普兰创新大奖,开启全民AR生活新篇章 在上海新国际博览中心隆重揭幕的2026年中国家电及消费电子博览会(AWE)上,前沿AI科技与未来生活愿景激情碰撞。全球消费级AR领导品牌雷鸟创新,以其里程碑式的表现,定义了行业发展的新方向。 通过“顶尖硬件科技+顶级文化IP”的双轨战
借力AWE2026“一展双区”,MOVA双区协同、震撼登场 备受瞩目的科技盛会——2026年中国家电及消费电子博览会(AWE),于3月12日至15日在上海盛大举办。本届AWE展会首次创新采用“一展双区”的展览模式,主会场位于上海新国际博览中心,分会场则设于上海东方枢纽国际商务合作区,两大展区高效联动
冰结师技能全解析 踏入2026年,《地下城与勇士》中的冰结师职业,其技能体系已构建得更为成熟与强大。无论是在副本中高效清理海量怪物,还是在决斗场与高手玩家周旋,这个职业都能凭借其独特的冰霜艺术掌控战局。刷图时,酷寒的范围法术可瞬间清屏;而在PVP竞技中,一套将冻结控制与瞬间爆发完美衔接的连招,往往让
iPhone 18 Pro系列模具不变,屏幕形态将与iPhone 17 Pro保持一致 备受期待的屏下Face ID组件小型化设计与灵动岛区域缩窄方案,预计将被推迟至后续迭代机型中正式应用。 近期,关于iPhone 18 Pro系列的技术传闻持续引发行业关注,尤其在显示与解锁设计领域传言甚多。多方消





