宝马新专利:车载触屏增设触感条提升盲操精准度与安全
近日,科技媒体报道了宝马汽车的一项创新专利,这项技术旨在攻克车载大屏交互中的两大痛点:盲操不便与误触隐患。通过在屏幕边缘集成微型“触控感应条”,该专利为驾驶者提供了物理定位辅助,重新定义了全触控交互的安全标准和便利体验。
免费影视、动漫、音乐、游戏、小说资源长期稳定更新! 👉 点此立即查看 👈

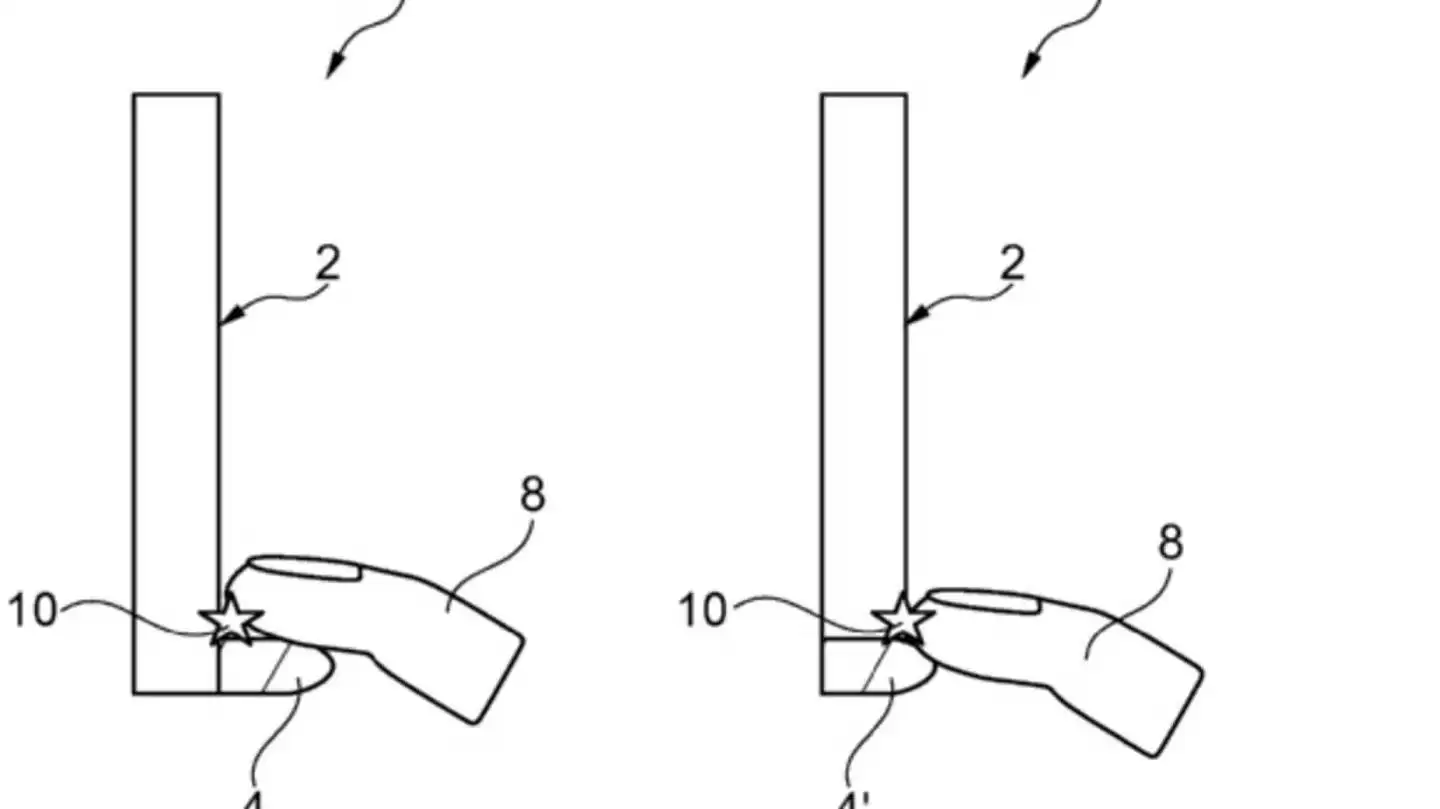
如今,车载信息娱乐系统普遍采用全触控设计,虽然功能集成度显著提升,但因缺乏实体反馈,迫使驾驶者不得不频繁转移视线以确认操作。尤其在颠簸路面行驶时,手指晃动极易引发误触,成为行车安全的重要隐患。宝马此次专利打破了传统设计思维,在屏幕底部或侧面嵌入了仅数毫米厚的感应条,它既不遮挡显示区域,又形成了稳定的“手指支撑区”。
该感应条表面采用特殊凹槽设计,与屏幕虚拟按键形成空间映射关系。这种布局灵感源于传统机械按键的触觉记忆,用户通过指尖触感即可快速定位功能区域,无需持续注视屏幕。例如,当您想调节空调温度时,手指可沿感应条滑动至预设凹槽位置,系统便能立即识别并执行对应指令。

为了进一步提升操作确定性,专利技术还构建了多模态反馈系统。当手指触碰感应条并完成指令输入时,系统会通过震动、音效与屏幕视觉提示进行三重确认。这种设计尤其适用于驾驶场景——震动反馈让用户无需目视即可感知操作成功,有效避免了因视线分散带来的安全隐患。测试数据显示,该技术能将盲操准确率提升至92%以上,同时减少约60%的视线转移时间。
行业分析师指出,宝马此项专利精准把握了智能座舱发展的关键矛盾:如何在保持科技感的同时,确保基础交互的可靠与直觉。随着车载屏幕尺寸持续扩大,物理定位辅助或将成为高端车型的标配解决方案。目前该技术已进入工程验证阶段,预计将在未来两年内实现量产应用。
热门专题
热门推荐
速览攻略:世界圣羽翼王核心打法与全面解析 本攻略将为你完整呈现《洛克王国》世界圣羽翼王的通关秘籍,深度剖析两种高效实战打法:追求极致速度的“燃薪虫四回合速通”与稳定输出的“酷拉无限连击流”。文章将进一步解析这位翼系精灵王的技能机制、属性克制关系及其在PVE与PVP中的实战定位,帮助你彻底掌握应对其隐
速览:工程系统核心机制解析 在《异种航员2》中,工程系统是整个抵抗力量赖以运转的“战略后勤中枢”。无论是研发新武器、生产重型装甲还是制造先进飞行器,所有实体装备的产出都依赖于此。简言之,该系统的核心运作围绕着两大关键:工程师人力的高效配置与全球稀缺资源的精细化调度。工程师的数量直接决定了每个项目的建
核心速览 在《洛克王国世界》中,治愈兔是一位兼具功能性任务角色与实战辅助能力的精灵。它的价值不仅在剧情推进中体现,更在于对战里出色的治疗与防护表现。本文将为你全面解析治愈兔的精准获取位置、种族属性特点以及实战技能搭配,助你顺利捕捉并最大化其在队伍中的作用。所有关键信息将通过清晰的图文内容详细展示,确
速览 在《红色沙漠》中,挑战传说之狼这一强大的任务BOSS,需要玩家进行充分的准备并遵循完整的任务流程。整个过程环环相扣,你必须首先参与塞莱斯特家族的势力任务,通过完成任务将家族声望提升至指定等级,才能解锁【传说之狼】的专属讨伐任务,最终直面这个传说中的强大生物。 红色沙漠传说之狼怎么打 归根结底,
【宝可梦Pokopia】舒适度全解析:快速提升环境等级的核心秘诀 你是否正在探索《宝可梦Pokopia》世界,并希望有效提升宝可梦栖息地的舒适度?舒适度不仅是衡量宝可梦快乐程度的晴雨表,更是解锁游戏核心内容、加速发展的关键驱动指标。本攻略将系统性地为你揭示提升舒适度的核心途径,涵盖从装饰栖息地、建造





