AMD堆叠L2缓存:X3D终极形态与性能跃迁解析
1月16日消息,凭借堆叠式L3缓存的3D V-Cache技术横扫游戏CPU市场后,AMD并未停下脚步。
免费影视、动漫、音乐、游戏、小说资源长期稳定更新! 👉 点此立即查看 👈
近日,AMD公布了一份名为《均衡延迟堆叠缓存》的研究论文,披露了其在缓存架构上的下一步布局:堆叠L2缓存。

目前,3D V-Cache主要通过为核心附加额外的L3缓存来提升性能,而这份新专利显示,AMD正探索将堆叠技术引入更靠近CPU核心、响应更快的L2缓存。

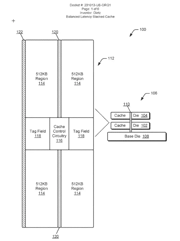
示例图显示,AMD构想了一种多层堆叠结构:基础层连接计算核心与缓存模块,上方可继续叠加多层缓存芯片。例如,可由四组512KB区域组成2MB的L2模块,甚至能进一步扩展至4MB。

其堆叠方式运用了与3D V-Cache相同的原理,通过硅通孔将L2/L3堆叠连接到基础芯片和计算复合体,并配置在堆叠缓存系统的中心垂直方向,由CCC控制器管理数据的输入和输出。

论文中,AMD以平面配置的1MB和2MB L2缓存为例进行说明:平面1MB L2缓存的典型延迟为14个周期,而堆叠式1MB L2缓存的延迟则仅为12个周期。
这表明堆叠L2缓存不仅能提供更高容量,还可实现与典型平面方案相当甚至更优的周期延迟。此外,AMD还指出这种架构具备显著的能效优势。
相关攻略
3月29日消息,AMD在YouTube发布的锐龙9 9950X3D2官宣视频,却意外引发了一场关于显卡软件支持的舆论。根据Videocardz统计,该视频累计收到超过1000条评论,其中近1 3都在
快科技3月29日消息,极摩客EVO-T2s迷你主机已正式开售,搭载英特尔酷睿Ultra X7 358H处理器,配备64GB内存与853GB固态硬盘,定价14999元。EVO-T2s采用的酷睿Ultr
快科技3月29日消息,极摩客EVO-T2s迷你主机已正式开售,搭载英特尔酷睿Ultra X7 358H处理器,配备64GB内存与853GB固态硬盘,定价14999元。EVO-T2s采用的酷睿Ultr
3月29日消息,受制于平台成本偏高、存储于成本飞涨,AYANEO日前无奈宣布,作为市面上唯二配备AMD锐龙AI Max+ 395高端平台的NEXT 2游戏掌机,将不得不暂停销售,等待后续形势变化。事
3月29日消息,AMD处理器最为人赞赏的一点,就是轻易不更换封装接口,这与Intel截然相反。时至今日,AMD AM4平台已经走过了十年峥嵘岁月,AMD公开表态AM5平台也会一样的长寿!AMD计算与
热门专题
热门推荐
三月的丽江,春风载着光影的诗意,vivo于此启幕春季新品发布会,年度影像旗舰vivo X300 Ultra将如约登场。我们有幸提前执掌这款被赋予“专业V单”称号的新机,今日便与你一同,沉浸式解锁这台
悟空浏览器支持五种调出搜索悬浮窗的方式:一、地址栏长按;二、左边缘手势滑动;三、启用chrome: flags中的“Enable search bubble UI”;四、侧边栏添
快科技3月30日消息,日前,宝马产品负责人贝恩德·克尔伯在接受BMW Blog采访时明确表示,公司对增程车型持观望态度,虽技术上完全可行,但现实需求尚未明确,暂未做出量产决策。这一表态与宝马研发负责
大象新闻·大象财富记者 李莉 张迪驰3月29日,以“发挥主流媒体引领力 激发多元主体创造力——共创繁荣网络内容生态”为主题的2026中国网络媒体论坛在河南郑州开幕。腾讯携AI全景亮相,展示“从效率伙
3月29日,广汽丰田首款大型纯电轿车铂智7正式上市。新车推出600km和700km两种续航版本共5款配置,限时补贴权益后售价区间为14 78万元至19 98万元。作为广汽丰田继铂智3X之后的第二款纯





