苹果新专利:AirPods手势切歌,听歌告别慢半拍
1月9日消息,科技媒体AppleInsider昨日(1月8日)发布博文透露,根据美国商标和专利局(USPTO)公布的清单,苹果公司获批了一项名为“基于天线阻抗测量的手势检测”的全新专利,有望重新塑造AirPods的交互体验。
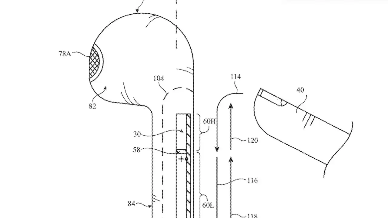
该文件显示,苹果正探索一种创新的AirPods交互方案:通过移除专用电容式触摸传感器电路,直接利用射频(RF)天线识别用户手势。

苹果研发团队在专利文件中指出,现有AirPods Pro虽配备了触控表面,但这套独立的电容式传感器系统存在明显缺陷:
首先,传感器电极挤占了宝贵的内部空间,导致设备体积和重量难以进一步缩减,限制了集成其他新组件的可能性。
其次,用户在敲击耳机切换歌曲后常能感觉到明显的延迟感,这种“过长的检测时间”严重影响了操作流畅度。
为解决上述问题,苹果提出的解决方案可谓“一鱼两吃”:让负责接收和传输音频信号的无电线天线兼职担任“手势雷达”。
援引博文介绍,由于音频数据的传输频率远高于电容传感器的刷新率,利用天线进行检测可以显著降低延迟。苹果在专利中强调,基于天线阻抗(Impedance)的变化来检测手势,在响应速度上将优于传统的电容式传感器。

该技术的核心在于监测天线阻抗的细微变化。用户的手指(作为外部物体)靠近或接触耳机柄后,会改变天线阻抗。通过部署双天线系统,算法还能精准测量阻抗变化的速率和顺序。这意味着,系统不仅能识别“点击”,还能准确判断用户是在“向上滑”还是“向下滑”,从而精确执行音量调节等复杂指令。
相关攻略
国内团队推出“AccLock”心跳解锁技术,利用普通耳机内置加速度计捕捉心跳振动进行身份验证,无需额外传感器即可实现设备解锁或门禁开启。该技术已在测试中取得成功,虽面临运动后心跳变化等挑战,但算法优化有望推动实用化,展现了生物识别与可穿戴设备结合的新方向。
苹果AirPods4降噪版官方定价1399元,天猫旗舰店直降至1119元,叠加优惠后最低可达982元。新品全系升级USB-C接口,降噪款充电盒兼容无线充电。其设计基于耳型数据优化,搭载H2芯片,显著提升音质与智能体验,支持个性化空间音频、语音凸显及动作操控Siri等功能。首次在无耳塞设计中引入主动降噪,配备自适应音频、对话。
本文详细解析了苹果AirPods4与AirPodsPro3在618大促期间于官方渠道的购买攻略。AirPods4官方定价999元,凑单后到手价可低至636元;降噪版定价1399元,优惠后约982元;AirPodsPro3定价1899元,活动价约1462元。所有产品通过天猫AppleSt
彭博社的马克·古尔曼今天又带来了一则重磅消息:传闻中那个内置摄像头的AirPods,已经进入了开发后期。这事儿要是成了,它可就不只是一副新耳机了——它将成为苹果首款真正意义上的AI可穿戴设备,标志着这家科技巨头在AI硬件赛道上,迈出了扎扎实实的一步。 据知情人士透露,这个项目目前正处于设计验证测试阶
苹果首款AI穿戴设备AirPodsUltra开发计划疑似暂停,主要阻力来自欧盟严格的隐私保护法规。这款配备摄像头的耳机旨在为Siri提供视觉能力,实现情景化AI服务,但其持续环境感知功能与GDPR等多项欧盟法律产生冲突,特别是在公共空间采集第三方数据方面面临重大合规挑战。尽管耳机被视为理想的AI硬
热门专题
热门推荐
公安部就电子数据取证规则公开征求意见,拟将网络安全等行政案件纳入适用范围,并规范取证流程与核心概念。新规特别明确了获取密码、调取通讯内容等特殊程序,需经严格审批并保障当事人权利。配套法律文书也同步优化,以构建更规范且注重权利保障的取证体系。
理想L9和LIvis的定价策略刚掀起波澜,小鹏GX的最终价格就给出了更猛烈的回应——从近40万元的预售价直降至27万元起。用小鹏产品矩阵负责人吴安飞的话说,这叫“9系的产品,8系的价格”。 这12万元的下调,效果堪称立竿见影。发布会次日,小鹏集团港股股价一度大涨超8%。更关键的是市场订单:上市12小
5月21日,环塔拉力赛新疆且末赛段大营迎来了一位备受瞩目的访客——知名零售企业胖东来的创始人于东来。他专程前往长城汽车车队营地,与参赛车手及后勤团队进行了深度交流。据悉,于东来此次自驾越野之旅已历时一月,随行车队中包含多款国产越野车型。经过实地驾驶与多维度对比,他对以长城汽车为代表的国产越野车品质给
比特币官方入口在哪里?一个核心门户的权威指南 说起比特币,很多人第一反应是去找它的“官网”或“官方App”。但这里有个关键点需要先理清:比特币本质上是一种去中心化的全球数字货币,它不属于任何一家公司或机构,而是由一个庞大的、遍布全球的社区共同维护。因此,它并没有传统意义上由某个企业运营的“官方网站”
Ring-2 5-1T是什么 在当今大模型技术激烈竞争的赛道上,追求更长的上下文处理能力和更强大的深度推理性能已成为核心焦点。近日,蚂蚁集团旗下的inclusionAI团队重磅开源了Ring-2 5-1T模型,这是一个参数规模高达万亿级别的混合线性思考大语言模型。该模型基于先进的Ling 2 5架构





