vivo新专利:真无线耳机支持跌倒检测与双向无线充电
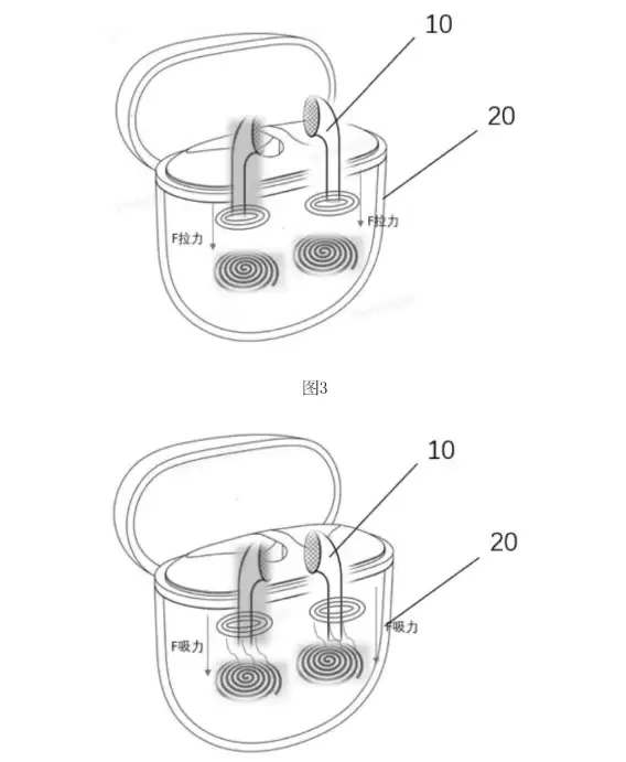
据1月6日科技媒体XpertPick报道,vivo近期提交了一项名为《耳机组件及控制方法》的专利,其中描绘了一套更为智能、先进的真无线耳机。这套设备能够实现耳机本体与充电盒之间的无线充电,并具备跌落检测功能。
免费影视、动漫、音乐、游戏、小说资源长期稳定更新! 👉 点此立即查看 👈
报告引述称,专利中描述的真无线耳机完全无需通过传统的pogo-pin(弹簧针)触电进行供电。其耳机本体配有线圈,充电盒则内置了线圈、电池、处理器以及无线充电模块。
从专利文件来看,这样的设计旨在实现双向无线充电。其中,耳机本体将通过充电盒的电磁感应进行无线充电,能量将在耳机的第一线圈与充电盒的第二线圈之间传输。因此,这套真无线耳机内部完全无需配置任何物理触点。

同时,这款耳机还配备了一套跌落检测机制。系统会持续监测耳机本体线圈与充电盒线圈之间的磁感应变化。若设备不小心坠落,系统会立即增强磁力,设法将耳机固定在充电盒内,也可以直接切断电源供应以防止损坏。
专利还进一步指出,这款耳机还可配备压力传感器。结合磁感应变化以及压力信号,系统能判断用户何时需要取出耳机。当用户打开耳机盒盖子时,系统会自动调节线圈电流,减弱磁力,从而使耳机本体更容易从充电盒中取下。
相关攻略
QCYMeloBudsA30真无线耳机正式发售,主打长续航与高清通话降噪。耳机采用8麦克风阵列支持AI通话降噪,并搭载“天穹降噪架构V8”。在关闭降噪时,单次续航可达11小时,配合充电盒总续航高达50小时。产品提供三种配色,单耳重4 5克,设计上采用“鎏光镶边”与星轨灯效充电盒,售价为209元。
一、前言:哈趣也来跨界了哈趣品牌在我们的印象中,一直都是为年轻用户提供高性价比的投影产品,想不到突然就推出了这么一款耳机,而且是整合了大量AI实用功能的可穿戴AI设备,非常出乎意料,没想到哈趣也开始
1 月 17 日消息,HMD 现已在其正式公布 DUB X50 Pro 真无线耳机的详细参数,新品支持主动降噪,最长续航可达 60 小时。了解到,这款耳机采用入耳式设计,可带来更好的密封性。它搭载
1 月 6 日消息,据科技媒体 XpertPick 今天报道,vivo 最近提交了《耳机组件及控制方法》专利,描绘一套更加智能、先进的真无线耳机,其耳机本体与充电盒之间可以实现无线充电,并且还能够
12 月 29 日消息,realme 真我 Bus Air8 真无线耳机最近现身真我海外正式,采用入耳式设计,支持主动降噪,拥有 Hi-Res Audio Wireless“小金标”认证。据介绍,
热门专题
热门推荐
特斯拉2025财年为首席执行官马斯克支付的个人安保费用达480万美元,较前一年增长71%。今年头两月支出同比激增超160%。该费用仅为其安保开支一部分,其名下其他企业也分担相关成本。费用增长源于投资者呼吁及本人确认的必要性,其日常安保规格极高,常由约20名保镖及医护人员随行。
HatchyPocket是融合DeFi与NFT的链上游戏平台,其代币HATCHY用于支付、治理与激励。玩家可孵化收集虚拟宠物,资产基于区块链。获取免费空投需关注官方社交渠道、参与测试网活动或贡献社区内容,但需注意安全防范与数量限制。该项目展现了游戏与区块链结合的新模式。
京东启动大规模数据采集计划,依托数十万员工与线下业务网络,在真实服务场景中采集超千万小时视频数据,构建高质量具身智能训练数据集。此举旨在破解物理AI落地的数据瓶颈,将日常履约场景转化为数据源头,为机器人从实验室走向现实提供关键支撑。
还在为《无期迷途》受枷者关卡发愁?小兵无视阻挡快速推进,BOSS物理抗性极高,防线频频失守?别担心,本文将为你详细解析三套高适配阵容攻略,助你轻松通关。即便是零氪、微氪玩家,也能稳定获取24万高分奖励! 法系速杀流:开局秒核,一击制胜 应对受枷者关卡,两大核心难点在于:无视阻挡的杂兵推进速度极快,而
握紧你的武器,指挥官!Vor的战利品之门已经开启——这不仅仅是一个新手任务,更是你蜕变为一名真正Tenno战士的震撼序章。无需担心经验不足,本关卡专为初入《星际战甲》宇宙的你设计,全程由引导者Lotus亲自指引。浩瀚的星际战甲世界,此刻正式为你拉开帷幕! 核心操作精通:位移如风,攻防一体 任务开始,





