任天堂Alarmo专利曝光:联动Switch 2的游戏胜利闹钟
12月31日消息,科技媒体Notebook Check昨日(12月30日)发布文章,基于任天堂最新获批的专利,描述了Alarmo闹钟配件可联动Switch 2掌机,接收来自游戏的实时通知。
免费影视、动漫、音乐、游戏、小说资源长期稳定更新! 👉 点此立即查看 👈
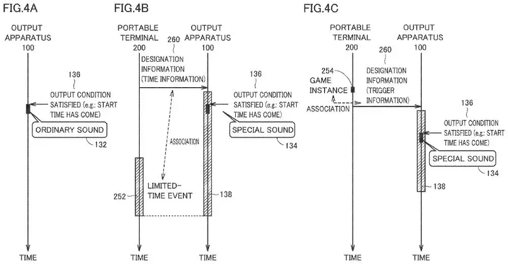
援引博文介绍,该专利的核心在于改变通知的触发机制。传统闹钟的声音和提醒均为设备内预设的脚本事件,而任天堂的新方案则允许Alarmo闹钟等配件连接其他设备(如Switch 2主机),接收并响应实时的游戏内通知。

这项功能的应用场景极具想象空间。例如,玩家在《马力欧赛车》中获得第一名后,Alarmo闹钟可能会立即响起一阵庆祝的铃声;闹钟的音效也可能随着游戏内季节的变化而改变。由于Alarmo本身不具备蓝牙功能,这种实时通信很可能将通过其内置的Wi-Fi连接功能来实现。


Alarmo闹钟目前虽然设计独特,但功能相对基础,主要集中于闹铃和播放预设的游戏场景音效,并提供初级的睡眠追踪。有批评者认为其功能与高昂售价不符,缺乏与智能应用的联动。若该专利技术得以应用,Alarmo将不再仅仅是床头的装饰品,而是能走进客厅,成为提升游戏氛围感的核心交互配件,进一步提升其产品价值。

热门专题
热门推荐
加密货币行业翘首以盼的监管里程碑,终于有了实质性进展。美国证券交易委员会(SEC)主席保罗·阿特金斯(Paul Atkins)近日证实,那份允许加密项目在早期获得注册豁免权的“安全港”框架提案,已经正式送抵白宫,进入了最终审查阶段。 在范德堡大学与区块链协会联合举办的数字资产峰会上,阿特金斯透露了这
微策略Strategy报告:第一季录得144 6亿美元浮亏 再斥资约3 3亿美元买进4871枚比特币 市场震荡的威力有多大?看看Strategy的最新季报就明白了。根据其最新向美国证管会(SEC)提交的8-K报告,受市场剧烈波动影响,这家公司所持的比特币在第一季度录得了一笔惊人的数字——144 6亿
稳定币巨头Tether的动向,向来是加密世界的风向标。这不,它向Web3基础设施的版图扩张,又迈出了关键一步。公司执行长Paolo Ardoino在社交平台X上透露,其工程团队正在全力“烹制”一个新项目——去中心化搜索引擎 “Hypersearch”。这个消息一出,立刻引发了行业的广泛猜想。 采用D
基地位于Coinbase旗下以太坊Layer2网络Base的Seamless Protocol,日前正式宣告了服务的终结。这个曾经吸引了超过20万用户的原生DeFi借贷协议,在运营不到三年后,终究没能跑赢时间。它主打的核心产品是Integrated Leverage Markets(ILMs)——一
PAAL代币揭秘:深度解析Web3社区治理的核心钥匙 在去中心化自治组织的浪潮中,谁真正掌握了项目的话语权?PAAL代币提供了一套系统化的答案。它不仅是生态内流转的价值媒介,更是开启链上治理大门的核心凭证。通过持有并质押PAAL代币,用户能够对协议升级、资金分配乃至战略方向等关键事务投出决定性的一票





