保时捷专利新设计解析:用气幕替代传统敞篷风挡
12月30日,IT之家发布消息称,开发一款敞篷跑车从来就不是件容易的事。拆掉车顶会带来一系列难题,既要面对车身刚性这样的核心挑战,也得顾及敞篷状态下维持座舱静谧性这类细节问题。数十年来,后一种解决方案一直沿袭着相同思路:在前排乘客后方安装某种挡风装置。尽管部分车型配备了精致的电动伸缩挡风板,但这类装置大多是外形笨拙、操作繁琐的塑料件,使用时需要手动卡入固定位置。不过,一项新专利的落地或许能让保时捷911和Boxster敞篷车彻底告别这类传统挡风设备。

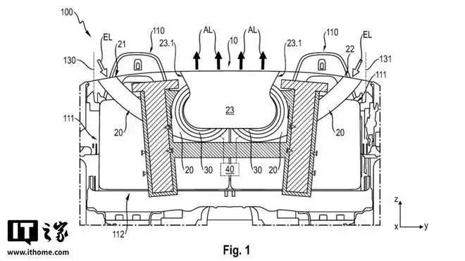
这项保时捷专利已由世界知识产权组织公布,并于去年由德国专利商标局正式发布。该专利巧妙地利用气流自身的力量来隔绝外部气流侵入座舱,本质上是打造了一道“空气屏障”。其工作原理出人意料地简单,下方的示意图也清晰地呈现了这一点:在乘客舱后方设有一组风道,外侧风道大致从车身两侧吸入空气。专利图示显示,气流取自车顶顶部和侧面的进气口,但实际上气流也可以从车身侧翼的进气口引入。

随后,气流会通过风道进入中央区域,这里安装有一台或两台驱动径向风扇的电机。这类风扇的原理与汽车空调系统的鼓风机类似,甚至和笔记本电脑里的微型风扇原理相通。风扇的主要作用是调节进气量的大小,从而确保车辆在任何行驶速度下,都能提供理想的气流量。风扇将气流通过位于车辆中央的出风口吹出,而这个位置恰好是传统实体挡风板的安装处。

除了调节气流流量,保时捷在专利中还提到,出风口配备了可调节导流叶片。通过调整叶片角度,气流的形态和走向能够适配不同的车速,达到最佳的扰流效果。这套系统的最终效果,是借助吹出的气流形成一道屏障,阻挡车外紊乱气流涌入座舱,同时摒弃了传统实体挡风板那种操作麻烦、外观突兀的设计。
据IT之家了解,通过合理引导气流可以实现许多超乎想象的效果。以迈凯伦Elva为例,这款车型上市时并未配备玻璃挡风板,为了让乘客免受强风直吹,迈凯伦专门设计了一组风道,将车身下方的进气气流向上引导,使气流从乘客头顶掠过,以此实现挡风效果。既然迈凯伦能想出如此巧妙的驭风方案,保时捷自然也有能力做到。

这套系统的结构看起来也相对简单,并不比汽车的空调系统更复杂,核心部件无非就是风道、风扇和出风口。因此,保时捷有望在不久的将来完成该技术的研发,并将其搭载于量产车型。该系统唯一可能存在的短板在于空间占用和重量控制,风道和风扇需要占据一定的安装空间,这可能会进一步压缩本就紧张的行李厢容积。此外,尽管这套系统的零部件已经尽可能轻量化,但重量肯定无法与轻薄的传统塑料网状挡风板相媲美。这或许意味着,保时捷敞篷车的Spyder或T轻量化版本,可能不会搭载这项配置。
相关攻略
你一定在床底下发现过它们:它们不是乱七八糟散落的沙砾,而是纠缠在一起、蓬松且略带灰色的团块。在英语里,人们给它起了一个听起来莫名可爱的名字:“Dust Bunny”(尘兔)。名字可爱,成分一点不可爱
IT之家 12 月 30 日消息,打造一款敞篷车并非易事。去掉车顶会带来各种各样的难题,既有车身刚性这类关键问题,也包括敞篷状态下维持座舱静谧性这类细节问题。数十年来,后者的解决方案一直是在前排乘客
热门专题
热门推荐
当地时间5月13日,美股市场再次上演了“科技股狂欢”。纳斯达克综合指数与标普500指数双双刷新历史纪录,其中纳指大涨1 2%,标普500指数也上扬了0 58%。相比之下,道琼斯工业指数则略显疲态,微跌0 14%。盘面上,大型科技股几乎全线飘红,谷歌母公司Alphabet以近4%的涨幅领跑,Meta、
德国外设品牌CHERRY近期发布了其高端新品——MX 8 3 Pro机械键盘。这款键盘专为客制化爱好者和追求极致品质的用户打造,融合了轻奢美学与硬核性能。目前产品已在各大电商平台正式上架,官方售价为2149元。 MX 8 3 Pro最引人注目的莫过于其鲜明的橙黑撞色设计。键盘机身采用铝合金一体成型工
今年,高通将重磅发布其新一代旗舰移动平台——第六代骁龙8至尊版Pro(Snapdragon 8 Elite Gen 6 Pro)。据悉,该芯片有望率先采用台积电前沿的2纳米制程工艺,这不仅是智能手机SoC技术的一次重大飞跃,也预示着旗舰芯片的成本结构可能迎来新一轮调整。行业普遍认为,此次向2nm工艺
AMD推出六款RyzenPRO9000系列商用台式机处理器,首次引入3DV-Cache技术型号。新品分为常规与3D缓存两类,核心数覆盖6至16核,功耗提升至120W或170W以增强性能。该系列集成企业级PRO技术,注重安全与可管理性,但不支持超频等DIY功能,专为追求稳定高效的企业客户设计,预计下半年上市。
小米17Max将于5月21日发布,搭载首款徕卡2亿像素主摄与3倍潜望长焦,配备高通骁龙8至尊版平台。其8000mAh超大电池支持百瓦快充,并采用6 9英寸超级像素屏,通过独立RGB子像素排列实现高精细度与低功耗的显示效果。





