宝马蓝天白云防篡改螺丝专利技术解读与申请要点

免费影视、动漫、音乐、游戏、小说资源长期稳定更新! 👉 点此立即查看 👈
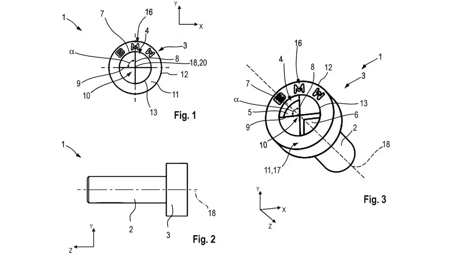
十二月十九日有消息显示,通过查阅欧盟知识产权局的公开资料,发现宝马公司提交了一项新型紧固件的专利申请。该专利涉及一种头部造型与品牌标志性“蓝天白云”图案高度一致的防篡改螺丝。
与常规的一字、十字或六角头螺丝不同,这款螺丝的顶部直接以品牌圆形标识为基础进行结构设计。其独特之处在于,标志中的四个扇形区域被功能性划分:其中两个为可受力凹槽,用于工具嵌入与扭矩传递,另外两个则保持与表面齐平,不参与受力。此外,边缘部分还设有精细刻印的品牌名称。
此项设计不仅具有视觉识别上的考量,更侧重于技术防护功能。专利文件指出,这种非对称且特化的内部凹槽结构能够有效阻止使用标准通用工具对螺丝进行拧紧或拆卸操作。其实际效果是限制未经授权的第三方对车辆关键部件进行维护或更换。
这意味着,无论是普通车主还是独立维修机构,若未配备由厂商专门提供的配套工具,将难以对该类紧固件实施有效操作。由此带来的结果是,相关维修工作被引导至原厂授权服务体系内完成。
根据专利说明,此类螺丝拟应用于车内可观察到的结构性连接位置。具体示例包括座椅固定点,以及驾驶舱组件与车身主承重结构之间的连接区域。这些部位通常需要承受较高的装配扭矩,因而对紧固可靠性要求较高。
由于该螺丝的受力区域被标识图形分割,实际接触面积有限,同时外围还带有装饰性环状结构,若尝试采用非匹配工具强行拆装,极有可能造成螺丝滑牙或操作工具损坏。这一特性进一步强化了其防篡改属性。
图片来自最新专利附图。
热门专题
热门推荐
V社联合创始人G胖调整角色:从主导开发转向赋能团队,释放创意生产力 近期一则消息引发游戏行业广泛关注:Valve联合创始人加布·纽维尔(“G胖”)在公司内部进行了一次重要角色转型。此次调整的关键原因,与他个人在公司中的特殊影响力息息相关。根据透露,这位创始人决定减少在具体游戏开发工作中的直接深度参与
红魔姜超透露:全新游戏平板将于四月或五月发布,承诺带来惊艳体验 游戏硬件领域即将迎来重磅更新。努比亚红魔游戏手机的产品线负责人姜超,近日通过社交媒体进行了一次颇具悬念的“前瞻剧透”,成功引发了广大游戏玩家和科技爱好者的高度关注。他明确指出,红魔全新一代游戏平板的发布日期已锁定在四月或五月,并使用了“
金铲铲之战S17天煞羁绊:效果解析与实战应用 在《金铲铲之战》S17赛季中,【天煞】是一个定位独特的专属羁绊,仅由5费英雄“劫”所携带。激活这一羁绊需要特定的前置条件——玩家必须在强化符文选择阶段获得【入侵者劫】。一旦成功解锁,劫将获得全新的技能机制,从而在战局中发挥出颠覆性的作用。 金铲铲之战S1
索尼调整第一方工作室阵容,王牌重制团队蓝点工作室正式“退出”核心名单 近日,索尼在其PlayStation Studios官方网站的更新中做出了一项关键调整,引发了游戏玩家和行业观察者的广泛关注:曾凭借《恶魔之魂:重制版》等作品赢得盛誉的蓝点工作室,已不再出现在索尼核心第一方工作室的名单之中。此次页
未来人类X98W移动工作站正式发布:重新定义移动端专业性能的新标杆 在专业移动计算领域,总有一些产品能够打破常规认知。近日,未来人类(TerransForce)正式在其官网上线了全新的X98W高性能移动工作站,并宣布将于本月内全面发售。这款设备的问世,无疑为那些在移动办公环境中仍需要桌面级别强悍性能





