迅策科技上半年营收超2亿,腾讯与云锋为股东,通过上市聆讯

免费影视、动漫、音乐、游戏、小说资源长期稳定更新! 👉 点此立即查看 👈
雷递网 雷建平 12月18日
深圳迅策科技股份有限公司(简称:“迅策科技”)今日通过上市聆讯,准备在港交所上市。
迅策科技2024年12月完成交叉轮融资2.2亿元,投前估值60亿元。
迅策科技要做AI数据赛道第一股,对比美国的Palantir等企业。
上半年营收2亿
迅策科技成立于2016年,是一家实时数据基础设施及分析供应商,产品组合的核心是数据基础设施,一个云原生的统一数据平台,可收集、清理、管理、分析及治理来自多个来源的异构数据,部署在客户的自我管理云或本地系统中,建立在该基础上的是我们的数据分析应用层面,利用底层基础设施来产生洞察、作出预测或为业务决策提供资料。

迅策科技为全行业企业提供涵盖数据基础设施及数据分析的实时解决方案,战略重点是资产管理公司。
招股书显示,迅策科技2024年、2024年、2024年营收分别为2.88亿元、5.3亿元、6.32亿元;毛利分别为2.25亿元、4.19亿元、4.85亿元;期内亏损分别为9651万元、6339万元、9785万元。

迅策科技2025年上半年营收为1.98亿元,较上年同期的2.83亿元下降30%;毛利为1.32亿元,上年同期的毛利为2.28亿元;期内亏损为1.08亿元,上年同期的期内亏损为9776万元。
据知情人士透露,迅策科技主要是目前大客户项目验收较晚,导致的收入拖延,预计全年营收数据不错。

截至2025年6月30日,迅策科技持有的现金及现金等价物为2.22亿元。
估值超60亿
迅策科技执行董事分别为刘志坚、耿大为、杨阳、宣然、姜春飞;非执行董事为蔡祥,独立非执行董事分别为汪棣、蒋昌建、田江川女士。

刘志坚为公司董事局主席、CEO,负责公司整体策略规划、营销及营运管理。
迅策科技成立以来获得多次融资,其中,2017年7月完成7600万元融资,投前估值1.5亿,投后估值2.26亿元;2019年6月完成A+轮融资8875万元,投前估值6亿元,投后估值6.8875亿元;2020年9月完成B轮2.1亿元融资,投前估值10亿元,投后估值12.1亿元;

迅策科技2024年6月完成6.54亿元融资,投前估值18亿元,投后估值24.54亿元;2024年8月完成C+轮6400万元融资,投前估值24.54亿元,投后估值为25.18亿元;
迅策科技2024年4月完成7.98亿元D轮融资,投前估值40亿元,投后估值为47.98亿元;2024年12月完成交叉轮融资2.2亿元,投前估值60亿元,投后估值62.2亿元。
腾讯云锋是股东
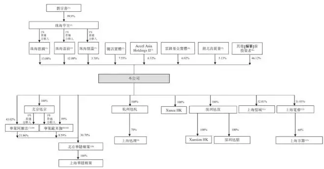
IPO前,刘呈喜通过珠海亨呈管理珠海恩圆控制13.08%股权,通过珠海亨呈管理珠海富前控制12.08%股权,通过珠海亨呈管理珠海股温控制3.7%股权。刘呈喜为刘志坚的父亲。
此外,腾讯持股7.55%,KKR旗下AccelAsia持股为6.32%,云锋基金实体持股6.02%,洪泰基金旗下湖北高质量持股5.13%。

迅策科技其他投资者包括深圳源政、深圳赛达仁、中南荷多、星罗景佑、无锡海盈佳、中南弘远、GSPSI、Madison Square、GBA Fund、羽信仁辉、深圳众投、天津魏紫、广东粤财、创盈健科、阳光家族投资、时代百富、上海熠云、北京中关村、广州由山、合嘉泓盛、北京歌华、通瑞长盈、泰康人寿、羽信国元、上海域恺、天津熙华、杭州柏晖、羽信国昌、中金浦成及金科灼智。
创新工场曾经天使投资了迅策科技,但此后退出了股东行列。
IPO前,深圳源政持股为0.87%,云锋新呈持股为3.76%,深圳赛达仁持股为0.82%,中南荷多持股1.67%,星罗景佑持股为1.31%,无锡海盈佳持股为1.13%,中南弘远持股为1.23%,云锋麒泰持股为2.26%,GSPSI持股为3.23%,MadisonSquare持股为4.54%;
大湾区基金旗下GBA Fund持股为4.53%,羽信仁辉持股为1.27%,深圳众投持股为0.64%,深圳腾讯持股为0.04%,天津魏紫持股为4.51%,广东粤财持股为0.86%,创盈健科持股为0.05%;

阳光家族投资持股为0.75%,时代百富持股为0.3%,上海熠云持股为0.6%,北京中关村、广州由山、合嘉泓盛分别持股为0.3%,广西腾讯持股为7.51%,北京歌华持股为3.34%,通瑞长盈持股为0.06%;
泰康人寿持股为1.5%,羽信国元持股为0.66%,上海域恺持股为1.92%,天津熙华持股为2.59%,浙商证券旗下杭州柏晖持股为1.39%,羽信国昌持股为1.09%,中金浦成持股为0.4%,金科灼智持股为3.98%。
雷递由媒体人雷建平创办,若转载请写明来源。
相关攻略
源杰半导体冲刺港股:科创板“千元股”的下一站 近日,光芯片赛道传来新动向。已在科创板上市的陕西源杰半导体科技股份有限公司(下称“源杰半导体”)正式向港交所递交了招股书,这意味着,这家公司正朝着“A+H”双平台上市的目标迈进。 说起源杰半导体,资本市场并不陌生。公司于2024年12月登陆科创板,当时发
雷递网 雷建平 4月1日靖因药业(Sirius Therapeutics)日前更新招股书,准备在港交所上市。靖因药业2025年4月刚获4750万美元的融资,投后估值为2 53亿美元。年营收2 3亿
雷递网 雷建平 3月31日上海曦智科技股份有限公司(简称:“曦智科技”)日前递交招股书,准备在港交所上市。曦智科技成立以来获得过多次融资,曦智科技整个C轮融资15亿元,其中,2024年完成C1、C2
雷递网 雷建平 3月30日南京英派药业股份有限公司(简称:“英派药业”)日前递交招股书,准备在港交所上市。2024年11月,英派药业曾宣布完成2 5亿元D++轮融资。年亏损3亿英派药业致力于研发具有
雷递网 雷建平 3月30日思格新能源(上海)股份有限公司(简称:“思格新能源”)日前通过上市聆讯,准备在港交所上市。思格新能源近期刚更新招股书,思格新能源成立还不到4年时间,2025年营收做到90亿
热门专题
热门推荐
当代互联网技术飞速进步,口号已成为普遍被使用的短语 在信息爆炸的今天,一句精炼有力的口号,往往能迅速传递品牌或活动的核心理念,甚至演变为一种深入人心的文化符号。那么,哪些标语能够真正触动人心,将抽象的服务宗旨转化为具体可感的信任呢?本文将聚焦于医疗健康这一特殊领域,为您深度解读一组关于文明就医与人文
微软年度开发者盛会概览微软Build大会是该公司每年面向全球开发者、工程师和技术决策者举办的最重要技术盛会。它不仅是微软展示其最新技术成果、平台更新和未来愿景的舞台,更是开发者们获取前沿知识、学习最佳实践以及直接与产品团队交流的核心渠道。大会通常持续数日,包含主题演讲、技术深度解析、实践工作坊以及丰
《大航海时代起源》:在无垠海域中,书写你自己的航海史诗 《大航海时代起源》(英文名“Uncharted Waters Origin”)的核心魅力,正如其名,在于开启一段关于自由探索、跨洋贸易与开拓未知疆域的宏大冒险。游戏从角色创建伊始,便将命运的舵盘交予玩家。性别、外貌乃至性格倾向,这些基础的自定义
《完美证据》:一场“慢”与“快”的七年对赌 在当下追求“拍完即播”的影视快消时代,《完美证据》的出现,宛如一位闯入百米赛道的马拉松选手。当行业竞逐速度时,它却历经七年打磨才姗姗来迟。观众不禁好奇:耗时如此之久,这部剧究竟在打磨什么?它的“慢”,是否藏着独特的价值? 审视其时间线,最值得玩味的或许不是
AI食谱生成器是什么 简单说,它是一种能帮你“凭空变出”菜谱的智能助手。这工具由多个技术团队合力开发,核心目标很明确:让每个人,无论是经常下班的上班族,还是爱钻研美食的厨艺爱好者,都能根据手边有的食材和个人口味,快速获得一份专属的烹饪方案。它让做饭这件事,从“今晚吃什么”的难题,变得轻松、个性,甚至





