微软专利揭秘AI增强剪贴板:智能格式转换与代码生成技术

免费影视、动漫、音乐、游戏、小说资源长期稳定更新! 👉 点此立即查看 👈
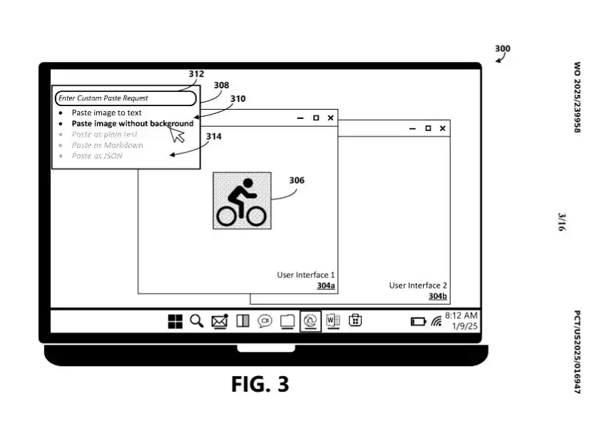
本月17日,一份公开的专利文件显示,微软正在为其Windows系统剪贴板推出一项技术革新方案,旨在为传统的复制粘贴功能深度整合人工智能能力。这份由美国专利商标局公布的专利,揭示了一种具备数据暂存与智能处理能力的新型剪贴板架构。
与传统剪贴板不同,这项技术允许用户在粘贴前对复制的信息进行智能化调整。系统可通过AI实现内容的版本转换或格式重构,因而被外界视为当前具备高度实用性的人工智能应用方向之一。借助它,普通用户可以快速去除图片背景,方便地制作贴纸或演示材料;专业用户则能将文本内容自动转化为结构化表格,甚至生成符合网页标准的HTML代码。
此外,这套系统还支持多种编程语言间的相互转换,并允许用户输入自定义指令,例如“将此段落改为项目符号列表”,从而获得完全符合需求的输出结果。在执行最终粘贴操作前,用户可以预览所有AI处理后的选项,有效避免了因频繁切换不同应用程序或调用独立AI工具所带来的操作负担。
尽管专利内容尚未确认会直接出现在未来发布的正式系统版本中,但类似功能已在微软推出的开源工具集PowerToys中初现端倪。这项名为“高级粘贴”的功能,由Windows开发团队主导设计。安装PowerToys后,用户可通过快捷键“Win + Shift + V”调用增强型粘贴界面。目前,基础的文本格式转换已可直接使用,而更深层次的AI驱动功能则需在设置中接入OpenAI API密钥方可启用。
热门专题
热门推荐
峡谷区域唯一唱片需集齐三个碎片合成。首个碎片位于地图西北角木箱木桶旁,外观如跳动火焰。集齐碎片可解锁新内容并提升游戏体验,探索时留意细节可能发现更多隐藏惊喜。
《遥遥西土》中,西土唱片需集齐三个碎片合成。首个碎片位于地图东南角的管子洞内,获取过程简单,无复杂谜题或战斗。整体流程清晰,玩家按指引收集全部碎片即可合成唱片,轻松完成收集任务。
《鸣潮》联动《赛博朋克:边缘行者》,推出五星角色露西与丽贝卡,可通过限定卡池与活动免费获取。联动包含专属剧情、夜之城风格场景及高难度BOSS战,并植入动画经典音乐。参与预热活动和完成剧情任务可获得限定奖励,全方位打造沉浸式赛博朋克体验。
鼻噶流”玩法围绕“混沌爪牙”基因展开,开局以小体型角色灵活发育,注重走位与策略而非堆叠体型与伤害。该玩法在较高难度下提供了与传统平推思路不同的趣味体验,适合追求新鲜操作感的玩家尝试。
《异环》S级气态弧盘“好狗狗走四方”可提升充能与全队攻击,适合早雾等辅助。完成主线任务“成交?成交!”后解锁番外副本“月光当铺”,首次击败BOSS墨菲克斯即可免费获取。战斗时建议中距离拉扯,优先清理小狼,搭配破韧与输出角色更易通关。





