微软Win11剪贴板获AI加持:智能清理背景与代码翻译
12月17日消息,科技媒体Windows Central近日披露,在一份美国专利商标局的公开文件中,发现微软提交了一项关于将Copilot AI深度集成至Windows剪贴板的新专利。
免费影视、动漫、音乐、游戏、小说资源长期稳定更新! 👉 点此立即查看 👈
该专利描述的是一种能够缓存复制数据,并利用AI进行智能化处理的系统。与传统的简单“复制粘贴”不同,新系统允许用户在粘贴前对内容进行“版本转换”或“格式重构”,外媒评价称这是微软近期最为务实且真正具备生产力价值的AI创新之一。

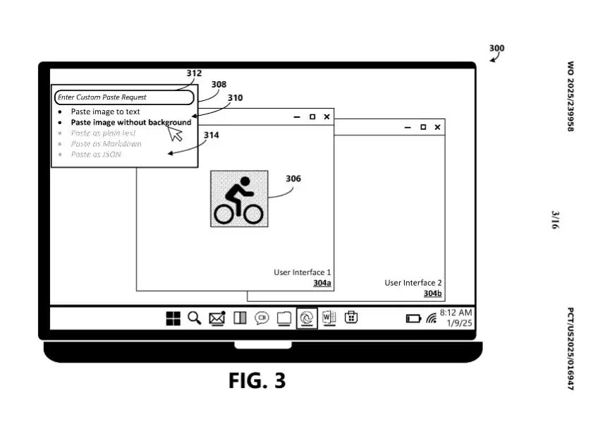
根据专利内容,这项增强版剪贴板的功能非常强大。对于普通用户,它支持一键移除复制图片中的背景,方便制作贴纸或演示素材;对于专业人士,它能将纯文本数据瞬间转换为结构化的表格,甚至直接生成适配网页的HTML代码。
此外,该系统还支持相互转换编程语言,并允许用户输入自定义提示词(Prompt),例如“将这段内容改为项目符号列表”。用户在执行粘贴动作前,可以预览所有AI处理后的结果,从而大幅减少了以往需要打开独立AI窗口进行格式调整的繁琐步骤。
虽然专利并不意味着一 定会转化为最终产品,但这项功能的雏形实际上已存在于微软的开源工具集PowerToys中。该功能被称为“高级粘贴(Advanced Paste)”,由Windows团队开发。

用户在安装PowerToys后,通过快捷键“Win + Shift + V”即可唤出界面。目前,基础的纯文本转换可直接使用,但若要体验更高级的AI转换功能,用户需要在设置中输入自己的OpenAI API密钥。
相关攻略
如何开启Win11内置的“多剪贴板同步”:开启跨电脑复制粘贴方法 有没有遇到过这种情况?在Windows 11的电脑A上复制了一段文字,想在电脑B上直接粘贴,却发现内容根本没同步过去。这通常不是功能失灵,而是几个关键的开关没打开。简单来说,问题可能出在剪贴板历史没启用、跨设备同步被关闭、微软账户没统
Windows 11全局字体替换:从“表面功夫”到“深度定制”的四步法 想在Windows 11里换掉系统默认字体,却发现“设置”里的调整只改了皮毛?这很正常。系统核心界面——比如资源管理器、右键菜单、标题栏,甚至UAC弹窗——依然牢牢锁定着Segoe UI字体族。要实现真正的全局字体“换血”,让系
如何解决Win11外接4K显示器字体过小的问题 将Windows 11连接到一台4K显示器,却发现桌面图标、文字和界面都变得难以辨认?这通常不是硬件问题,而是系统未能自动启用适合高分辨率屏幕的缩放机制。别担心,通过几个步骤调整,就能让外接大屏既清晰又舒适。 一、为外接4K显示器单独设置缩放比例 这个
想在Windows 11里直接跑Linux命令、用开发工具,甚至整个环境,但又不想折腾虚拟机或双系统?Windows Subsystem for Linux(WSL)就是那个官方支持、深度集成的答案。它提供了一键安装、手动配置和应用商店安装三种部署路径,支持命令行交互、单命令执行、路径映射,甚至通过
一、通过“设置”应用中的“关于”页面打开 想快速了解电脑的“底子”?最直接的办法就是打开系统“设置”。这个路径直接读取注册表和固件信息,为你提供一个最简洁的设备概览。无论是想确认处理器型号、内存大小,还是查看系统版本,这里一目了然,整个过程不需要管理员权限,也无需安装任何额外软件。 1、按下键盘上的
热门专题
热门推荐
说实话,每次看到别人在商务路演时拿出那种设计精良、气质高端的PPT,你是不是也暗自羡慕过?但咱们既不是专业设计师,又抽不出大把时间琢磨排版配色——这种困境我太懂了。好在现在有了Gamma这样的智能平台,它内置的模板系统能让你快速产出专业级PPT。今天我就以最经典的极简黑金风格为例,带你走一遍具体操作
苹果换帅:库克转任执行董事长,硬件负责人特努斯接任CEO 封面新闻记者 易弋力 科技界的一则重磅人事变动,终于在当地时间4月20日尘埃落定。美国苹果公司正式宣布,任命公司内部元老、长期执掌硬件业务的约翰·特努斯为下一任首席执行官,接替自2011年起便掌舵公司的蒂姆·库克。与此同时,苹果公司也确认,库
三角洲行动长弓溪谷藏宝堆位置全攻略 各位特战队员,S9赛季全新登场的“藏宝堆”你们都收集齐了吗?这并非普通的地形装饰,而是地图上带有独特牛角标记的珍贵容器。其背景源于阿萨拉人在收藏大师马苏德引领下开展的祈福仪式,为《三角洲行动》的战场探索增添了丰富的趣味性与文化深度。 《三角洲行动》长弓溪谷藏宝堆全
育碧近日透露,《刺客信条》系列的全新多人作《刺客信条CODENAME INVICTUS》正在稳步开发中 《刺客信条》的粉丝们,准备好迎接一次碘伏性的体验了吗?育碧不久前释放了一个重磅消息:系列的全新多人游戏《刺客信条CODENAME INVICTUS》正在稳步推进中。这一次,开发团队将重心完全转向了
一、访问学科网官网并进入注册页面 想用学科网的各种教学资源,第一步得有个自己的账号。这事儿得从官网走最靠谱,毕竟现在各种山寨网站不少,走错了门,不光注册不成,还可能碰到麻烦。我建议你直接打开浏览器,手动输入www zxxk com这个地址,这样能确保万无一失。 进来之后别眼花,首页内容挺多的。你直接





