谁是中本聪?HBO为何认为Len Sassaman可能性最大?
Len Sassaman是中本聪吗?为何HBO认为他最可能是中本聪?在加密行业人士活跃的Polymarket市场上,有34%的人认为HBO纪录片揭示的中本聪是Len Sassaman,远高于在行业较为出名的Hal Finney、Blockstream CEO Adam Back和智能合约之父Nick Szabo。
2025年主流加密货币交易所:
- 欧易OKX >>>进入官网<<< >>>官方下载<<<
- 币安Binance >>>进入官网<<< >>>官方下载<<<
那么Len Sassaman是谁?为何人们认为Len Sassaman最可能是中本聪呢?Worlds.org创始人Evan Hatch曾在2021年发表文章介绍了Len Sassaman的生平信息,以及Len Sassaman和中本聪之间种种相似之处,他相信Len Sassaman很可能就是比特币的直接贡献者中本聪。
原文标题“Len Sassaman and Satoshi: a Cypherpunk History”(Len Sassaman和中本聪:一个密码朋克的历史)。
我们已经失去了太多自 杀的黑客。如果中本聪是其中之一呢?
比特币网络的每个节点上都嵌入了一条讣告。它被嵌入到交易数据,用来纪念伦·萨萨曼(Len Sassaman),他本质上已在区块链中永垂不朽。从很多方面来说,这都是一次恰当的致敬。
区块138725
Len 是一位真正的密码朋克——才华横溢、不羁且理想主义。他一生致力于通过密码学捍卫个人自由,曾担任 PGP 加密和开源隐私技术的开发人员,并在区块链发明者 David Chaum 的指导下担任研究 P2P 网络的学术密码学家。
他也是黑客社区的支柱:是信息安全和加密货币历史上许多重要人物的朋友和影响力人物。那么为什么大家认为Len Sassaman是中本聪?有什么理由呢?下面一起看看吧!
失去中本聪
据说,Len有望成为他那个时代最重要的密码学家之一。但在与抑郁症和功能性神经障碍长期斗争后,2011 年 7 月 3 日,他不幸自 杀,年仅 31 岁。
他的去世恰逢世界上最著名的密码朋克:中本聪的消失。在 Len 去世前仅 2 个月,中本聪发来了他最后的通信:
- 我已转向其他事情并且将来可能不会再在这里。
在一年的时间里,中本聪提交了 169 个代码,发表了 539 篇帖子,然后就消失了,没有任何解释。他留下了一大堆未完成的功能、关于他对比特币愿景的激烈争论,以及一笔至今仍未动用的640 亿美元 BTC财富。
我们已经失去了太多自 杀的黑客。亚伦·斯沃茨 (Aaron Swartz)、吉恩·坎 (Gene Kan)、伊利亚·日托米尔斯基 (Ilya Zhitomirskiy ) 、詹姆斯·多兰 (James Dolan)。他们都是受害者,也是一场让技术进步本身付出代价的流行病。想象一下,如果比特币的创造者在去世之前实现目标。如果这是真的,如果他们得到了应有的关心和尊严,他们会给世界带来什么?
我不太愿意猜测中本聪的身份,因为有关他的讨论通常都是误导性的,甚至是彻头彻尾的愚蠢和不道德的。但是,随着 Craig Wright 欺骗性地宣称自己创造了比特币,我们有必要重新审视这个话题,并重新讨论真正创造了比特币的密码朋克。
无论中本聪是谁,他都“站在巨人的肩膀上”——比特币是密码朋克社区数十年积累的研究和讨论的顶峰。从这个意义上说,Len 无疑是间接贡献者。然而,人们不禁要问,究竟是谁编写了代码、运行了第一个节点,并使用中本聪的假名发帖。
为了综合并实施比特币所基于的无数想法,该人或该群体需要具备独特的专业知识组合,涵盖公钥基础设施、学术密码学、P2P 网络设计、实用安全架构和隐私技术。他们可能深深扎根于密码朋克社区,并与那些对加密货币产生重大影响的人物相邻。最后,他们需要有意识形态信念和黑客精神,才能“撸起袖子”,匿名构建一个现实世界版本的思想,而这些思想之前一直被归入理论领域。
当我思考 Len 的生活时,我看到许多相同的特征,我认为 Len 很有可能是比特币的直接贡献者。
鉴于加密货币受到前所未有的关注,我希望能够让人们关注到我们应归功于的一位“无名英雄”。我还希望我们能够反思解决精神疾病,尤其是功能性神经障碍的重大意义,这些疾病值得更多关注。
起源
Len
甚至在年轻时就是一名自学成才的技术专家,对密码学和协议开发情有独钟。尽管 Len 住在宾夕法尼亚州的一个小镇,但 18 岁时他就加入了互联网工程任务组,负责互联网底层的 TCP/IP 协议,后来又负责比特币网络。
“因为聪明,所以总是有点古怪”,Len十几岁时被诊断患有抑郁症。不幸的是,他在“边缘虐 待狂”精神病医生的手中遭受了创伤,这种经历可能会让人不信任所谓的权威人物。
1999 年,Len 搬到了湾区,并很快成为Cypherpunk 社区的常客。他与 Mojo 和 Bittorrent 的创始人 Bram Cohen 同住,并成为传奇 Cypherpunk 邮件列表的贡献者,Satoshi 正是在该邮件列表中首次宣布了比特币。其他黑客记得他聪明而轻松,在 Cypherpunk 会议上追赶松鼠(chasing down a squirre,译者注:容易被新想法分散自己的注意力),开着一辆跑车飞驰,车上还贴着一张“免费出狱(Get Out of JaiFree)”卡以防被拦下。
在旧金山,Len致力于通过技术和政治直接行动捍卫个人自由和隐私。21 岁时,他因组织抗议 政府监控以及监禁黑客德米特里·斯凯拉罗夫(Dmitri Skylarov)而登上头条新闻。
PGP
在他的职业生涯早期,Len 就以公钥加密(比特币的基础)领域的权威而出名。到 22 岁时,他就在会议上发表演讲,并与著名的开源活动家 Bruce Perens 一起创立了一家公钥加密初创公司。
在互联网泡沫破灭后,这家初创公司倒闭了,Len 加入了 Network Associates,帮助开发PGP 加密技术,这是比特币的核心。在 2001 年 PGP7 发布期间,Len为OpenPGP 实现设置了互操作性测试,这使他与许多重要的加密先驱建立了联系。Len 还为 OpenPGP 的 GNU Privacy Guard 实现做出了贡献,并与 PGP 发明者 PhiZimmerman 合作发明了一种新的加密协议。
在介绍比特币时,中本聪表示,他希望比特币能够在“货币也用到”和用于保护文件安全一样的强加密技术(即 PGP)。
- 上一代,多用户分时计算机系统也存在类似的问题。在强加密出现之前,用户必须依赖密码保护……
- 随后,强加密技术开始为大众所用,信任不再是必需的。……现在我们该对货币也实行同样的做法了。
哈尔·芬尼(HaFinney)
在 Network Associates,Len 与 HaFinney 一起开发 PGP。Finney是第二位 PGP 开发人员,并帮助创建了 OpenPGP 互操作性的 RFC 4880 标准。他也是继中本聪之后最早也是最重要的比特币贡献者:
- 芬尼是除中本聪之外第一个为比特币代码做出贡献并运行比特币节点的人。
- 芬尼是比特币(由中本聪亲自发送)的第一个接收者。
- 芬尼发明了可重复使用工作量证明(Reusable Proofs of Work)的概念,比特币的挖矿就是以此为基础的。
- 早在比特币发布之前,中本聪就与芬尼进行了广泛的交流。在他最后的一篇博文中,中本聪公开表达了对芬尼的敬意。
毫不奇怪,芬尼是中本聪最受欢迎的候选人之一,尽管这意味着芬尼伪造了他与中本聪的大量电子邮件互动,并同时以真名和另一个假身份为比特币做出贡献。在中本聪于 2011 年“离开”后,芬尼仍将继续致力于比特币。
邮件转发技术(Remailers)
Len 和 Finney 拥有一项非常罕见且相关的技能:他们都是比特币前身邮件转发技术的开发者。
Remailers和加密货币都由David Chaum提出,Remailers是一种用于匿名或假名发送信息的专用服务器。在向 Cypherpunk 邮件列表投稿时,使用它们非常普遍,而该列表本身就是基于分布式邮件转发程序构建的。
II 型邮件转发器示意图
早期的邮件转发程序只是在转发信息的同时隐藏发件人的身份,而后来的协议(如 Mixmaster,最流行的邮件转发程序)则依靠分散节点在 P2P 网络上分发固定大小的加密信息块。比特币的架构与邮件转发程序非常相似,尽管其节点传输的是交易数据而不是消息。1997 年,加密无政府主义者创始人 Tim May 甚至提出了一种基于邮件转发程序的数字货币。
作为Mixmaster的主要开发人员、节点操作员和主要维护者,Len 是邮件转发技术的杰出专家。他还作为隐私卫士Anonymizer的系统工程师和安全架构师实施了类似的技术。
邮件转发技术不仅是比特币的直接技术先驱,也是比特币思想史的基础。在《为何需要邮件转发程序》一文中,芬尼认为邮件转发技术是匿名数字经济的基础。
- 邮件转发技术代表了这一思想殿堂的“底层”,即在不暴露真实身份的情况下私下交换信息的能力。我们可以进行交易、出示凭证并达成交易的方式,没有政府或企业数据库来跟踪我们的一举一动。
- 密码朋克的一个愿景包括使用“数字现金”匿名进行交易的能力……这是匿名邮件发挥重要作用的另一个领域。
邮件转发程序运营商是第一批认识到加密货币需求的人:如果没有匿名支付手段,邮件转发程序就必须由运营商自掏腰包运行。这带来了可扩展性问题,意味着垃圾邮件和滥用是一个持续存在的问题。正因为如此,许多加密货币的基本概念都源于对一种抗滥用、以营利为目的的邮件转发程序的需求:
- 1994 年,芬尼提出可以通过匿名“代币”和“现金代币”将邮件转发程序货币化。
- 智能合约最初是在防止邮件转发程序滥用的背景下被讨论的。Nick Szabo在1997 年发表了一篇关于智能合约的有先见之明的论文,其中特别提到了 Mixmaster。
- Ian Goldberg 和 Ryan Lackey(Len 都认识他们)是邮件转发社区的重要人物,他们于 1998 年参与开发了一种名为HINDE的未完成加密货币。Ian 后来创建了几个早期的 ecash 客户端,而 Ryan 则成为了 Tezos 的 CSO。
因此,中本聪关于比特币的第二篇文章指出,付费发送电子邮件是比特币的第一个工作用例。
- 最初它可以用于几乎免费但不完全免费服务的工作量证明应用程序。
- 它已经可以用于付费发送电子邮件。发送对话框可以调整大小,你可以输入任意长度的消息。
Adam Back
在小型邮件转发社区中与 Len 有过交集的是 Blockstream 首席执行官 Adam Back,他是第一个与中本聪进行交流的人。
Back 对加密货币的兴趣始于运营邮件转发程序,他为邮件转发程序运营商创建了 HashCash 工作量证明系统,以对抗垃圾邮件和 DDOS 攻击。中本聪后来将 HashCash 作为比特币挖矿的基础。
我们知道 Len 直接与 Back 合作,将他列为研究论文和Mixmaster 备忘录的贡献者。两人都参与了许多 OpenPGP 实现,并在彼此的 PGP 信任网络中相互联系。
有趣的是,Back 本人曾暗示Satoshi可能是一名邮件转发程序开发人员,并指出开发人员会“[实践] 他们自己的技术”以匿名方式参与加密协议讨论。与讨论过的许多 Cypherpunk 不同,我们知道Len 通过邮件转发程序为 Cypherpunk 邮件列表做出了大量匿名贡献。
布拉姆·科恩(Bram Cohen)对本文的回应,暗示他和哈尔·芬尼可能曾以假名合作
Chaum 与 COSIC
高中毕业后,Len 打工养家,从未有机会上大学。尽管如此,2004 年,他还是获得了“梦想的工作”,成为比利时鲁汶天主教大学计算机安全和工业密码学研究小组COSIC 的研究员和博士生。
Len 在 COSIC 的博士导师正是“数字货币之父”David Chaum。虽然 Chaum 为整个密码朋克运动和所有加密货币奠定了基础,但很少有人可以说自己曾直接与他合作过。
Chaum 的一些相关成就:
- 他在 1983 年的论文“不可追踪支付的盲签名”中发明了加密货币。
- 区块链的发明,他在1982 年的论文中详细介绍了区块链除一个元素之外的所有元素的代码,这些元素均在比特币白皮书中详细说明。
- 他的公司Digicash创建了第一个电子现金系统。数字假名之间的匿名支付是这一愿景的核心。
- “[Chaum] 身处一场似乎势不可挡的运动的中心——货币数字化……数字货币时代的不确定因素是匿名性,David Chaum 认为,如果没有匿名性,我们就会陷入困境”
虽然 Digicash 失败了(部分原因是依赖中心化系统),但 Chaum 希望创建第二种数字货币,以提供匿名性和实用性的结合。
尽管许多人将其失败视为数字现金不可行的证据,但中本聪捍卫了“旧 Chaumian 货币”,同时承认中心化化带来的问题。
- 很多人自动认为电子货币是注定要失败的,因为自 20 世纪 90 年代以来,许多公司都倒闭了。我希望大家能明白,正是这些系统的中心控制性质注定了它们的失败。
Len 的研究
Len 在比利时的 COSIC 工作直至 2011 年去世。在此期间,他发表了45 篇论文,并担任过 20 个会议委员会职位。
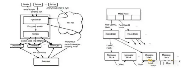
Len 的研究重点是开发具有“实际适用性”和工作代码的隐私增强协议。他的主要项目(由 Bram Cohen 协助)是Pynchon Gate,这是邮件转发技术的一种演变,允许通过分布式节点网络进行匿名信息检索,而无需可信的第三方。
Pynchon Gate 和元索引 + bucket poo架构
这项工作与比特币息息相关——随着 Pynchon Gate 工作的进展,Len 越来越专注于寻找拜占庭故障 (又名拜占庭将军问题)的解决方案,这曾是早期 P2P 网络的主要障碍。
拜占庭将军问题示意图
在分布式计算的背景下,拜占庭容错是指网络即使节点受到损害或不可靠也能保持正常运行的能力。 拜占庭故障是实现安全、去中心化、没有双重支付或可信第三方的加密货币最大的问题之一。 中本聪最重要的创新是“三式记账”(triple-entry)会计系统,该系统使用 Chaum 引入的区块链解决了这个问题。
在 2008 年至 2010 年比特币的发展过程中,Len 在金融密码学领域日益活跃。他加入了国际金融密码学协会,并在金融密码学和数据会议上发表演讲,并在会议上担任委员会成员。后者由罗伯特·赫廷加 (Robert Hettinga) 创立,他是数字现金的早期和杰出倡导者,数字现金是会议上的主要话题。
作为学者的中本聪
大量线索表明,中本聪在比特币开发期间曾在学术界工作,这一想法得到了比特币基金会创始人加文·安德森 (Gavin Andersen)的认同。
- “我认为他是一名学者,也许是一名博士后,也许是一名教授,只是不想引起注意。”
在暑假和寒假期间,中本聪的代码贡献和评论急剧增加,但在春末和年底逐渐减少,因为那时学者要参加期末考试或评分。
比特币代码的独特构造也表明中本聪有学术背景。比特币被描述为“才华横溢但粗心大意”,避开了单元测试等传统软件开发实践,但展现了尖端的安全架构和对学术密码学和经济学的专家理解。
- 无论是谁做的,都对密码学有着深刻的理解......他们读过学术论文,他们有着敏锐的智慧,并且他们以一种真正的新方式将这些概念结合在一起。
当著名安全研究员 Dan Kaminsky 第一次审查 Satoshi 的代码时,他尝试用 9 种不同的漏洞对其进行渗透测试,但惊讶地发现Satoshi 已经预料到并修补了所有漏洞。
- “我想到了一些漂亮的 bug,但每次我查看代码时都会发现一行代码可以解决问题……我从来没有见过这样的事情。”
这可能表明 Satoshi 和 Kaminsky 拥有共同的信息安全经验和专业知识。巧合的是,Len 和 Kaminsky 共同撰写并发表了一篇论文演示攻击公钥基础设施的方法。
此外,比特币白皮书以 Cypherpunk 邮件列表中罕见的形式发布——一份 LaTeX 格式的研究论文,其中包含摘要、结论和 MLA 引文等学术内容。相比之下,Bitgold和b-money等其他提案则是非结构化的博客文章。
中本聪在欧洲
由于 COSIC 的总部位于鲁汶,因此 Len 在比特币发展期间居住在比利时。这一点十分重要,因为许多事实表明 Satoshi 居住在欧洲——这是《纽约客》早期调查的主要焦点。
中本聪的写作风格体现了英式英语的拼写和词汇选择,例如“ bloody hard”、“flat”、“maths”、“grey”,以及 dd/mm/yyyy 日期格式。不过,中本聪也提到了欧元而不是英镑。
比特币的创世区块还包含当天《泰晤 士报 》的头条新闻(“泰晤 士报 2009 年 1 月 3 日,财政大臣即将对银行实施第二次救助-The Times 03/Jan/2009 Chancellor on brink of second bailout for banks")。该标题是印刷版特有的,仅在英国和欧洲发行。2009 年,《泰晤 士报》是比利时十大报纸之一,并且“由于其在图书馆中广泛发行且索引详细,因此被学者和研究人员广泛使用”。
这些线索给我们留下了一个悖论:它们表明中本聪是欧洲人,但拥有必备技能并了解比特币主要影响的人很可能是美国人。密码朋克社区的大部分成员都联合召开会议和聚会,这也是为什么来自美国尤其是旧金山的人比例过高的原因之一。同样,可以获得尖端专业信息安全和加密经验的工作也集中在美国。
奇怪的是,尽管 Len 是美国人,但他使用的英式英语与 Satoshi 一模一样。
分析Satoshi 的发帖历史,可以发现他是一位欧洲“夜猫子”,白天下班或放学后就从事比特币工作。Satoshi 还曾表示,挖矿难度的增加发生在“昨天”,但如果他住在美国,那情况就不一样了。
- 假设 Satoshi 过着与比特币无关的生活,那么他在工作或学习期间大部分时间都不在家里的电脑前工作……如果 Satoshi 生活在 BST 时区,那么他大部分时间都在晚上工作,经常工作到凌晨
当我们检查 Len 的推文历史时,我们发现 Satoshi 的帖子和代码提交的时间戳与 Len 自己的深夜活动时间非常吻合。
P2P 网络
虽然比特币不是第一个加密货币,但它是第一个基于完全 P2P 分布式网络的加密货币。中本聪第一次提到比特币时就强调了这一点的重要性:
- 我一直在研究一种完全点对点的、不需要可信第三方的新型电子现金系统
Dan Kaminsky表示,为了创建比特币,中本聪需要“了解经济学、密码学和 P2P 网络”,而Len 则对这三个学科以及它们在数字货币中的应用有着异常早的深入了解。
Bram 和 Len 接受 CodeCon 采访
在旧金山期间,Len与最广泛使用的 P2P 协议 BitTorrent 的创建者Bram Cohen 一起生活和合作。在此期间(2000-2002 年),Bram 开发了一个名为MojoNation 的革命性 P2P 网络,该网络使用“Mojo 代币”数字货币,使其成为首批公开发行的数字货币之一。
在 MojoNation 的 P2P 经济中,“代币”可以兑换文件存储,这些文件将被加密并编码为“区块”,上传到托管公共账本的分布式节点网络,这让人想起比特币自己的分布式双边会计系统。Mojo 不仅仅是一种内部会计代币,而是一种完整的货币——它可以兑换美元,反之亦然。代币经济学的一些早期讨论涉及 Mojo 代币的机制。
- 一单位 Mojo 代表整个系统当前功能的一部分。如果你现在为我工作,我会给你积分,将来当网络规模更大时,这些积分将代表更大蛋糕的一部分,因此当你花费它们时,它们的价值会增加。
中本聪以非常相似的方式讨论了代币经济学,引用了 BitTorrent
- 可转让工作量证明代币要有价值,就必须具有货币价值。要有货币价值,它们必须在非常大的网络中转移 — —例如类似于 BitTorrent 的文件交易网络。
尽管富有远见,但 MojoNation 的经济很快就因恶性通货膨胀而崩溃。中本聪有意识地设计了比特币,通过内置通货紧缩和不依赖中央“铸币”服务器来避免这种命运。
2001 年,Bram推出了 BitTorrent。作为中心化 Napster 的 P2P 替代品,BitTorrent 预示了比特币自己的分布式节点拓扑和共识系统,以及协议级激励系统。BitTorrent 不仅在技术层面上对 Gnutella 等网络进行了创新,还利用了经济激励和博弈论。
Bittorent 的设计与 Napster 相比
Len很有先见之明地告诉 Bram,“BitTorrent 将使他比 [Napster 创始人] Sean Fanning 更伟大”。Satoshi后来在解释完全去中心化网络的必要性时提到了 Napster 。
- 政府擅长切断 Napster 等中心化控制网络的领导,但 Gnutella 和 Tor 等纯 P2P 网络似乎还能保持自己的地位。
巧合的是,Len 和 Tor 创始人 Roger Dingledine 都参与了 Mixminion 邮件转发协议的开发,在 Black Hat 大会上共同发表演讲,并共同创立了HotPETS 会议。
2002 年,Len 和 Bram 共同创办了 CodeCon 会议,重点关注“具有实用代码的高度实用项目”。在 2005 年的 CodeCon 上,Finney通过经过修改的 BitTorrent 客户端介绍了可重复使用的工作量证明,该客户端发送 P2P 数字货币。一位评论员将其描述为:
- ...世界上第一个透明服务器,它可以促进分布式、协作的 RPOW 服务器世界。
数字货币是首届CodeCon上的一个热门话题,其中包括 Adam Back 的 HashCash 演示以及 Zooko 介绍的 Mnet,后者是 MojoNation 的完全开源和去中心化的继任者。Mojo 不隶属于任何一家公司,可以独立审计,而 Satoshi认为这两点都 至关重要。
Mnet客户端截图
MojoNation 联合创始人 Zooko Wilcox 和 Jim McCoy 也成为了比特币和加密货币先驱的灵感来源。Zooko 是Satoshi 的首批合作者之一,也是 Digicash 的 David Chaum 的员工,在 Bitcoin.org 上发布比特币 v0.1 时,Satoshi 附上了Zooko 博客的链接。Zooko 后来创立了以隐私为重点的主要加密货币 Zcash。他创建了经常被讨论的“Zooko不可能三角”框架。
“Zooko不可能三角是网络协议参与者名称通常被认为具有的三个属性的三难困境”
麦考伊 (McCoy) 也是加密货币领域的重要影响力人物,DigitaCurrency Group的Ryan Selkis表示,他相信麦考伊可能是中本聪。
黑客行动主义(Hacktivism)
即使以密码朋克社区的标准来看,Len 和 Satoshi 都具有特别强烈的意识形态信念和对开放知识的承诺。
- 我希望你不要一直谈论我……也许可以谈谈开源项目,并给予你的开发贡献者更多的荣誉
中本聪通过免费开源草根项目分发比特币的“黑客行动主义”方法与他们的前辈形成了鲜明对比。Chaum、Stefan Brand、eCash 和其他人采取了截然不同的方法:申请专利、成立封闭源代码风险投资公司,并试图通过企业合作推动采用。
这与 Len 对 PGP、Mixmaster、GNU Privacy Guard 等开源项目的广泛贡献以及他在 Shmoo Group 等团体中的丰富志愿者经验相似。
在回应这个故事时,Bram 表示 Len 偏爱匿名发布
中本聪多次暗示他的意识形态倾向,称比特币“对自由主义者的观点非常有吸引力”,并且可以“在军备竞赛中赢得一场重大战役,并在几年内获得一片新的自由领土”。
Len同样热衷于捍卫开放知识和技术进步,避免受到企业和政府的干涉。
- 追求知识是人类的基本组成部分。在我看来,任何形式的事先限制都是对我们思想和意识自由的侵犯。因此,我不仅希望我们能够避免过度限制性的下意识立法……我不希望看到任何人建立一个可能被误用于此目的的框架。
结语
正如中本聪用假名创造了比特币一样,Len在某种意义上被迫生活在自己的角色之下。2006年发生事故后,Len的非癫痫发作和功能性神经问题日益严重,这加剧了他自青年时代以来一直与之抗争的抑郁症。
作为受害者,Len“感觉他必须继续保持自己那个超级能干的人的假象”,并且“非常害怕”他每况愈下的健康状况会终结他的工作并令他关心的人失望。
尽管面临这些挑战,Len仍坚持工作,直到去世前几个月,为论文做出贡献,甚至在达特茅斯发表演讲。可悲的是,他成功地向生活中的几乎所有人隐瞒了他处境的严重性。
- 很少有人知道事情发展到了什么程度……我反复听到的一句话是“我们从来不知道,看起来他过得很好”。
Len 去世前不久在达特茅斯发表演讲
正如 Len 在他之前的想法的基础上进行构建一样,人们感觉到他致力于构建能够比他更持久的事物,这也是他致力于开源和开放知识的原因之一。
- 这是我们的遗产,我们的研究成果和想法,它们将带来历史上人类从未有机会获得的知识,我们将把这些知识传给子孙后代。我们需要确保我们不会陷入无法将研究成果分享给他人的困境,确保这些成果不会被锁在知识产权律师的保险库里。
2011 年 Len 去世,这对密码朋克和整个科技界来说都是一个巨大的损失,这一事实反映在随后涌现的大量回忆和同情中。其中一条评论让我印象深刻,“pablos08”在 Hacker News 上发表的一篇文章:
- 我和 Len 成为了朋友,在那个年代,我们都是密码朋克的共同参与者,当时那还是一个蛮荒的边境。我们重新构想了我们的世界,这个世界充斥着密码系统,这些系统将以数学方式强制执行我们珍视的自由。匿名邮件转发程序可以保护言论不受报复;洋葱路由器可以确保没有人可以审查互联网;数字现金可以实现完全自由的经济。我们有计划去中心化和分发一切。
- 我们设想未来可能遇到的问题会面临复杂而深奥的威胁——我们设计未来协议来抵御这些威胁。所有这些都是极客乌托邦式的学术实践。我倾向于保持这种状态,但伦想要亲身实践。
- 密码朋克编写代码。
热门专题
热门推荐
首先安装 Git 版本控制工具 要在您的 Windows 电脑上安装 Git,操作非常简单。只需打开终端或命令提示符,输入下面的安装命令,即可快速完成部署。 winget install git git 安装 Ollama 本地 AI 客户端 现在有个好消息分享给大家:最新版本的 Ollama 已经
战术射击大作《三角洲行动》国服DAU突破5000万,官方发布重磅福利共庆里程碑 近日,射击游戏市场捷报频传——战术射击网游《三角洲行动》国服日活跃用户数(DAU)正式突破5000万大关。这一数据不仅是游戏上线后的关键性成就,也标志着其已牢固占据国内战术射击类游戏的领先地位。为纪念这一里程碑式的突破,
追觅INNIX Aura Mini LED R8000F电视评测:全球首创动态声擎,实现声音智能追踪 你是否想过,家中的电视机能够智能感知你的位置,并让声音始终追随你的双耳?这已不再是科幻构想。在刚刚闭幕的以“AI科技 慧享未来”为主题的AWE2026展会上,追觅INNIX旗下的一款Mini LED
揭秘索尼 PSSR 技术方案:PlayStation 5 Pro 首席架构师详解 INT8 数据格式优势 2024年3月27日,行业传来一则关键信息。索尼PlayStation 5系列产品首席系统架构师Mark Cerny在接受著名技术媒体Digital Foundry专访时正式确认,最新推出的PS
恐龙蛋孵化全面指南:从获取到培育全流程详解 在热门游戏《龙岛异兽起源》中,拥有一只专属的恐龙伙伴是每位玩家的核心目标,而这段旅程始于一枚蛋。获取恐龙蛋主要有以下几种途径:完成主线或支线任务、探索地图上的神秘区域与隐藏地点,以及积极参与游戏内的节日或限时活动。得到恐龙蛋后,首要任务是建立一个安全的孵化




























