智元机器人再度入股具身智能公司Astribot
11月28日,界面新闻通过天眼查获悉,智身科技(北京)有限公司发生工商变更,新增智元机器人关联公司智元创新(上海)科技股份有限公司为股东,同时注册资本由约2132.6万元增至约2149.9万元。
免费影视、动漫、音乐、游戏、小说资源长期稳定更新! 👉 点此立即查看 👈

智身科技(北京)有限公司股东情况数据来源:天眼查
智身科技成立于2024年12月,法定代表人为黄坤,经营范围涵盖智能机器人的研发、物联网设备制造、智能机器人销售、人工智能理论与算法软件开发等多个领域。公开信息显示,该公司在具身智能领域,主要覆盖从核心零部件研发到整机智能制造的全流程。公司现由管明尧、傅建荣、天津海海企业管理咨询合伙企业(有限合伙)及上述新增股东等共同持股。
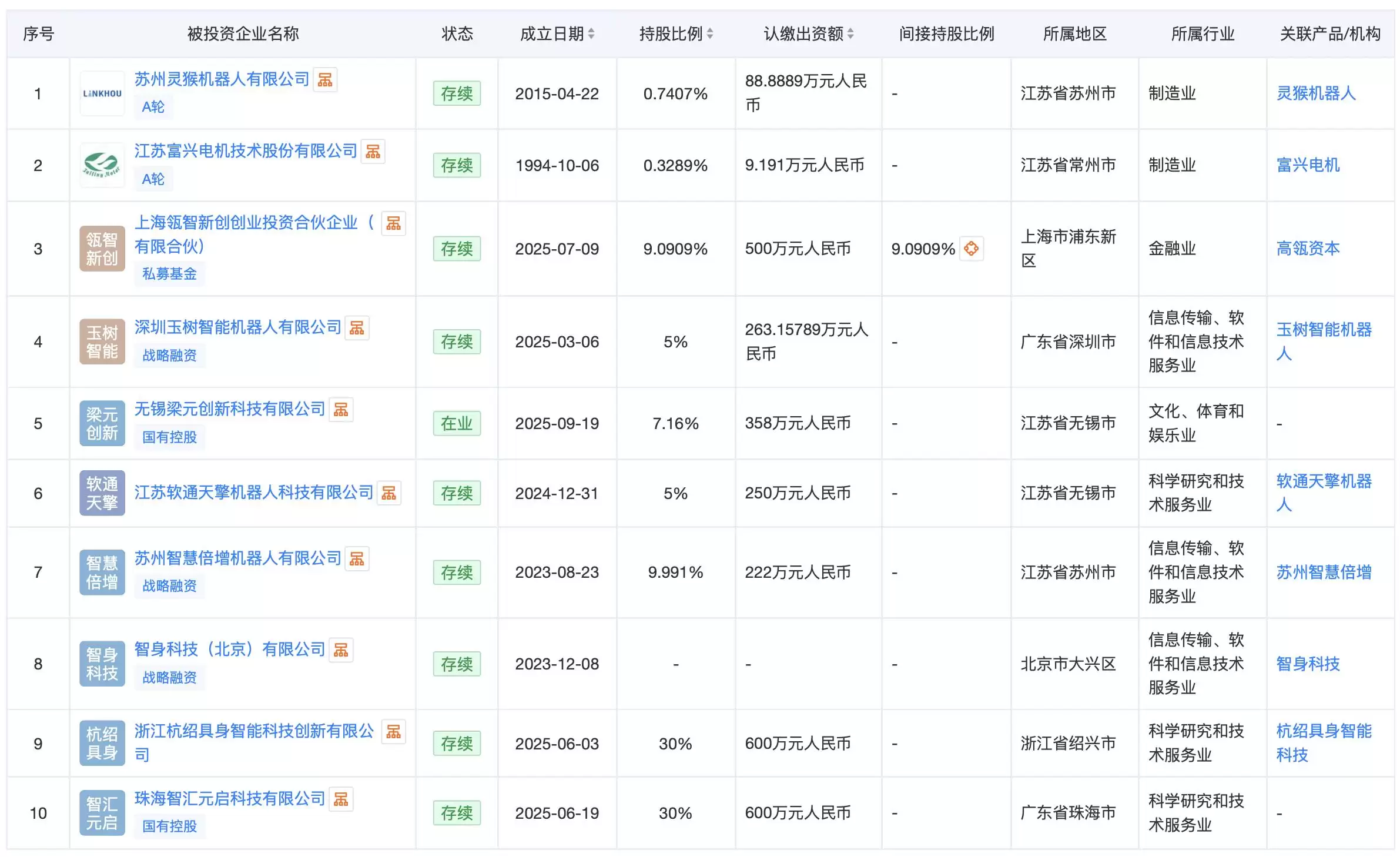
这也是智元机器人对外投资的最新动向,但未公布具体的持股比例。天眼查显示,当前智元机器人直接投资的公司已超过40家,间接对外投资公司12家。

智元机器人部分对外投资情况数据来源:天眼查
智元机器人(AgiBot)是成立于2024年2月的中国智能机器人品牌,隶属于上海智元创新科技有限公司。其由前华为“天才少年”彭志辉(稚晖君)创立。
公司成立后已完成多轮融资,并发布首款双足人形机器人“远征A1”。2024年,智元机器人推出“远征”与“灵犀”系列五款商用机型,灵犀X1 later面向全球正式开源。
进入2025年,其实现通用机器人量产,累计下线超千台,还发布了四足机器人D1系列、灵犀X2、智元精灵G2等产品,并推出灵创平台。
在加快开发机器人相关产品的同时,该公司在资本运作和产业布局上动作频繁。成立至今,其已投资或与外部各类产业方、机构等合资设立众多公司,业务方向广泛,覆盖具身智能领域的本体及大模型、关键零部件等。
在本体及大模型领域,智元投资了数字华夏、首形科技、灵初智能、星源智机器人等公司。其中,数字华夏与智元机器人联合开发了仿生机器人夏洛。灵初智能推出的Psi R1模型,具备基于“Chain of Action Thought (CoAT)” 框架的自主推理能力。
在关键零部件企业方面,智元也有所涉足,投资了千觉机器人、灵猴机器人、富兴电机等。千觉机器人的核心产品包括高分辨率多模态触觉传感器等;灵猴机器人的产品覆盖视觉组件以及直线电机等运动部件;富兴电机则生产全系列伺服电机等产品。从所投资的企业主营业务来看,智元机器人或希望借此提升其供应链的稳定性,推动本体开发与零部件技术协同发展。
除上述投资外,智元机器人近期最受外界关注的动作无疑是入股上纬新材料。11月6日,智元机器人完成对上纬新材料的要约收购,持有上纬新材料2.4亿股股份,占总股本的58.6232%,其一致行动人共计持有上纬新材料2.6亿股股份,占总股本的63.6232%。
11月25日晚间,上纬新材料发布公告称,董事会会议选举彭志辉为第四届董事会董事长,田华为首席执行官(CEO),并担任法定代表人。同时,董事会还选举了多位董事及管理人员。
此前,市场曾传出智元机器人计划明年在香港上市,估值为51亿美元至64亿美元,但智元相关负责人已否认该消息。而上纬新材料也在公告中表示,短期内智元创新不存在借壳上市的计划。
热门专题
热门推荐
加密货币行业翘首以盼的监管里程碑,终于有了实质性进展。美国证券交易委员会(SEC)主席保罗·阿特金斯(Paul Atkins)近日证实,那份允许加密项目在早期获得注册豁免权的“安全港”框架提案,已经正式送抵白宫,进入了最终审查阶段。 在范德堡大学与区块链协会联合举办的数字资产峰会上,阿特金斯透露了这
微策略Strategy报告:第一季录得144 6亿美元浮亏 再斥资约3 3亿美元买进4871枚比特币 市场震荡的威力有多大?看看Strategy的最新季报就明白了。根据其最新向美国证管会(SEC)提交的8-K报告,受市场剧烈波动影响,这家公司所持的比特币在第一季度录得了一笔惊人的数字——144 6亿
稳定币巨头Tether的动向,向来是加密世界的风向标。这不,它向Web3基础设施的版图扩张,又迈出了关键一步。公司执行长Paolo Ardoino在社交平台X上透露,其工程团队正在全力“烹制”一个新项目——去中心化搜索引擎 “Hypersearch”。这个消息一出,立刻引发了行业的广泛猜想。 采用D
基地位于Coinbase旗下以太坊Layer2网络Base的Seamless Protocol,日前正式宣告了服务的终结。这个曾经吸引了超过20万用户的原生DeFi借贷协议,在运营不到三年后,终究没能跑赢时间。它主打的核心产品是Integrated Leverage Markets(ILMs)——一
PAAL代币揭秘:深度解析Web3社区治理的核心钥匙 在去中心化自治组织的浪潮中,谁真正掌握了项目的话语权?PAAL代币提供了一套系统化的答案。它不仅是生态内流转的价值媒介,更是开启链上治理大门的核心凭证。通过持有并质押PAAL代币,用户能够对协议升级、资金分配乃至战略方向等关键事务投出决定性的一票





