罗马仕充电宝召回16.7万件,2500万股权遭冻结警示
10月21日传来消息,沉寂许久的罗马仕再度引发关注——超过2500万股股权被法院冻结,累计召回的充电宝已高达16.7万件。曾被誉为「性价比之王」的品牌,为何一步步走到了今天?
此前国家企业信用信息公示系统显示,江门罗马仕科技有限公司两笔股权被冻结,一笔约210万股,另一笔直接高达2313万股,合计超过2500万股。更严峻的是,母公司深圳罗马仕所持有的江门子公司175万股同样遭到冻结。

图源:微博
或许有人觉得「股权冻结不等于倒闭」,但对一家消费电子公司来说,这往往是资金链紧绷的明确信号,说白了就是外部存在债务纠纷,债权人申请法院冻结了资产。
而股权冻结只是「雪上加霜」。众所周知,真正的导火索是上半年的安全风波。
今年6月,北京多所高校直接下发通知禁用罗马仕充电宝,理由更是让人心惊:充电时可能出现燃烧、爆炸。这则消息一出立刻冲上热搜,身边好几位用罗马仕的朋友都赶紧翻看自己的充电宝型号。
罗马仕当时道歉还算及时,两天后就宣布召回49万多台充电宝,涉及三款型号。到9月底,累计召回数量已达16.7万件,退款金额超过2283万元。

图源:微博
但更尴尬的是,一开始网店保证金都不够用,消费者得排队等退款,最后还是市场监督管理局出面协调才解决。说实话,这波操作让不少老用户感到心寒,大家当初选择它,不正是图个大品牌省心吗?
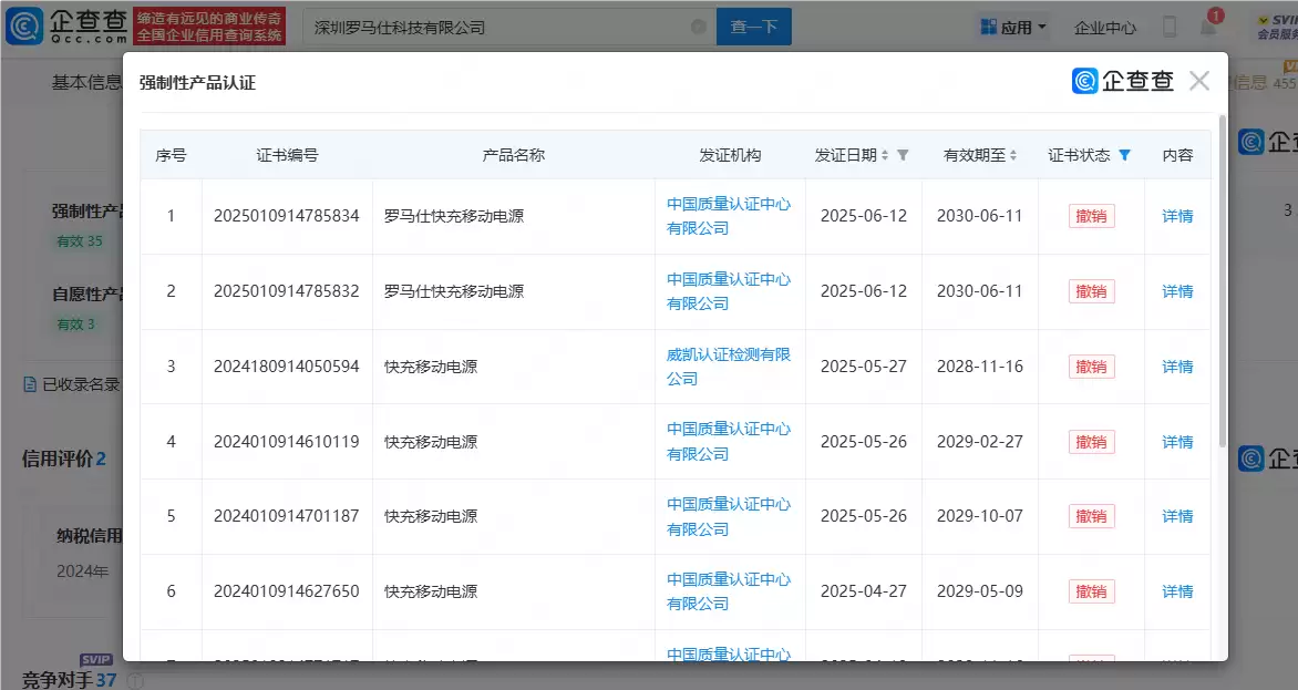
更要命的是,9月中旬它多款快充产品的3C认证还被撤销了。这可不是小事,做充电设备没有3C认证,等于失去了合法生产的资格。公告里写的原因也颇为刺眼:证书暂停后不整改、不申请恢复,相当于自己放弃了合规身份。

图源:微博
看到这里可能有人要问,曾经的「充电宝一哥」怎么突然就不行了?要知道罗马仕当年何等风光,连续11年蝉联天猫双11销冠,2万毫安的充电宝还不到一百块钱,「价格屠夫」的名号就是这么来的,年出货量能达到5000万件。
小雷的第一台充电宝就是买的罗马仕,当时觉得性价比绝了,没想到如今跌得这么惨。
在我看来,根源还是「性价比」背后的隐患。为了压低成本,可能在供应链上放松了把控。这次召回原因就明说了,是部分电芯原材料有问题,极端场景下会有风险。
更糟的是,上游供应商也掉了链子,给它供电芯的安普瑞斯之前还被罚款,资金链也紧。一环扣一环,最后全崩了。

图源:小红书
现在罗马仕的日子是真的难了。7月就发了停工停产通知,要停半年,除了处理召回的员工,其他人都放假,工资只发到6月份,不少员工还在维权讨薪。天猫淘宝旗舰店都关了,京东店里只剩充电线这些小配件,充电宝全没了踪影。
小雷认为,性价比再香,也不能丢了安全和合规的底线。咱们消费者买东西图便宜,但更怕的是「便宜没好货」出安全问题。曾经靠低价圈粉的品牌,要是把安全当儿戏,早晚要被市场抛弃。
最后也提醒一下大家,家里还有罗马仕充电宝的,赶紧查查是不是召回型号(2024年6月到2024年7月产的PAC20-272等三款),有问题抓紧申请退款,希望罗马仕能真的整改,把后续的售后回收问题好好处理妥当。
你们用过罗马仕吗?评论区聊聊你的看法~
热门专题
热门推荐
钉钉文档官网 在探讨企业级协同办公解决方案时,钉钉文档无疑是备受瞩目的核心工具之一。作为阿里巴巴钉钉官方推出的旗舰级应用套件,它深度融合了在线文档编辑、智能表格、思维导图等多种高效创作工具。其核心优势在于与钉钉平台生态的无缝衔接,能够直接同步企业内部组织架构与通讯录,实现团队成员间的即时协作与信息流
在数字化转型浪潮中,高效、易用的数据分析工具已成为企业提升决策效率的关键。商汤科技推出的“办公小浣熊”智能助手,正是基于自研大语言模型打造的一款创新产品,旨在彻底降低数据分析的技术门槛。用户无需掌握编程知识或复杂操作,即可通过自然对话完成从数据查询、处理到可视化洞察的全流程,让数据价值触手可及。 办
在人工智能技术快速发展的今天,MiniMax作为一家专注于全栈自研的AI公司,正以其独特的技术路径和前瞻性的布局,在业界脱颖而出。公司致力于构建覆盖文本、图像、语音和视频的新一代多模态智能模型矩阵,这不仅体现了对核心底层技术自主权的深度掌控,也展现了对未来人机交互与内容生成形态的前瞻思考。 那么,M
ApolloCreditFund(ACRED)作为连接传统信贷与DeFi的桥梁,其价格受市场情绪、协议基本面及宏观环境影响。其价值逻辑根植于现实世界资产(RWA)的收益捕获与链上流动性释放。短期价格波动难以预测,但长期发展取决于信贷资产质量、协议安全性和市场采用度。投资者需关注其底层资产表现、代币经济模型及整个RWA赛道的发展趋势。
在数字化转型浪潮中,一套能够深度适配业务、彰显品牌特色的智能客服系统,已成为企业提升服务效率与用户体验的关键工具。然而,市场上许多解决方案往往模式固化,难以满足个性化需求。如何让AI客服不仅具备基础的自动化应答能力,更能承载独特的品牌文化与服务哲学?其核心在于系统是否支持深度的自定义与持续的AI训练





