AMD突破DDR5技术瓶颈:频率提升至12.8Gbps,性能翻倍
9月23日最新消息,自DDR5内存进入个人电脑和服务器市场已近五年,虽然其速率较前代DDR4有显著提升,但在人工智能时代仍然面临巨大带宽挑战。针对这一需求,AMD近期公布了一项目突破性的DDR5技术方案,有望将内存速度提升至惊人的12.8Gbps。
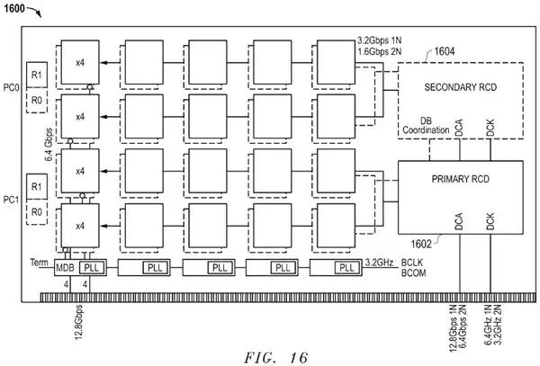
根据AMD最新提交的专利文件显示,这项被称为高带宽双列直插式内存模块(HB-DIMM)的创新架构,通过伪通道技术和智能化信号处理器的应用,实现了前所未有的内存性能突破。
免费影视、动漫、音乐、游戏、小说资源长期稳定更新! 👉 点此立即查看 👈
每个HB-DIMM模块都集成了多个连接至数据缓冲器的存储芯片,借助独创的运行机制,这些芯片能以双倍速率工作,从而将现有DDR5标准6.4Gbps的速度直接翻倍至12.8Gbps。
值得注意的是,目前DDR5内存超频的极限速度就在13Gbps左右,与这项新技术十分接近。

这项技术最大的优势在于完全保持原有DDR5底层架构不变,通过扩展技术来提升性能,这意味着现有硬件平台无需大规模升级就能兼容支持,具有极佳的实用性。
在AI运算和图形处理领域,对内存带宽的需求与日俱增,虽然HBM存储器性能出色但成本过高难以普及。而这项DDR5加速技术的出现,为解决这一难题提供了可行的解决方案。
需要说明的是,专利获批并不代表技术即将上市。要实现商业化仍需内存芯片厂商的技术配合,因此具体商用时间表目前尚未明朗。

相关攻略
4月3日消息,NBD物流清单泄露信息显示,Intel即将推出的Nova Lake-AX处理器并非此前预期的BGA封装,而是出现在了一个LGA 4326平台上,插槽尺寸达37 5×56 5mm,几乎是
4月2日消息,Intel公司日前宣布溢价30亿美元,以142亿美元的价格从Apollo公司手中收购了双方在爱尔兰合作的Fab 34芯片工厂的股权,至此该公司重新成为Intel 100%控制的企业。很
4月6日消息,诞生37年的Intel486处理器,即将彻底告别现代Linux系统。据科技媒体Phoronix报道,Linux内核开发者已启动对486处理器支持的移除工作,相关补丁确认将合入Linux
4月4日消息,在多个国产CPU路线中,龙芯中科已经走向了完全自主指令集和架构的路线,公司明确表示不再依赖任何国外技术授权。当前的龙芯已经发展到了龙芯6000系列,其中龙芯3A B桌面版有4-8核的,
4月6日消息,最近中东地区的战乱局势开始对全球造成影响,主要是能源方面的,但半导体行业也会深受其害,这跟一个重要材料氦气有关。半导体工艺极为复杂,需要用到多种特种气体,氦气就是其中用量较大也很重要的
热门专题
热门推荐
4月3日消息,今日,OPPO官微宣布,OPPO Find X9s Pro将首发新一代1nit明眸护眼屏,宣称全场景都护眼。据悉,这块屏幕来自新一代天马天工屏,搭载全新U9 Pro发光基材,从材料、器
Word行距异常增大可按五步解决:一、重置段前段后间距为0并设单倍行距;二、改用固定值行距(如小四号设18磅);三、清除样式继承并修复Normal模板;四、禁用自动格式更正干扰项;
汽车4月3日消息,4月3日,“年轻人第一台GT”比亚迪2026款海豹06GT新车交付仪式在深圳举行,作为海洋网又一搭载第二代刀片电池和最新闪充技术的重磅车型,上市售价12 89万元-16 99万元,
汽车4月3日消息,广汽埃安宣布将于 4 月 16 日举办品牌焕新发布会,埃安 N60 汽车将同步开启预售。目前新车已开启盲订,支付 99 元定金可享价值 5088 元礼遇。该车由曾任职于宝马等品牌的
4月5日消息,一起教育科技(NASDAQ: YQ)日前发布截至2025年12月31日的财报。财报显示,一起教育科技2025年营收为1 06亿(约1520万美元),较上年同期的1 89亿元下降44%。





