倒计时 60 天,微软 Win11 23H2 家庭 / 专业版 11 月结束服务支持
9 月 13 日消息,科技媒体 bleepingcomputer 昨日(9 月 12 日)发布博文,报道称微软已提醒用户,Windows 11 23H2 家庭版和专业版将于 11 月结束支持,届时将不再提供安全与预览更新。
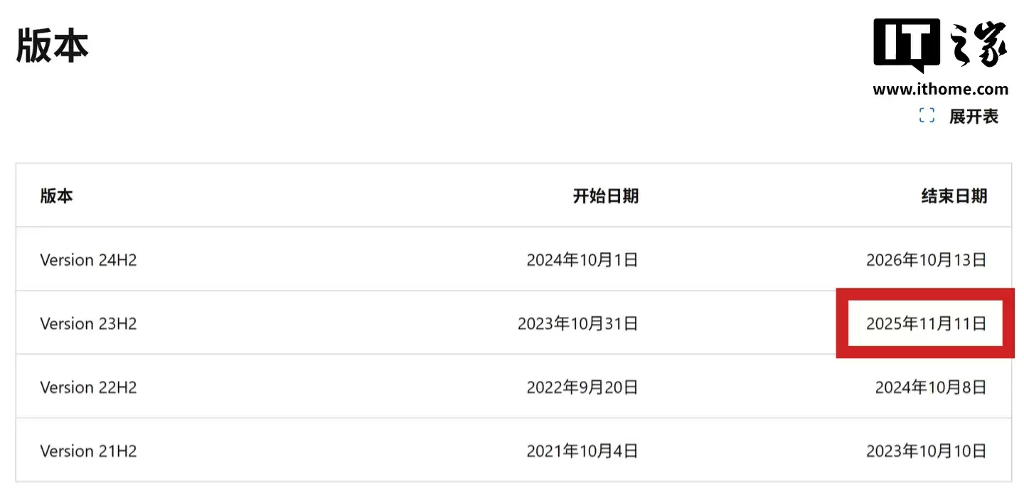
微软今日提醒用户,运行 Windows 11 23H2 家庭版和专业版的设备将在 2025 年 11 月 11 日结束服务支持。届时,11 月的安全更新将是最后一次推送,之后将不再提供任何月度安全补丁或预览更新。

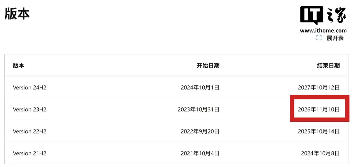
相比之下,企业版与教育版将获得额外一年的主流支持,直至 2026 年 11 月 10 日。

微软建议 23H2 用户尽快升级至最新的 Windows 11 24H2(2024 年更新版),该版本于 2024 年 10 月面向符合条件的 Windows 11 22H2/23H2 设备全面开放。不过,升级前需注意,部分设备因驱动或软件不兼容而被实施“升级保护阻止”。
援引博文介绍,当前存在的阻止条件包括搭载不兼容的 Intel Smart Sound Technology(SST)音频驱动、SenseShield 代码混淆驱动、部分壁纸定制软件、集成摄像头以及 Dirac 音效增强软件的设备。这些设备若直接升级,可能出现蓝屏死机或功能异常,因此微软会延迟其更新推送,待解决兼容性问题后再推送。
此外,微软在 2025 年 7 月已提醒,Windows 11 22H2 的最后支持版本将于 2025 年 10 月 14 日结束服务。用户可通过 Windows 生命周期常见问题页面或生命周期策略搜索工具,查询不同版本的终止支持时间,以及即将退役的产品清单,以便及时升级或更换系统。
相关攻略
在Windows11中启用硬件级安全隔离功能时,若开关为灰色,问题可能源于CPU不支持虚拟化扩展、固件未开启相关功能或系统未识别安全组件。可通过任务管理器查看虚拟化状态,使用系统信息工具验证VBS与安全启动,或通过PowerShell命令检测HVCI就绪性。还需核对CPU型号是否在微软官方兼容列表内,或使用CoreIsolationChecker工具进行自动
Windows11默认隐藏任务栏窗口标题,可通过多种方法恢复显示。系统设置中“从不合并”选项可让每个窗口独立显示文字。修改注册表TaskbarMn值为0并重启资源管理器亦可强制生效。第三方工具StartAllBack提供更灵活的标题显示开关。还可通过注册表启用经典UI模式并调整图标对齐方式,以优化标题显示效果。
你是否感觉自己的Windows 11电脑在游戏时性能不够强劲,而在日常办公时又不够节能?这很可能是因为系统未能根据使用场景自动调整电源策略。虽然Windows 11没有名为“智能电源分配”的直接开关,但其内置的多种技术组合,完全可以实现性能方案的自动切换。以下五种方法,你可以根据自身技术偏好和需求进
Windows11内置屏幕取色器可通过截图工具栏或快捷键Win+Shift+C快速启用。该工具支持实时显示HEX、RGB、HSL等多种色值格式,并一键复制到剪贴板。用户还可配合Ctrl+±缩放界面以提升取色精度,方便设计师高效获取颜色代码。
Windows 11锁屏界面的“Windows聚焦”功能停止更新,反复显示同一张旧壁纸或变为纯色背景,确实影响使用体验。这一问题通常由服务异常、缓存故障、组件注册错误或系统策略限制等多种因素共同导致。不必担心,以下提供一套逻辑清晰的排查与修复方案,您可以按顺序尝试,绝大多数情况下都能让锁屏壁纸恢复自
热门专题
热门推荐
在追求极致效率的现代软件开发中,一款名为Cursor的AI代码编辑器正引领着开发范式的变革。它被定义为“面向未来的IDE”,其核心理念清晰而有力:将人工智能深度无缝地集成到编码工作流的每一个步骤,为开发者创造一种前所未有的“AI结对编程”体验。 Cursor sh应用场景 那么,这款AI驱动的编辑器
在众多AI图像生成工具中,WHEE凭借其精准的产品定位与持续的功能迭代,正成为越来越多设计师和内容创作者的首选工具。它专注于打造高品质的AI视觉素材生成器,核心使命就是帮助用户快速、高效地获得可直接使用的优质图片素材。 那么,这款AI绘图工具究竟有哪些核心优势?下面我们从其关键特性与功能设计进行深入
在AI绘画工具不断涌现的当下,一款名为NightCafe Creator的应用以其全面的AI艺术生成能力脱颖而出。它不仅是一个简单的图片处理工具,更是一个融合了多种前沿人工智能技术的创意平台,帮助用户轻松实现从构思到成品的艺术创作。 NightCafe Creator是什么? NightCafe C
近期加密货币市场受到宏观经济不确定性及流动性紧缩影响,比特币(BTC)、以太坊(ETH)以及多种山寨币出现明显下行走势,市场情绪趋于谨慎。 比特币近期走势分析 比特币的价格近期表现如何?简单来说,它跌破了几个市场公认的关键支撑位,而且伴随交易量的放大。这种放量下跌的信号,往往意味着多空分歧加剧。无论
蔡司宣布将于6月2日发布一款新镜头,并称其为镜头技术的重大突破,标志着全新纪元的开启。官方仅公布了产品剪影,但措辞暗示其可能带来根本性的技术升级,例如全新光学结构、先进镀膜或对焦系统改进。具体细节需待发布日揭晓。





