索尼PS开发套件专利曝光:PCIe扩展卡让服务器变身游戏开发机
8 月 20 日消息,外媒 Tech4Gamers 昨天曝光了一项索尼的全新专利,其形态类似传统的 PCIe 扩展卡,可让 PC 工作站 / 服务器“摇身一变”成为 PlayStation 开发机。
免费影视、动漫、音乐、游戏、小说资源长期稳定更新! 👉 点此立即查看 👈

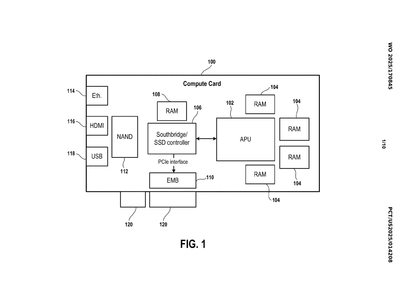
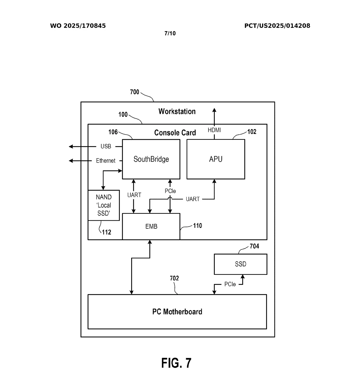
据介绍,这项专利的核心思路是将开发平台转变为可直接插入的 PCIe 扩展卡,告别笨重且稀缺的传统开发机。板卡上含有与常规 PlayStation 游戏机几乎相同的硬件。
同时板卡中还配有一种名为“端点管理桥(Endpoint Management Bridge)”的特殊芯片,可用于协调宿主 PC / 服务器与扩展卡之间的通信。

专利还展望了这张板卡的应用范围,整理后如下:
可用于构建远程开发机服务器,让全球开发者通过网络访问
可直接插在普通 PC 上,让常规 PC 成为开发机,直接用于主机游戏开发
索尼还在专利描述文件中表示,主机的独占性让开发游戏变得比较复杂,现有的专用开发机也不便适配云端环境,因此他们提出用这种 PCIe 扩展卡替代传统的开发机。
相关攻略
编舞师起诉索尼,指控《死侍与金刚狼》擅自使用其《Bye Bye Bye》舞蹈 最近音乐和影视版权领域又起波澜。根据Billboard的报道,超级男孩(*NSYNC)的编舞师达林·亨森已经将索尼告上法庭,核心诉求是指控索尼在未经许可的情况下,授权了《死侍与金刚狼》新电影以及热门游戏《堡垒之夜》使用他创
未来战备:索尼下一代游戏主机与掌机路线图全面解析 尽管全球芯片与内存供应链面临持续挑战,但行业对下一代游戏主机发布的时间窗口已基本达成共识:预计将在2027年底至2028年间正式亮相。随着这一关键节点日益临近,关于索尼新一代硬件的规划与布局也愈发明朗。近期多方信息显示,索尼已悄然启动面向开发者的过渡
索尼Xperia 1 VIII渲染图曝光:方形相机模组设计,近年外观最大变革 进入2024年第二季度,智能手机市场便传来新消息。近日,索尼下一代旗舰机型Xperia 1 VIII的高清外观渲染图在社交平台曝光,迅速引发广泛关注。此次新机最大的亮点在于其后置相机模组采用了全新的方形设计,内部整合三摄系
近日,曾推出《死亡回归》(Returnal)的芬兰知名开发商Housemarque正式公布了其下一款动作游戏《Saros》的最新信息。游戏已确认将登陆PlayStation 5平台,但PC版本是否推出目前尚未明确。 在接受媒体采访时,《Saros》导演Gregory Louden的表态相当耐人寻味:
索尼真彩RGB电视惊艳亮相AWE:重新定义家庭影院的画质新标准 每年三月,全球科技爱好者都将目光聚焦于上海。2026年中国家电及消费电子博览会(AWE)盛大开幕,而索尼在本届展会上带来的画质革新,毫无悬念地成为了全场瞩目的焦点与核心亮点。 索尼此次参展策略独具匠心,采用了创新的“双馆联动”模式。主展
热门专题
最新APP
热门推荐
苹果折叠屏手机 iPhone Fold 最新渲染图曝光:摄像头凸起优化,设计更显精致 有关苹果公司首款折叠屏 iPhone 的传闻持续受到关注。4月5日,知名爆料者 Majin Bu 在社交平台X上再度分享了一组据称是 iPhone Fold 的高清渲染图,从多角度揭示了这款备受期待设备可能的外观设
通用性首选:官府无垢队阵容深度解析 在当前版本中,若要挑选一套兼具强度与广泛适用性的阵容,以官府流派【长孙无垢】为核心的搭配方案无疑是热门之选。这套经典组合通常由长孙无垢(官府)、李一桐、李善德、李光弼,以及关羽或平安组成。其核心战斗逻辑清晰且高效:一方面,依靠长孙无垢与李光弼的技能联动,通过对目标
洛克王国全精灵隐藏进化条件完整攻略大全 在《洛克王国》丰富多彩的冒险世界中,除了常规的等级进化,众多精灵还埋藏着独特的“隐藏进化”路径。这些特殊的进化条件,往往是解锁精灵终极形态、完成图鉴收集的关键所在。与普通进化方式不同,隐藏进化需要触发特定的环境、时间、道具或任务条件,充满了探索与解密的乐趣。你
燕云十六声石震关卡怎么过?高效通关技巧与实战攻略详解 掌握核心机制:石震关卡难点全解析 石震关卡的核心挑战在于敌人配置:不仅数量密集,且拥有高额血量和攻击力。这些敌人并非随机分布,而是依据特定区域、巡逻路线及攻击逻辑进行部署。提前掌握不同敌人的攻击前摇、技能范围与仇恨机制,是制定有效战术的前提,真正
英雄联盟手游安妮符文终极指南:爆发流核心配置与实战策略 在英雄联盟手游的对局中,黑暗之女安妮以其强大的瞬间爆发与控制能力,始终是中单位置的热门选择。虽然操作看似简单易懂,但想要真正掌握这位火焰法师的精髓,打出毁天灭地的效果,一套科学高效的符文搭配是不可或缺的基石。正确的符文选择,能让她从温顺的火苗化





