Switch 2新专利曝光:钓鱼配件实现真实一摇一拉操作体验
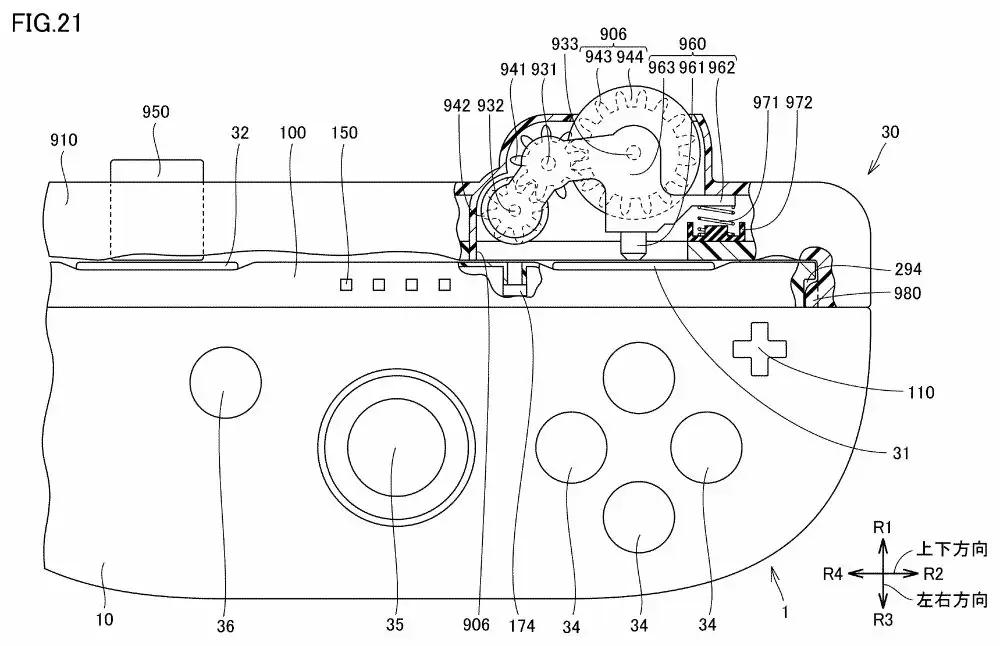
8 月 9 日消息,科技媒体 Engadget 今天(8 月 9 日)发布博文,报道称任天堂获批一项新的专利,探索为未来 Switch 游戏掌机添加 Playdate 风格的手摇曲柄(Hand Crank)配件。
免费影视、动漫、音乐、游戏、小说资源长期稳定更新! 👉 点此立即查看 👈



根据专利描述,该配件无需额外电源或复杂结构,类似腕带安装方式,通过磁吸方式连接至 Joy-Con 手柄侧边。这一配件能追踪用户的旋转操作,将物理转动转化为游戏输入信号,为玩家提供更直观的操控体验。
该曲柄的核心技术依赖于 Joy-Con 2 手柄内置的鼠标传感器,在用户转动手柄上的曲柄后,传感器可精确捕捉其旋转速度与方向,控制游戏角色或机制。虽然专利未明确指出具体应用场景,但分析认为,钓鱼小游戏是最直接的适配对象。
另一项相关专利则展示了一种可点击的滚轮装置,外形类似打火机,同样可吸附于 Joy-Con 2,该配件在滑动使用时可增强鼠标控制的摩擦感,甚至模拟阻力反馈,提升操作沉浸感。附上相关图片如下:



热门专题
热门推荐
速览攻略:世界圣羽翼王核心打法与全面解析 本攻略将为你完整呈现《洛克王国》世界圣羽翼王的通关秘籍,深度剖析两种高效实战打法:追求极致速度的“燃薪虫四回合速通”与稳定输出的“酷拉无限连击流”。文章将进一步解析这位翼系精灵王的技能机制、属性克制关系及其在PVE与PVP中的实战定位,帮助你彻底掌握应对其隐
速览:工程系统核心机制解析 在《异种航员2》中,工程系统是整个抵抗力量赖以运转的“战略后勤中枢”。无论是研发新武器、生产重型装甲还是制造先进飞行器,所有实体装备的产出都依赖于此。简言之,该系统的核心运作围绕着两大关键:工程师人力的高效配置与全球稀缺资源的精细化调度。工程师的数量直接决定了每个项目的建
核心速览 在《洛克王国世界》中,治愈兔是一位兼具功能性任务角色与实战辅助能力的精灵。它的价值不仅在剧情推进中体现,更在于对战里出色的治疗与防护表现。本文将为你全面解析治愈兔的精准获取位置、种族属性特点以及实战技能搭配,助你顺利捕捉并最大化其在队伍中的作用。所有关键信息将通过清晰的图文内容详细展示,确
速览 在《红色沙漠》中,挑战传说之狼这一强大的任务BOSS,需要玩家进行充分的准备并遵循完整的任务流程。整个过程环环相扣,你必须首先参与塞莱斯特家族的势力任务,通过完成任务将家族声望提升至指定等级,才能解锁【传说之狼】的专属讨伐任务,最终直面这个传说中的强大生物。 红色沙漠传说之狼怎么打 归根结底,
【宝可梦Pokopia】舒适度全解析:快速提升环境等级的核心秘诀 你是否正在探索《宝可梦Pokopia》世界,并希望有效提升宝可梦栖息地的舒适度?舒适度不仅是衡量宝可梦快乐程度的晴雨表,更是解锁游戏核心内容、加速发展的关键驱动指标。本攻略将系统性地为你揭示提升舒适度的核心途径,涵盖从装饰栖息地、建造





