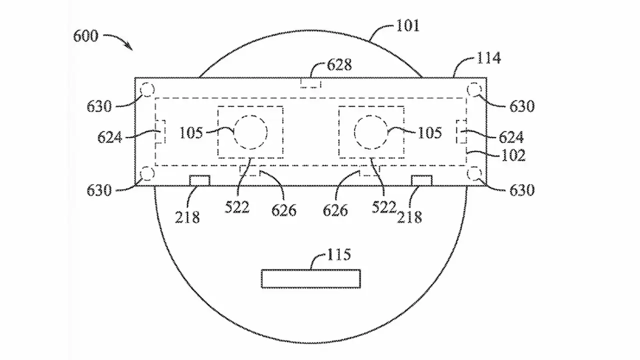
苹果Vision Pro头显新专利:唇语识别实现无声输入
8 月 8 日,科技媒体 AppleInsider 最新报道显示,苹果公司近日获得一项新专利,预示着未来 Vision Pro 头显或将加入唇语识别功能。**用户只需做出唇部动作,无需发出声音,头显便能通过捕捉唇形变化来接收指令。**

根据报道内容,这项专利名为“带有语音输入结构的电子设备”,苹果旨在为佩戴者创造在无法使用语音的场景下,通过读取唇语实现指令输入的可能性。专利文件进一步指出,在需要保持安静、注重隐私或不便发声的环境中,语音输入方式存在一定局限性。

专利说明中还列举了多种传感器组合方案,包括用于捕捉嘴部动作的视觉传感器、检测面部振动或形变的感应器、基于眼球注视选择输入内容的内置摄像头,以及识别确认手势输入的外置摄像头。
热门专题
热门推荐
潮汐守望者梅丽珊卓的出装策略,核心在于极致放大她的爆发伤害与控制能力,同时构建必要的生存保障。以下这套经过版本与实战验证的装备组合,将帮助她主宰峡谷战场,成为团队不可或缺的法术核心。 核心装备 卢登的回声通常是无可争议的首件神话装备。它提供的法术强度与技能急速完美优化了梅丽珊卓的技能循环,而其被动“
4月29日,阶跃星辰正式发布新一代图像编辑生成模型Step Image Edit 2。这款AI图像模型主打“小身材、大能力、快响应”,参数量仅3 5B,却在轻量级图像编辑评测基准KRIS-Bench中斩获综合排名第一。它全面支持文生图、中英文渲染、局部编辑、视觉推理、主体一致性及风格迁移等多种AI图
2026年的AI圈,时钟仿佛被拨快了。技术迭代的浪潮一波未平,一波又起。 尤其是进入四月以来,整个行业像是踩下了油门。Meta携Muse Spark高调回归,ChatGPT Images 2 0的生成效果在社交媒体上持续刷屏,而GPT-5 5的发布,再次将技术天花板向上推升了一个量级。视线转回国内,
从DeepMind到阿里、腾讯,各路顶尖玩家正涌入“世界模型”这个新战场。但大家争夺的,远不止是算力与资源,更核心的较量在于:究竟什么样的架构,才能真正构建起对物理世界的理解? 过去一年半,世界模型已然成为AI领域竞争最密集的焦点。参与者名单几乎涵盖了所有前沿方向:全球科技巨头、视频生成公司、机器人
柴犬币自低点反弹约30%,正尝试复苏。当前面临0 0000076美元附近的200日移动均线关键阻力,若能突破可能上涨约21%,但该位置存在解套抛压。价格需放量突破0 0000064美元以确认短期上涨趋势,下一目标0 0000072美元,下方关键支撑位于0 000006美元附近。





